TOP
|
特許
|
意匠
|
商標
特許ウォッチ
Twitter
他の特許を見る
10個以上の画像は省略されています。
公開番号
2025169018
公報種別
公開特許公報(A)
公開日
2025-11-12
出願番号
2024073966
出願日
2024-04-30
発明の名称
繰出容器
出願人
株式会社吉野工業所
代理人
個人
主分類
B65D
83/00 20060101AFI20251105BHJP(運搬;包装;貯蔵;薄板状または線条材料の取扱い)
要約
【課題】繰出容器における回転可能且つ抜け出し不能に係合する係合凸部と係合突起に関し、従来よりも外れ難くなる技術を提案する。
【解決手段】繰出容器1Aは、繰出対象物50を収容可能な中皿2と、本体3と、前側筒状壁5a、スリット5c、係合爪5dとを有するスリーブ5と、後側筒状壁3aに対して前側筒状壁5a相対的に回転させると中皿2を後側筒状壁3aに対して進退移動させる繰出機構と、筒状をなしていて前側筒状壁5aを内側に挿入するケース6とを備え、係合爪5dは、後方に向けて径方向外側に広がるように延在する弾性片5eと、弾性片5eの内周面から内側に向けて突出する係合凸部5fとを備え、ケース6に前側筒状壁5aを挿入すると弾性片5eがケース6に接触して径方向内側に向けて弾性変形し、係合突起3dに対して係合凸部5fが回転可能且つ抜け出し不能に係合する。
【選択図】図1
特許請求の範囲
【請求項1】
繰出対象物を収容可能な中皿と、
前記中皿を取り囲む後側筒状壁と、前記後側筒状壁の外周面に設けられた係合突起とを有する本体と、
前記後側筒状壁に対して中心軸線を中心に相対的に回転可能な前側筒状壁と、前記前側筒状壁を切り欠く複数のスリットと、隣り合う前記スリットの間に位置する係合爪とを有するスリーブと、
前記後側筒状壁に対して前記前側筒状壁を相対的に回転させると前記中皿を前記後側筒状壁に対して進退移動させる繰出機構と、
筒状をなしていて前記前側筒状壁が内側に挿入されるケースと、を備える繰出容器であって、
前記係合爪は、後方に向けて径方向外側に広がるように延在する弾性片と、前記弾性片の内周面から内側に向けて突出する係合凸部とを備え、前記ケースに前記前側筒状壁を挿入すると前記弾性片が前記ケースに接触して径方向内側に向けて弾性変形し、前記係合突起に対して前記係合凸部が回転可能且つ抜け出し不能に係合する繰出容器。
続きを表示(約 600 文字)
【請求項2】
繰出対象物を収容可能な中皿と、
前記中皿を取り囲む後側筒状壁と、前記後側筒状壁の外周面に設けられた係合突起とを有する本体と、
前記後側筒状壁に対して中心軸線を中心に相対的に回転可能な前側筒状壁と、前記前側筒状壁を切り欠く複数のスリットと、隣り合う前記スリットの間に位置する係合爪とを有するスリーブと、
前記後側筒状壁に対して前記前側筒状壁を相対的に回転させると前記中皿を前記後側筒状壁に対して進退移動させる繰出機構と、
筒状をなしていて前記前側筒状壁が内側に挿入されるケースと、を備える繰出容器であって、
前記係合爪は、後方に向けて延在する弾性片と、前記弾性片の内周面から内側に向けて突出する係合凸部と、前記弾性片の外周面から外側に向けて突出する外側凸部とを備え、前記ケースに前記前側筒状壁を挿入すると前記外側凸部が前記ケースに接触して前記弾性片を径方向内側に向けて弾性変形させ、前記係合突起に対して前記係合凸部が回転可能且つ抜け出し不能に係合する繰出容器。
【請求項3】
前記繰出機構は、前記中皿から径方向外側に向けて突出するガイド突起と、前記本体に設けられ前記ガイド突起が内側に挿入される螺旋溝と、前記螺旋溝に挿入された前記ガイド突起が挿入される前記スリットを含んで構成されている、請求項1又は2に記載の繰出容器。
発明の詳細な説明
【技術分野】
【0001】
本発明は、収容した内容器等の繰出対象物を繰り出すことができる繰出容器に関する。
続きを表示(約 2,400 文字)
【背景技術】
【0002】
例えばポンプ式吐出容器やエアゾール容器等の内容器を繰出対象物として収容し、使用時においては一方の筒状体を他方の筒状体に対して相対的に回転させて繰出対象物を繰り出すことができる繰出容器が既知である(例えば特許文献1参照)。
【0003】
特許文献1に示された繰出容器(特許文献1では外容器)は、2個の筒状体(外筒20、螺旋案内筒21)を備えていて、一方の筒状体(外筒20)の外周面に設けた係合突起(係止凹条26)に他方の筒状体(螺旋案内筒21)の内周面に設けた係合凸部(係止凸部27)が係合することにより、一方の筒状体に対して他方の筒状体は、回転可能且つ抜け出し不能に保持されている。
【先行技術文献】
【特許文献】
【0004】
特開2016-159939号公報
【発明の概要】
【発明が解決しようとする課題】
【0005】
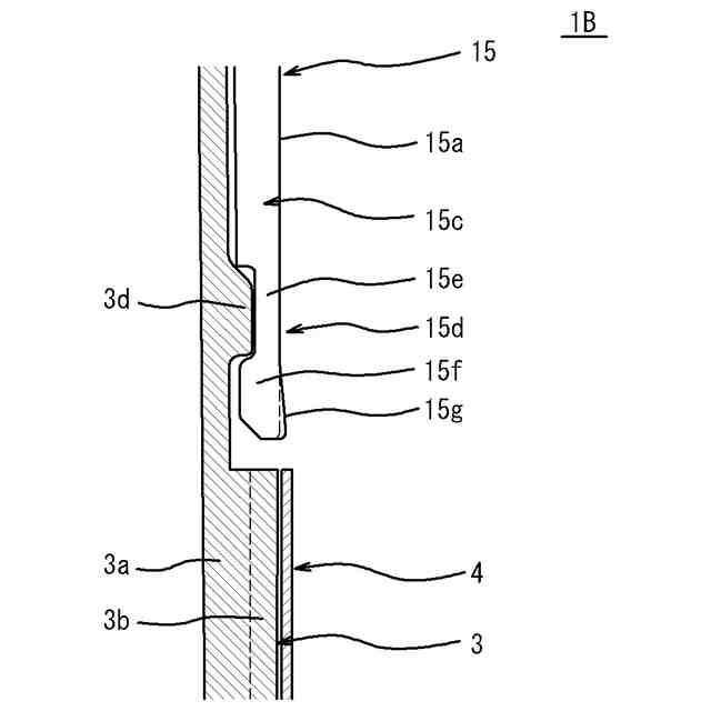
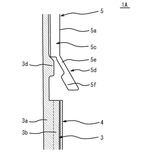
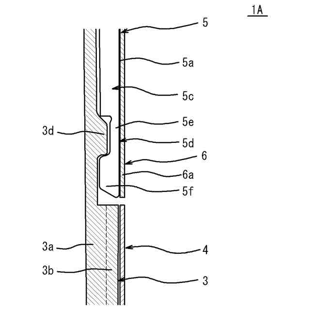
ところでこの種の繰出容器は、一般に合成樹脂により形成されていて、各部材は通常、金型によって成型して形作られる。このような金型を用いる場合、他方の筒状体に設けた係合凸部は金型に対してアンダーカットになるため、離型性の制約を受けて係合凸部の突出量を大きくすることは困難である。従って、係合凸部が係合突起に係合するときのかかり代を大きくすることは難しい。このため、他方の筒状体を比較的強い力で引っ張ると、係合凸部と係合突起との係合が外れてしまい、一方の筒状体から他方の筒状体が外れてしまうことが懸念される。
【0006】
このような点に鑑み、本発明は、繰出容器における回転可能且つ抜け出し不能に係合する係合凸部と係合突起に関し、従来よりも外れ難くなる技術を提案することを目的とする。
【課題を解決するための手段】
【0007】
本発明の繰出容器の一つは、繰出対象物を収容可能な中皿と、前記中皿を取り囲む後側筒状壁と、前記後側筒状壁の外周面に設けられた係合突起とを有する本体と、前記後側筒状壁に対して中心軸線を中心に相対的に回転可能な前側筒状壁と、前記前側筒状壁を切り欠く複数のスリットと、隣り合う前記スリットの間に位置する係合爪とを有するスリーブと、前記後側筒状壁に対して前記前側筒状壁を相対的に回転させると前記中皿を前記後側筒状壁に対して進退移動させる繰出機構と、筒状をなしていて前記前側筒状壁が内側に挿入されるケースと、を備え、前記係合爪は、後方に向けて径方向外側に広がるように延在する弾性片と、前記弾性片の内周面から内側に向けて突出する係合凸部とを備え、前記ケースに前記前側筒状壁を挿入すると前記弾性片が前記ケースに接触して径方向内側に向けて弾性変形し、前記係合突起に対して前記係合凸部が回転可能且つ抜け出し不能に係合する。
【発明の効果】
【0008】
本発明の繰出容器の一つによれば、ケースの内側に前側筒状壁を挿入した状態において弾性片の径方向外側にはケースが位置しているため、弾性片の径方向外側への広がりが抑えられて係合突起に係合した係合凸部が外れ難くなる。また係合凸部が内面に設けられる弾性片は、径方向外側に広がるように延在しているため、金型で係合凸部を形成する際は離型性の制約を受け難くなる。これにより、係合凸部における弾性片からの突出量を確保することができるため、係合突起に対して係合凸部を、十分なかかり代でもって係合させることができる。
【図面の簡単な説明】
【0009】
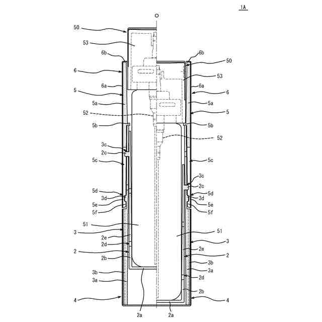
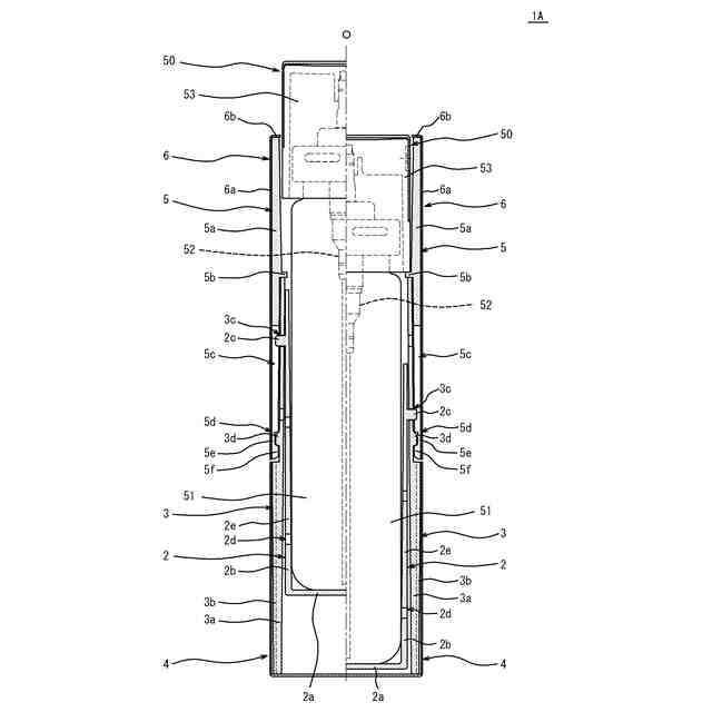
本発明に係る繰出容器の第一実施形態を示した側面視での断面図であって、中心軸線に対して右側は中皿が後退した状態(下降した状態)を示し、左側は中皿が前進した状態(上昇した状態)を示す。
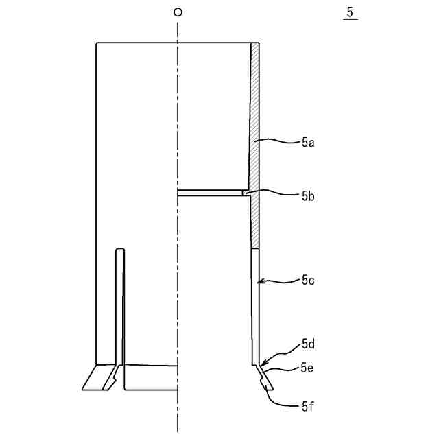
図1に示したスリーブの平面図である。
図1に示したスリーブの側面視での半断面図である。
図1に示した係合突起と係合凸部に関し、前側筒状壁をケースの内側に挿入する前の状態を示した部分拡大断面図である。
図1に示した係合突起と係合凸部に関し、前側筒状壁をケースの内側に挿入した後の状態を示した部分拡大断面図である。
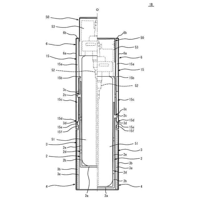
本発明に係る繰出容器の第二実施形態を示した側面視での断面図であって、中心軸線に対して右側は中皿が後退した状態(下降した状態)を示し、左側は中皿が前進した状態(上昇した状態)を示す。
図4に示したスリーブの側面視での半断面図である。
図4に示したスリーブの底面図である。
図4に示した係合突起と係合凸部に関し、前側筒状壁をケースの内側に挿入する前の状態を示した部分拡大断面図である。
図4に示した係合突起と係合凸部に関し、前側筒状壁をケースの内側に挿入した後の状態を示した部分拡大断面図である。
【発明を実施するための形態】
【0010】
以下、図面を参照しながら本発明に係る繰出容器の一実施形態について説明する。以下の説明において上下方向とは、図示した中心軸線O(後述する前側筒状壁5aの中心軸線)に沿う向きであって、本体3が位置する側が「下」であり、スリーブ5が位置する側が「上」である。なお本明細書等では、後述する内容器50が上方へ移動する動きを前進、内容器50が下方へ移動する動きを後退として説明することがある。このため本明細書等では、上述した上下方向のことを前後方向と称することがある。また径方向とは、中心軸線Oに対して垂直な面内で中心軸線Oと直交する方向であり、周方向とは、この面内で中心軸線Oを中心として周回する方向である。なお、本明細書等においては便宜上、図面に示した向きで説明しているが、本発明に係る繰出容器を使用する際の向きを限定するものではない。
(【0011】以降は省略されています)
この特許をJ-PlatPat(特許庁公式サイト)で参照する
関連特許
株式会社吉野工業所
蓋体
1か月前
株式会社吉野工業所
吐出器
25日前
株式会社吉野工業所
吐出器
2か月前
株式会社吉野工業所
吐出器
1か月前
株式会社吉野工業所
塗布容器
1か月前
株式会社吉野工業所
吐出容器
1か月前
株式会社吉野工業所
二重容器
1か月前
株式会社吉野工業所
歯ブラシ
1か月前
株式会社吉野工業所
塗布容器
1か月前
株式会社吉野工業所
塗布容器
1か月前
株式会社吉野工業所
繰出容器
25日前
株式会社吉野工業所
吐出容器
25日前
株式会社吉野工業所
吐出容器
25日前
株式会社吉野工業所
化粧用容器
2か月前
株式会社吉野工業所
ノズル部材
25日前
株式会社吉野工業所
吐出ポンプ
1か月前
株式会社吉野工業所
ねじキャップ
25日前
株式会社吉野工業所
計量注出容器
1か月前
株式会社吉野工業所
スパウト容器
1か月前
株式会社吉野工業所
計量注出容器
1か月前
株式会社吉野工業所
計量注出容器
25日前
株式会社吉野工業所
スポイト容器
1か月前
株式会社吉野工業所
スポイト容器
1か月前
株式会社吉野工業所
吐出キャップ
26日前
株式会社吉野工業所
削り出し容器
1か月前
株式会社吉野工業所
パウダー容器
25日前
株式会社吉野工業所
フォーマポンプ
1か月前
株式会社吉野工業所
ポンプ式吐出器
1か月前
株式会社吉野工業所
把手付きボトル
25日前
株式会社吉野工業所
把手付きボトル
1か月前
株式会社吉野工業所
ポンプ式吐出器
1か月前
株式会社吉野工業所
ポンプ式吐出器
1か月前
株式会社吉野工業所
合成樹脂製容器
25日前
株式会社吉野工業所
合成樹脂製壜体
1か月前
株式会社吉野工業所
ポンプ式吐出器
1か月前
株式会社吉野工業所
ブラシ型塗布具
25日前
続きを見る
他の特許を見る