TOP
|
特許
|
意匠
|
商標
特許ウォッチ
Twitter
他の特許を見る
公開番号
2025168617
公報種別
公開特許公報(A)
公開日
2025-11-11
出願番号
2024073289
出願日
2024-04-29
発明の名称
吐出キャップ
出願人
株式会社吉野工業所
代理人
個人
主分類
B65D
47/06 20060101AFI20251104BHJP(運搬;包装;貯蔵;薄板状または線条材料の取扱い)
要約
【課題】外部の被吐出面にかけた状態で所定の吐出パターンが保持される吐出キャップを提供する。
【解決手段】容器体100の口頸部104の上側に配置された頂壁10に吐出部14を形成したキャップ本体4と、前記頂壁10の上側に、前記吐出部14を囲むように配備された、吐出物Tの輪郭を規制するための造形用包囲壁16とを具備している。この造形用包囲壁16は、前記吐出部14より高く起立されており、その造形用包囲壁16の先端側に、前記容器体100の倒立状態で外部の被吐出面Sに当接可能な当接端部21を有する。その倒立状態で前記吐出物Tが前記造形用包囲壁16の内面である案内面部22に案内され、当該造形用包囲壁16の内部領域Iの形状に従って充満されるように構成している。前記造形用包囲壁16の周方向の適所を切り欠いて、視認用切欠き部24を形成する。
【選択図】図1
特許請求の範囲
【請求項1】
容器体(100)の口頸部(104)に装着され、この装着状態で前記口頸部(104)の上側に配置された頂壁(10)に吐出部(14)を形成したキャップ本体(4)と、
前記頂壁(10)の上側に、前記吐出部(14)を囲むように配備された、吐出物(T)の輪郭を規制するための造形用包囲壁(16)と、を具備しており、
この造形用包囲壁(16)は、前記吐出部(14)より高く起立されており、その造形用包囲壁(16)の先端側に、前記容器体(100)の倒立状態で外部の被吐出面(S)に当接可能な当接端部(21)を有しており、その倒立状態で前記吐出物(T)が前記造形用包囲壁(16)の内面である案内面部(22)に案内され、当該造形用包囲壁(16)の内部領域(I)の形状に従って充満されるように構成しており、
前記造形用包囲壁(16)の周方向の適所を切り欠いて、前記内部領域(I)への前記吐出物(T)の充満状況を外部から視認するための視認用切欠き部(24)を形成した吐出キャップ。
続きを表示(約 540 文字)
【請求項2】
前記視認用切欠き部(24)として、縦長で相互に同幅の複数の視認用溝(24)を周方向に離間させて前記造形用包囲壁(16)に形成することにより、この造形用包囲壁(16)を複数の部分壁部(18)に分割させたことを特徴とする、請求項1に記載の吐出キャップ。
【請求項3】
前記造形用包囲壁(16)は、上方から見て、前記吐出部(14)に近い複数の近位部位(P)と前記吐出部(14)から遠い複数の遠位部位(D)とが交互に配備されるように形成しており、
これら遠位部位(D)に前記視認用切欠き部(24)が配置されていることを特徴とする、請求項1又は請求項2に記載の吐出キャップ。
【請求項4】
前記案内面部(22)は、上方から見て、前記近位部位(P)から前記遠位部位(D)へ滑らかに連続することを特徴とする、請求項3に記載の吐出キャップ。
【請求項5】
前記吐出部(14)は、前記頂壁(10)から起立する吐出筒に形成されており、
前記吐出部(14)と前記造形用包囲壁(16)とを連結する複数の連結壁部(26)が、前記頂壁(10)に連設されて径方向に形成されていることを特徴とする、請求項3に記載の吐出キャップ。
発明の詳細な説明
【技術分野】
【0001】
本発明は、吐出キャップ、特に粘性内容物(例えば調味料などのペースト状物)を吐出するための吐出キャップに関する。
続きを表示(約 1,900 文字)
【背景技術】
【0002】
容器体の口頸部に外嵌するキャップの頂壁に、特定の吐出パターンを有する形状(3本の直線が中心で交差する形)の吐出口を開口させ、この吐出口から圧出するムース状の粘性物を付属品であるスパチュラで掬い取るように設けたものが知られている(特許文献1)。
【先行技術文献】
【特許文献】
【0003】
特開2018-140823
【発明の概要】
【発明が解決しようとする課題】
【0004】
特許文献1では、特定形状の吐出パターンの吐出口から盛り上がる吐出物をスパチュラで掬い取って対象物にかけるため、この作業の間にその形が崩れてしまう。近年では、内容物をフライパン等の調理器具に入れた後にも、吐出口から吐出された内容物(以下「吐出物」という。)の吐出パターンを維持させることで装飾効果を高めたいという要望がある。
また、装飾効果を保持しつつ吐出量を一定量にしたいという要望もある。
【0005】
本発明の第1の目的は、外部の被吐出面にかけた状態で所定の吐出パターンが保持される吐出キャップを提供することであり、第2の目的は、被吐出面に一定量の吐出物が装飾効果を保持しつつ吐出されることが可能とすることである。
【課題を解決するための手段】
【0006】
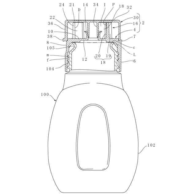
第1の手段は、容器体100の口頸部104に装着され、この装着状態で前記口頸部104の上側に配置された頂壁10に吐出部14を形成したキャップ本体4と、
前記頂壁10の上側に、前記吐出部14を囲むように配備された、吐出物Tの輪郭を規制するための造形用包囲壁16と、を具備しており、
この造形用包囲壁16は、前記吐出部14より高く起立されており、その造形用包囲壁16の先端側に、前記容器体100の倒立状態で外部の被吐出面Sに当接可能な当接端部21を有しており、その倒立状態で前記吐出物Tが前記造形用包囲壁16の内面である案内面部22に案内され、当該造形用包囲壁16の内部領域Iの形状に従って充満されるように構成しており、
前記造形用包囲壁16の周方向の適所を切り欠いて、前記内部領域Iへの前記吐出物Tの充満状況を外部から視認するための視認用切欠き部24を形成した。
【0007】
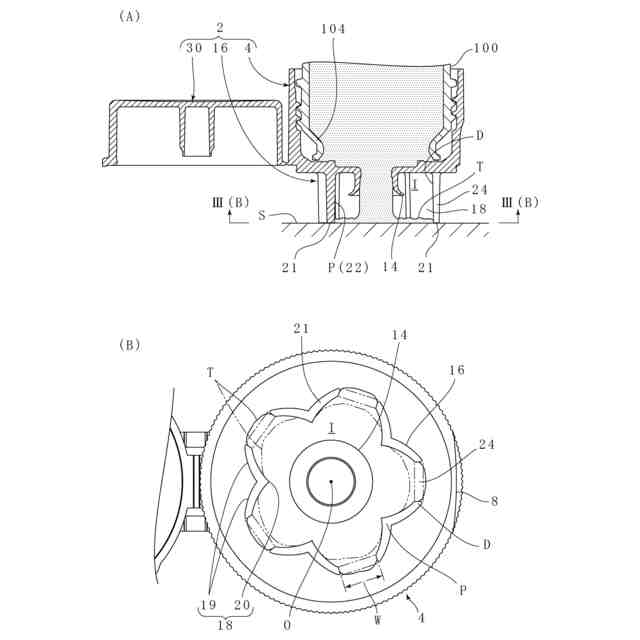
本手段では、図1に示すキャップ本体4の頂壁10の上側に吐出部14を囲む造形用包囲壁16を配備する。この造形用包囲壁16は、図3(A)に示す容器体100の倒立状態で外部の被吐出面Sに当接する。
この構造では、吐出操作の際に、図3(B)に想像線及び実線で示す如く、吐出物Tが造形用包囲壁16の内面である案内面部22に案内され、造形用包囲壁16の内部領域Iの形状に従って充満される。故に所望の吐出パターンが得られる。
また本手段では、造形用包囲壁16の周方向の適所を切り欠いて、内部領域Iへの吐出物Tの充満状況を外部から視認するための視認用切欠き部24を形成した。
この構造によれば、この視認用切欠き部24からの吐出物の食み出しの有無を確認することで、内部領域Iにおける吐出物の充満状況を視認でき、食み出し状態が出現した時点で吐出作業を停止することで、定量吐出機能を担保することができる。
【0008】
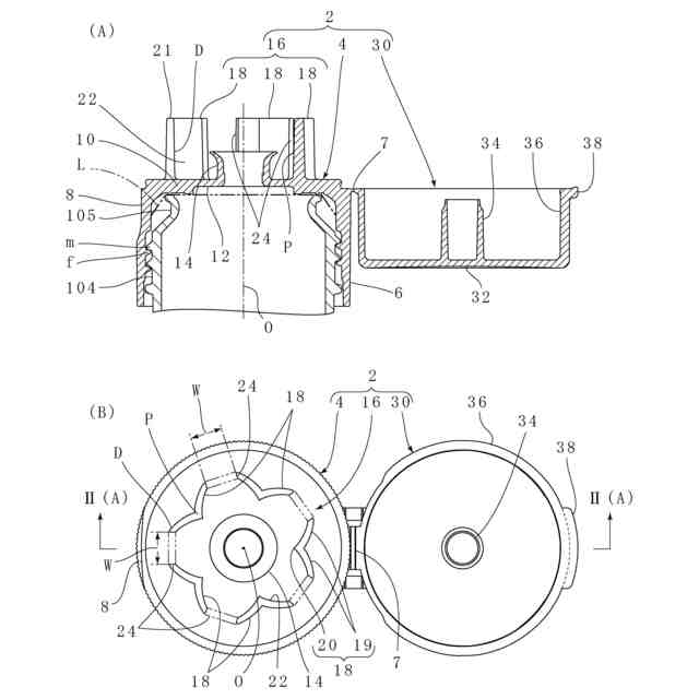
第2の手段は、第1の手段を有し、かつ前記視認用切欠き部24として、縦長で相互に同幅の複数の視認用溝24を周方向に離間させて前記造形用包囲壁16に形成することにより、この造形用包囲壁16を複数の部分壁部18に分割させた。
【0009】
本手段では、視認用切欠き部24として、図2(A)及び図2(B)に示す如く、縦長で相互に同幅の複数の視認用溝24を周方向に離間させて、造形用包囲壁16に形成した。
この構造によれば、視認用溝が一本のみである構造のようにこの視認用溝が利用者の正面に位置するように位置合わせをする手間が低減され、様々な方向から定量吐出作業を行うことができるので、使い勝手がよい。
【0010】
第3の手段は、第1の手段又は第2の手段を有し、かつ前記造形用包囲壁16は、上方から見て、前記吐出部14に近い複数の近位部位Pと前記吐出部14から遠い複数の遠位部位Dとが交互に配備されるように形成しており、
これら遠位部位Dに前記視認用切欠き部24が配置されている。
(【0011】以降は省略されています)
この特許をJ-PlatPat(特許庁公式サイト)で参照する
関連特許
株式会社吉野工業所
蓋体
1か月前
株式会社吉野工業所
吐出器
25日前
株式会社吉野工業所
吐出器
1か月前
株式会社吉野工業所
塗布容器
1か月前
株式会社吉野工業所
二重容器
1か月前
株式会社吉野工業所
吐出容器
25日前
株式会社吉野工業所
吐出容器
25日前
株式会社吉野工業所
吐出容器
1か月前
株式会社吉野工業所
繰出容器
25日前
株式会社吉野工業所
塗布容器
1か月前
株式会社吉野工業所
塗布容器
1か月前
株式会社吉野工業所
歯ブラシ
1か月前
株式会社吉野工業所
ノズル部材
25日前
株式会社吉野工業所
吐出ポンプ
1か月前
株式会社吉野工業所
化粧用容器
2か月前
株式会社吉野工業所
スパウト容器
1か月前
株式会社吉野工業所
スポイト容器
1か月前
株式会社吉野工業所
計量注出容器
1か月前
株式会社吉野工業所
スポイト容器
1か月前
株式会社吉野工業所
計量注出容器
1か月前
株式会社吉野工業所
吐出キャップ
26日前
株式会社吉野工業所
削り出し容器
1か月前
株式会社吉野工業所
パウダー容器
25日前
株式会社吉野工業所
ねじキャップ
25日前
株式会社吉野工業所
計量注出容器
25日前
株式会社吉野工業所
コンパクト容器
1か月前
株式会社吉野工業所
ポンプ式吐出器
1か月前
株式会社吉野工業所
合成樹脂製容器
25日前
株式会社吉野工業所
把手付きボトル
1か月前
株式会社吉野工業所
フォーマポンプ
1か月前
株式会社吉野工業所
ブラシ型塗布具
25日前
株式会社吉野工業所
把手付きボトル
25日前
株式会社吉野工業所
ポンプ式吐出器
1か月前
株式会社吉野工業所
合成樹脂製壜体
1か月前
株式会社吉野工業所
ポンプ式吐出器
1か月前
株式会社吉野工業所
ポンプ式吐出器
1か月前
続きを見る
他の特許を見る