TOP
|
特許
|
意匠
|
商標
特許ウォッチ
Twitter
他の特許を見る
公開番号
2025167474
公報種別
公開特許公報(A)
公開日
2025-11-07
出願番号
2024072111
出願日
2024-04-26
発明の名称
携帯補助具を備えた容器
出願人
株式会社吉野工業所
代理人
弁理士法人銀座マロニエ特許事務所
主分類
B65D
25/22 20060101AFI20251030BHJP(運搬;包装;貯蔵;薄板状または線条材料の取扱い)
要約
【課題】内容物が収容された容器を、簡単かつ安定して洋服等のポケットやかばん等に装着して携帯することのできる携帯補助具を備えた容器を提供すること。
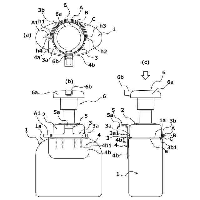
【解決手段】容器本体1と、容器本体1の口頚部に装着されるキャップ2と、容器本体1の外表面との相互間で取付け対象物を挟み込んで容器本体1を携帯可能に保持する携帯補助具3とを備え、携帯補助具3は、キャップ2の前面部の少なくとも下部域を取り囲む携帯補助具本体3aと、携帯補助具本体3aの両端に一体的につながり、3つ折り以上に折り畳んだ状態でキャップ2の後面部の少なくとも下部域を取り囲む連係バンド3bと、携帯補助具本体3aにつながり、容器本体1の外表面との相互間で取付け対象物を挟み込むグリップ4と、を有することを特徴とする。
【選択図】図1
特許請求の範囲
【請求項1】
内容物を収容する容器本体と、該容器本体の口頚部に着脱自在に装着され、該容器本体を密封保持するキャップと、該キャップの外側に設けられ、前記容器本体の外表面との相互間で取付け対象物を挟み込んで該容器本体を携帯可能に保持する携帯補助具と、を備え、
前記携帯補助具は、前記キャップの前面部の少なくとも下部域を取り囲むとともに、該キャップの下端と前記容器本体の肩部との間に形成された隙間に係止片を差し入れて係止される携帯補助具本体と、
該携帯補助具本体の両端にそれぞれヒンジを介して一体的につながり、3つ折り以上に折り畳んだ状態で前記キャップの後面部の少なくとも下部域を取り囲むとともに、前記キャップの下端と前記容器本体の肩部との間に形成された隙間に係止爪を差し入れて係止される連係バンドと、
前記携帯補助具本体につながり、前記容器本体の外表面との相互間で取付け対象物を挟み込むグリップと、を有することを特徴とする携帯補助具を備えた容器。
続きを表示(約 570 文字)
【請求項2】
前記連係バンドは、ヒンジを介してつなぎ合わさる3つの湾曲帯状片を、該ヒンジを起点に内側から外側に向けて順次ジグザグ状に折り畳むことにより3つ折り状態に保持されるものであることを特徴とする請求項1に記載した携帯補助具を備えた容器。
【請求項3】
前記連係バンドの湾曲帯状片のうち、3つ折り状態に保持された状態で外側に位置する湾曲帯状片は、3つ折り状態を解除して該連係バンドを展開する指掛け片を有し、中間に位置する湾曲帯状片は、内側に位置する湾曲帯状片の外表面に形成された凹部または凸部に着脱自在に嵌合して3つ折り状態を維持する凸部または凹部を有し、内側に位置する湾曲帯状片は、3つ折り状態で前記キャップの下端と前記容器本体の肩部との間に形成された隙間に嵌り込む係止爪を有することを特徴とする請求項2に記載した携帯補助具を備えた容器。
【請求項4】
前記補助具本体は、該補助具本体の上部で、前記キャップの外周壁に沿って立ち上がり、上端部が外方に向けて湾曲した指掛けフックを有することを特徴とする請求項1~3のいずれか1項に記載した携帯補助具を備えた容器。
【請求項5】
前記指掛けフックの上端部は、上下において貫通する貫通開口を有する請求項4に記載した携帯補助具を備えた容器。
発明の詳細な説明
【技術分野】
【0001】
本発明は、洋服のポケットやかばん等に装着するための携帯補助具を備えた容器に関する。
続きを表示(約 1,500 文字)
【背景技術】
【0002】
例えば、特許文献1に示すように、洋服のポケットやかばん等に掛け止めることのできるクリップを備えた携帯用容器が知られている。このような携帯用容器によれば、ポケットやかばんの中から見つけやすく、また転倒等することがないため携帯中に誤操作されることがなく、安心して利用することができる。
【先行技術文献】
【特許文献】
【0003】
特開2011-125773号公報
【発明の概要】
【発明が解決しようとする課題】
【0004】
近年、コロナ禍の影響等により、看護師や介護士等が消毒液を持ち歩く機会が多くなり、また使用される消毒液の量も増えている。そのため、容量の大きな容器であってもポケットやかばん等に入れて安定して携帯することのできる容器の開発が求められていた。
【0005】
そこで、本発明は、内容物が収容された容器を、簡単かつ安定して洋服等のポケットやかばん等に装着して携帯することのできる携帯補助具を備えた容器を提供することを目的とする。
【課題を解決するための手段】
【0006】
本発明の携帯補助具を備えた容器は、内容物を収容する容器本体と、該容器本体の口頚部に着脱自在に装着され、該容器本体を密封保持するキャップと、該キャップの外側に設けられ、前記容器本体の外表面との相互間で取付け対象物を挟み込んで該容器本体を携帯可能に保持する携帯補助具と、を備え、
前記携帯補助具は、前記キャップの前面部の少なくとも下部域を取り囲むとともに、該キャップの下端と前記容器本体の肩部との間に形成された隙間に係止片を差し入れて係止される携帯補助具本体と、
該携帯補助具本体の両端にそれぞれヒンジを介して一体的につながり、3つ折り以上に折り畳んだ状態で前記キャップの後面部の少なくとも下部域を取り囲むとともに、前記キャップの下端と前記容器本体の肩部との間に形成された隙間に係止爪を差し入れて係止される連係バンドと、
前記携帯補助具本体につながり、前記容器本体の外表面との相互間で取付け対象物を挟み込むグリップと、を有することを特徴とする。
【0007】
なお、本発明の携帯補助具を備えた容器において、前記連係バンドは、ヒンジを介してつなぎ合わさる3つの湾曲帯状片を、該ヒンジを起点に内側から外側に向けて順次ジグザグ状に折り畳むことにより3つ折り状態に保持されるものであることが好ましい。
【0008】
また、本発明の携帯補助具を備えた容器において、前記連係バンドの湾曲帯状片のうち、3つ折り状態に保持された状態で外側に位置する湾曲帯状片は、3つ折り状態を解除して該連係バンドを展開する指掛け片を有し、中間に位置する湾曲帯状片は、内側に位置する湾曲帯状片の外表面に形成された凹部または凸部に着脱自在に嵌合して3つ折り状態を維持する凸部または凹部を有し、内側に位置する湾曲片は、3つ折り状態で前記キャップの下端と前記容器本体の肩部との間に形成された隙間に嵌り込む係止爪を有することが好ましい。
【0009】
また、本発明の携帯補助具を備えた容器において、前記補助具本体は、該補助具本体の上部で、前記キャップの外周壁に沿って立ち上がり、上端部が外方に向けて湾曲した指掛けフックを有することが好ましい。
【0010】
また、本発明の携帯補助具を備えた容器において、前記指掛けフックの上端部は、上下において貫通する貫通開口を有することが好ましい。
【発明の効果】
(【0011】以降は省略されています)
この特許をJ-PlatPat(特許庁公式サイト)で参照する
関連特許
個人
束ね具
27日前
個人
収容箱
4か月前
個人
コンベア
6か月前
個人
段ボール箱
8か月前
個人
段ボール箱
8か月前
個人
容器
10か月前
個人
ゴミ収集器
8か月前
個人
バンド
3か月前
個人
土嚢運搬器具
9か月前
個人
角筒状構造体
6か月前
個人
宅配システム
8か月前
個人
楽ちんハンド
6か月前
個人
テープ引出機
27日前
個人
包装容器
2か月前
個人
お薬の締結装置
7か月前
個人
閉塞装置
11か月前
個人
コード類収納具
9か月前
個人
棒状体収容容器
1か月前
個人
廃棄物収容容器
4か月前
個人
積み重ね用補助具
4か月前
株式会社和気
包装用箱
1か月前
個人
蓋閉止構造
5か月前
個人
蓋閉止構造
5か月前
個人
ゴミ処理機
10か月前
株式会社コロナ
梱包材
6か月前
個人
貯蔵サイロ
8か月前
株式会社和気
包装用箱
10か月前
個人
把手付米袋
6か月前
株式会社バンダイ
物品
2か月前
株式会社ナベル
検査装置
1か月前
個人
袋入り即席麺
8か月前
三甲株式会社
蓋体
9か月前
三甲株式会社
容器
3か月前
個人
介護用コップ
3か月前
個人
包装箱
11か月前
個人
コード折り畳み器具
5か月前
続きを見る
他の特許を見る