TOP
|
特許
|
意匠
|
商標
特許ウォッチ
Twitter
他の特許を見る
公開番号
2025167637
公報種別
公開特許公報(A)
公開日
2025-11-07
出願番号
2024072462
出願日
2024-04-26
発明の名称
吐出器
出願人
株式会社吉野工業所
代理人
個人
,
個人
,
個人
,
個人
主分類
B05B
11/10 20230101AFI20251030BHJP(霧化または噴霧一般;液体または他の流動性材料の表面への適用一般)
要約
【課題】周囲への飛散を抑制した状態で内容物を吐出すること。
【解決手段】収容室11を内部に有するタンク部10と、収容室内を加圧及び減圧させる操作部材12と、ノズル口13を有するノズル筒部14と、収容室内が減圧されたときに開弁する吸込弁16と、収容室内が加圧されたときに開弁する吐出弁17とを備え、ノズル筒部の内部には、収容室内からノズル口に向かう内容物が衝突する隔壁190と、隔壁よりもノズル口側に配置され、隔壁に衝突した後の内容物をノズル口に案内する案内リブ200とが設けられ、隔壁は、少なくともノズル軸O2を挟んで向かい合うように一対設けられた主隔壁191を有し、案内リブは、ノズル筒部に沿って連続して延びるように形成され、且つノズル軸に沿う方向から見たときに一対の主隔壁の間に配置されている吐出器1を提供する。
【選択図】図1
特許請求の範囲
【請求項1】
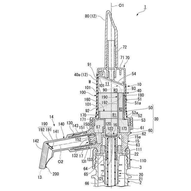
内容物が収容される容器本体の口部の上方に配置され、内容物を一時的に収容する収容室を内部に有する有頂筒状のタンク部と、
前記収容室内を加圧及び減圧させる操作部材と、
内容物を吐出するノズル口を有し、前記タンク部の側方に向けて突出すると共に前記収容室内に連通するノズル筒部と、
前記収容室の内圧の変化に応じて、前記容器本体内と前記収容室内との連通及び遮断を切り換えると共に、前記収容室内が減圧されたときに開弁する吸込弁と、
前記ノズル筒部内に設けられ、前記収容室の内圧の変化に応じて前記収容室内と前記ノズル口との連通及び遮断を切り換えると共に、前記収容室内が加圧されたときに開弁する吐出弁と、を備え、
前記ノズル筒部の内部には、
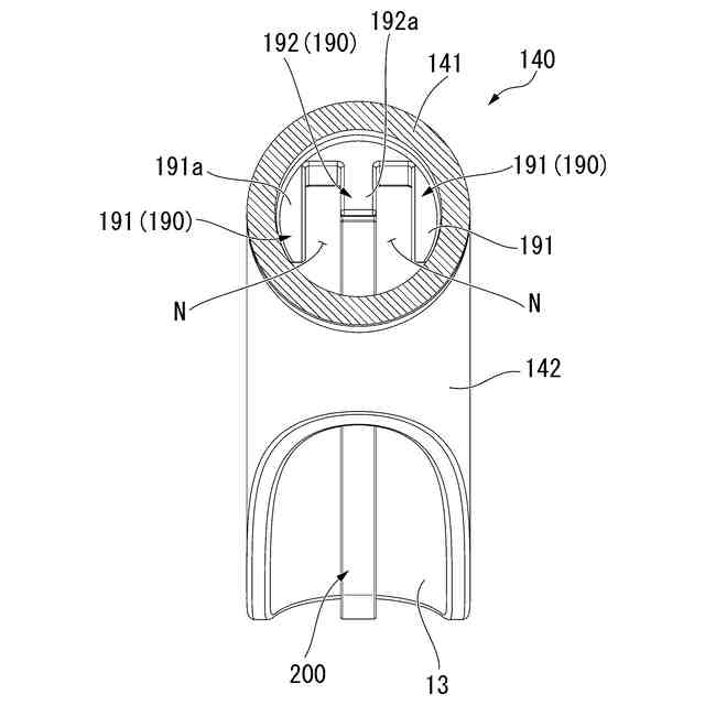
前記ノズル筒部内の流路面積を狭めるように形成され、前記収容室内から前記ノズル口に向かう内容物が衝突する隔壁と、
前記隔壁よりも前記ノズル口側に配置され、前記隔壁に衝突した後の内容物を前記ノズル口に案内する案内リブと、が設けられ、
前記隔壁は、前記ノズル筒部の内面から突出するように形成されると共に、少なくともノズル軸を挟んで向かい合うように一対設けられた主隔壁を有し、
前記案内リブは、前記ノズル筒部の内面から突出すると共に、前記ノズル筒部に沿って連続して延びるように形成され、且つ前記ノズル軸に沿う方向から見たときに一対の前記主隔壁の間に配置されていることを特徴とする吐出器。
続きを表示(約 550 文字)
【請求項2】
請求項1に記載の吐出器において、
前記隔壁は、前記ノズル筒部の内面から突出するように形成されると共に、一対の前記主隔壁の間に配置された副隔壁を有し、
前記案内リブは、前記副隔壁に一体に形成され、前記副隔壁から前記ノズル口に向かって連続して延びるように形成されている、吐出器。
【請求項3】
請求項1又は2に記載の吐出器において、
前記ノズル筒部は、
前記タンク部から前記タンク部の側方に向けて延びるように形成された第1ノズル筒と、
前記第1ノズル筒の先端部から下方に向けて延びると共に、前記ノズル口を先端部に有する第2ノズル筒と、を備え、
前記隔壁は、前記第1ノズル筒と前記第2ノズル筒との接続部分における内部に設けられ、
前記案内リブは、前記第2ノズル筒の内部に設けられている、吐出器。
【請求項4】
請求項1又は2に記載の吐出器において、
前記タンク部は、
弾性変形可能に形成された筒状の側壁部と、前記側壁部の上端開口を塞ぐ頂壁部と、を有するタンク部本体と、
前記側壁部を径方向の外側から囲むように前記側壁部に一体成形された弾性膜と、を備えている、吐出器。
発明の詳細な説明
【技術分野】
【0001】
本発明は、吐出器に関する。
続きを表示(約 2,000 文字)
【背景技術】
【0002】
従来、例えば下記特許文献1に示されるように、内容物が収容される容器本体の口部の上方に配設されたシリンダ部と、シリンダ部内に摺動可能に配設されたピストン部を操作するピストン操作部と、ピストン部の引き戻し操作に伴って開弁し、シリンダ部の液室に容器本体内から内容物を吸上げる吸込弁と、液室内に連通されたノズル筒部と、を備えた吐出器(定量吐出器)が知られている。
【0003】
ノズル筒部は、内容物を吐出する吐出口を有し、シリンダ部の側方に向けて突出するように形成されている。ノズル筒部の内側には、液室内から吐出口への内容物の流通を許容し、且つ吐出口から液室内への内容物の流通を規制する吐出弁が設けられている。吐出弁は、ピストン部の押込み動作(下方移動)に伴って開弁する逆止弁とされている。
【0004】
このように構成された吐出器によって内容物を吐出する場合には、ピストン操作部を押下げ操作することで、ピストン部をシリンダ部に対して下方移動させ、液室の内圧を上昇させる。これにより、吸込弁を閉弁させた状態で、吐出弁の弾性弁を弾性変形させて開弁させることができる。その結果、ピストン部の下方移動に伴って、液室内の内容物を、吐出口を通じて外部に吐出することが可能となる。
【先行技術文献】
【特許文献】
【0005】
特開2019-64688号公報
【発明の概要】
【発明が解決しようとする課題】
【0006】
しかしながら上記従来の吐出器において、内容物を吐出する際、液室内から押し出された内容物がノズル筒部内に勢い良く流れ込み易いので、内容物が乱流状態で勢い良く吐出口から吐出されてしまう。そのため、内容物が周囲に飛散し易く、改善の余地がある。
【0007】
本発明は、このような事情に鑑みてなされたものであって、その目的は、周囲への飛散を抑制した状態で内容物を吐出することができる吐出器を提供することである。
【課題を解決するための手段】
【0008】
(1)本発明に係る吐出器は、内容物が収容される容器本体の口部の上方に配置され、内容物を一時的に収容する収容室を内部に有する有頂筒状のタンク部と、前記収容室内を加圧及び減圧させる操作部材と、内容物を吐出するノズル口を有し、前記タンク部の側方に向けて突出すると共に前記収容室内に連通するノズル筒部と、前記収容室の内圧の変化に応じて、前記容器本体内と前記収容室内との連通及び遮断を切り換えると共に、前記収容室内が減圧されたときに開弁する吸込弁と、前記ノズル筒部内に設けられ、前記収容室の内圧の変化に応じて前記収容室内と前記ノズル口との連通及び遮断を切り換えると共に、前記収容室内が加圧されたときに開弁する吐出弁と、を備え、前記ノズル筒部の内部には、前記ノズル筒部内の流路面積を狭めるように形成され、前記収容室内から前記ノズル口に向かう内容物が衝突する隔壁と、前記隔壁よりも前記ノズル口側に配置され、前記隔壁に衝突した後の内容物を前記ノズル口に案内する案内リブと、が設けられ、前記隔壁は、前記ノズル筒部の内面から突出するように形成されると共に、少なくともノズル軸を挟んで向かい合うように一対設けられた主隔壁を有し、前記案内リブは、前記ノズル筒部の内面から突出すると共に、前記ノズル筒部に沿って連続して延びるように形成され、且つ前記ノズル軸に沿う方向から見たときに一対の前記主隔壁の間に配置されていることを特徴とする。
【0009】
本発明に係る吐出器によれば、操作部材の操作によってタンク部の収容室内を加圧することで、吸込弁を閉弁させた状態で、吐出弁を開弁させることができる。これにより、収容室内に一時的に収容している内容物を、ノズル筒部を通じてノズル口から外部に吐出することができる。そして内容物の吐出後、タンク部の収容室内が減圧されることで、吐出弁を閉弁させた状態で吸込弁を開弁させることができる。これにより、容器本体内の内容物を収容室内に流入させて、収容室内に一時的に貯留することができる。これにより、次回の吐出操作に備えることができる。
【0010】
特にノズル筒部の内部に隔壁及び案内リブが設けられているので、周囲への飛散を抑制した状態で内容物を吐出することができる。
具体的には、収容室内の加圧によって、収容室内からノズル筒部内に内容物を供給したときに、内容物がノズル口に達する前段階で、隔壁を構成する一対の主隔壁に内容物を衝突させることができる。これにより、圧力損失によって内容物の流速を低下させることができる。そのため、内容物の勢いを抑制した状態で、隔壁よりも下流側に位置するノズル口に向けて内容物を流すことができる。
(【0011】以降は省略されています)
この特許をJ-PlatPat(特許庁公式サイト)で参照する
関連特許
株式会社吉野工業所
蓋体
1か月前
株式会社吉野工業所
吐出器
1か月前
株式会社吉野工業所
吐出器
25日前
株式会社吉野工業所
吐出容器
25日前
株式会社吉野工業所
吐出容器
25日前
株式会社吉野工業所
繰出容器
25日前
株式会社吉野工業所
歯ブラシ
1か月前
株式会社吉野工業所
ノズル部材
25日前
株式会社吉野工業所
計量注出容器
1か月前
株式会社吉野工業所
吐出キャップ
26日前
株式会社吉野工業所
パウダー容器
25日前
株式会社吉野工業所
計量注出容器
1か月前
株式会社吉野工業所
計量注出容器
25日前
株式会社吉野工業所
ねじキャップ
25日前
株式会社吉野工業所
スパウト容器
1か月前
株式会社吉野工業所
スポイト容器
1か月前
株式会社吉野工業所
ブラシ型塗布具
25日前
株式会社吉野工業所
把手付きボトル
25日前
株式会社吉野工業所
合成樹脂製容器
25日前
株式会社吉野工業所
ポンプ式吐出器
1か月前
株式会社吉野工業所
フォーマポンプ
1か月前
株式会社吉野工業所
ねじキャップ容器
25日前
株式会社吉野工業所
ポンプ式泡吐出容器
25日前
株式会社吉野工業所
ポンプ携帯ホルダー
25日前
株式会社吉野工業所
トリガー式液体噴出器
25日前
株式会社吉野工業所
トリガー式液体噴出器
25日前
株式会社吉野工業所
携帯補助具を備えた容器
1か月前
株式会社吉野工業所
圧縮ばね部材及び吐出器
1か月前
株式会社吉野工業所
樹脂製品製造方法及び樹脂製品
25日前
株式会社吉野工業所
リフィル容器、および蓋付き容器
1か月前
ホーユー株式会社
エアゾール容器用吐出具
17日前
株式会社吉野工業所
容器、容器の製造方法、及び積層シートのオーバーラップ部の検出方法
25日前
個人
微細霧発生装置
1か月前
ベック株式会社
被膜形成方法
25日前
ベック株式会社
被膜形成方法
25日前
ベック株式会社
被膜形成方法
25日前
続きを見る
他の特許を見る