TOP
|
特許
|
意匠
|
商標
特許ウォッチ
Twitter
他の特許を見る
公開番号
2025168809
公報種別
公開特許公報(A)
公開日
2025-11-12
出願番号
2024073579
出願日
2024-04-30
発明の名称
把手付きボトル
出願人
株式会社吉野工業所
代理人
個人
,
個人
,
個人
,
個人
主分類
B65D
23/10 20060101AFI20251105BHJP(運搬;包装;貯蔵;薄板状または線条材料の取扱い)
要約
【課題】軽量化を図っても握りやすい把持部を有する把手付きボトルを得る。
【解決手段】上下方向に延びる中心軸線Oを有するボトル10の胴部14に把手11が取付けられ、把手は、胴部に固定された固定部31と、固定部から径方向のうちの後方に離れて設けられ、上下方向に延びる把持部32と、固定部および把持部それぞれの上端部同士を連結した上連結部33と、固定部および把持部それぞれの下端部同士を連結した下連結部34と、を備え、把持部は、表裏面が前後方向を向く板状に形成され、把持部は、上下方向に沿う縦断面視で前方に向けて突の曲線状を呈し、かつ上下方向に直交する横断面視で前方に向けて突の曲線状を呈するように湾曲している。
【選択図】図1
特許請求の範囲
【請求項1】
上下方向に延びる中心軸線を有するボトルの胴部に把手が取付けられ、
前記把手は、
前記胴部に固定された固定部と、
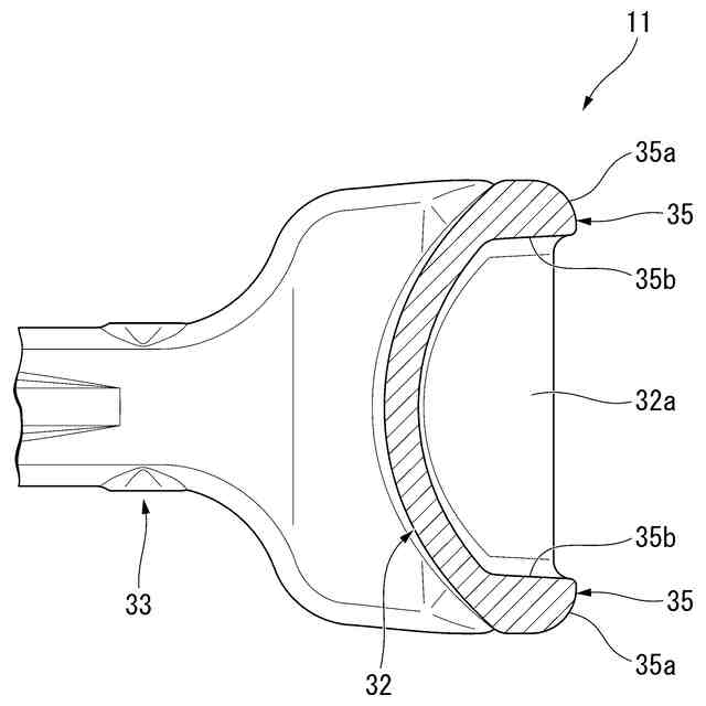
前記固定部から径方向のうちの後方に離れて設けられ、上下方向に延びる把持部と、
前記固定部および前記把持部それぞれの上端部同士を連結した上連結部と、
前記固定部および前記把持部それぞれの下端部同士を連結した下連結部と、を備え、
前記把持部は、表裏面が前後方向を向く板状に形成され、
前記把持部は、上下方向に沿う縦断面視で前方に向けて突の曲線状を呈し、かつ上下方向に直交する横断面視で前方に向けて突の曲線状を呈するように湾曲している、把手付きボトル。
続きを表示(約 260 文字)
【請求項2】
前記把持部における左右方向の両端部には、後方に向けて突出し、上下方向に延びるとともに、表裏面が左右方向を向く側板部が設けられ、
前記側板部において、左右方向の外側を向く外面のうちの少なくとも後部は、上下方向に直交する横断面視で左右方向の外側に向けて突の曲線状を呈する、請求項1に記載の把手付きボトル。
【請求項3】
前記把持部の左右方向の両端部における上下方向の両端部には、左右方向の内側に向けて窪むくびれ部が形成されている、請求項1または2に記載の把手付きボトル。
発明の詳細な説明
【技術分野】
【0001】
本発明は、把手付きボトルに関する。
続きを表示(約 1,400 文字)
【背景技術】
【0002】
従来から、上下方向に延びる中心軸線を有するボトルの胴部に把手が取付けられ、把手は、胴部に固定された固定部と、固定部から径方向のうちの後方に離れて設けられ、上下方向に延びる把持部と、固定部および把持部それぞれの上端部同士を連結した上連結部と、固定部および把持部それぞれの下端部同士を連結した下連結部と、を備えた、把手付きボトルが知られている。
【先行技術文献】
【特許文献】
【0003】
特開2023-079491号公報
【発明の概要】
【発明が解決しようとする課題】
【0004】
しかしながら、前記従来の把手付きボトルでは、例えば、把持部の幅を狭めたり、把持部の厚さを薄くしたりすることで、把手の軽量化を図ると、把持部を把持しにくくなるという問題があった。
【0005】
本発明は、軽量化を図っても握りやすい把持部を有する把手付きボトルを提供する。
【課題を解決するための手段】
【0006】
本発明の一態様に係る把手付きボトルは、上下方向に延びる中心軸線を有するボトルの胴部に把手が取付けられ、前記把手は、前記胴部に固定された固定部と、前記固定部から径方向のうちの後方に離れて設けられ、上下方向に延びる把持部と、前記固定部および前記把持部それぞれの上端部同士を連結した上連結部と、前記固定部および前記把持部それぞれの下端部同士を連結した下連結部と、を備え、前記把持部は、表裏面が前後方向を向く板状に形成され、前記把持部は、上下方向に沿う縦断面視で前方に向けて突の曲線状を呈し、かつ上下方向に直交する横断面視で前方に向けて突の曲線状を呈するように湾曲している。
【0007】
把持部が、上下方向に沿う縦断面視で前方に向けて突の曲線状を呈し、かつ上下方向に直交する横断面視で前方に向けて突の曲線状を呈するように湾曲しているので、把持部を握ったときに、把持部のうちの前方を向く前面に指を沿わせやすくなり、把持部を握りやすくすることができる。
把持部が、前述のように湾曲した板状に形成されていて、中実の棒状に形成されていないので、把手の軽量化を図ることができる。
【0008】
前記把持部における左右方向の両端部には、後方に向けて突出し、上下方向に延びるとともに、表裏面が左右方向を向く側板部が設けられ、前記側板部において、左右方向の外側を向く外面のうちの少なくとも後部は、上下方向に直交する横断面視で左右方向の外側に向けて突の曲線状を呈してもよい。
【0009】
把持部における左右方向の両端部に設けられた側板部において、左右方向の外側を向く外面のうちの少なくとも後部が、上下方向に直交する横断面視で左右方向の外側に向けて突の曲線状を呈するので、把持部において、握った指との接触面積を広く確保することができるとともに、把持部において、握った指に食い込む角部分を生じにくくすることが可能になり、把持部を握る指に痛みを感じさせにくくすることができる。
【0010】
前記把持部の左右方向の両端部における上下方向の両端部には、左右方向の内側に向けて窪むくびれ部が形成されてもよい。
(【0011】以降は省略されています)
この特許をJ-PlatPat(特許庁公式サイト)で参照する
関連特許
株式会社吉野工業所
蓋体
1か月前
株式会社吉野工業所
吐出器
1か月前
株式会社吉野工業所
吐出器
25日前
株式会社吉野工業所
歯ブラシ
1か月前
株式会社吉野工業所
吐出容器
25日前
株式会社吉野工業所
吐出容器
25日前
株式会社吉野工業所
繰出容器
25日前
株式会社吉野工業所
ノズル部材
25日前
株式会社吉野工業所
パウダー容器
25日前
株式会社吉野工業所
スポイト容器
1か月前
株式会社吉野工業所
計量注出容器
1か月前
株式会社吉野工業所
計量注出容器
25日前
株式会社吉野工業所
スパウト容器
1か月前
株式会社吉野工業所
ねじキャップ
25日前
株式会社吉野工業所
計量注出容器
1か月前
株式会社吉野工業所
吐出キャップ
26日前
株式会社吉野工業所
ポンプ式吐出器
1か月前
株式会社吉野工業所
フォーマポンプ
1か月前
株式会社吉野工業所
ポンプ式吐出器
1か月前
株式会社吉野工業所
合成樹脂製容器
25日前
株式会社吉野工業所
把手付きボトル
25日前
株式会社吉野工業所
ブラシ型塗布具
25日前
株式会社吉野工業所
ねじキャップ容器
25日前
株式会社吉野工業所
ポンプ式泡吐出容器
25日前
株式会社吉野工業所
ポンプ携帯ホルダー
25日前
株式会社吉野工業所
トリガー式液体噴出器
25日前
株式会社吉野工業所
トリガー式液体噴出器
25日前
株式会社吉野工業所
携帯補助具を備えた容器
1か月前
株式会社吉野工業所
圧縮ばね部材及び吐出器
1か月前
花王株式会社
吐出容器
1か月前
花王株式会社
吐出容器
1か月前
株式会社吉野工業所
樹脂製品製造方法及び樹脂製品
25日前
株式会社吉野工業所
リフィル容器、および蓋付き容器
1か月前
ホーユー株式会社
エアゾール容器用吐出具
17日前
株式会社吉野工業所
容器、容器の製造方法、及び積層シートのオーバーラップ部の検出方法
25日前
個人
束ね具
26日前
続きを見る
他の特許を見る