TOP
|
特許
|
意匠
|
商標
特許ウォッチ
Twitter
他の特許を見る
公開番号
2025151332
公報種別
公開特許公報(A)
公開日
2025-10-09
出願番号
2024052697
出願日
2024-03-28
発明の名称
把手付きボトル
出願人
株式会社吉野工業所
代理人
個人
,
個人
,
個人
,
個人
主分類
B65D
25/28 20060101AFI20251002BHJP(運搬;包装;貯蔵;薄板状または線条材料の取扱い)
要約
【課題】把手を持ち上げたときに、把手がボトルに対してぐらつくのを抑制することが可能で、かつボトルに破れを生じさせずに成形する。
【解決手段】上連結部および下連結部の各前端面は、左右方向の外側に向かうに従い段部を介して後方に向けて延び、上連結部の前端部、および固定部の上端部を含む部分における左右方向の両側面は、後方に向かうに従い段部を介して左右方向に互いに近付く左右方向の内側に向けて延び、下連結部の前端部、および固定部の下端部を含む部分における左右方向の両側面は、後方に向かうに従い段部を介して左右方向に互いに近付く左右方向の内側に向けて延び、第1爪部および第2爪部は上下方向の外側に向けて突の曲線状を呈し、第3爪部は左右方向の外側に向けて突の曲線状を呈し、第1爪部と第3爪部との接続部分は、斜め上方に向けて突の曲線状を呈し、第2爪部と第3爪部との接続部分は、斜め下方に向けて突の曲線状を呈する。
【選択図】図1
特許請求の範囲
【請求項1】
上下方向に延びる中心軸線を有するボトルの胴部に、径方向のうち、前方に向けて窪み後方に向けて開口した取付凹部が設けられ、
前記取付凹部に把手が取付けられ、
前記取付凹部の内面は、
下方を向く上面と、
上方を向く下面と、
後方を向き、かつ前記上面および前記下面それぞれの前端部同士を連結する底面と、
を備え、
前記把手は、
前記取付凹部の底面に固定された上下方向に延びる固定部と、
前記固定部の後方に設けられた上下方向に延びる把手部と、
前記固定部および前記把手部それぞれの上端部同士を連結した上連結部と、
前記固定部および前記把手部それぞれの下端部同士を連結した下連結部と、を備え、
前記上連結部および前記下連結部の各前端部は、前記固定部から前方に突出し、かつ前記取付凹部の内面を形成する壁部に埋め込まれ、
前記上連結部および前記下連結部の各前端部には、
上方に向けて突出し、かつ前記壁部に埋め込まれた第1爪部と、
下方に向けて突出し、かつ前記壁部に埋め込まれた第2爪部と、
上下方向から見て前後方向に直交する左右方向に突出し、かつ前記壁部に埋め込まれた第3爪部と、が備えられ、
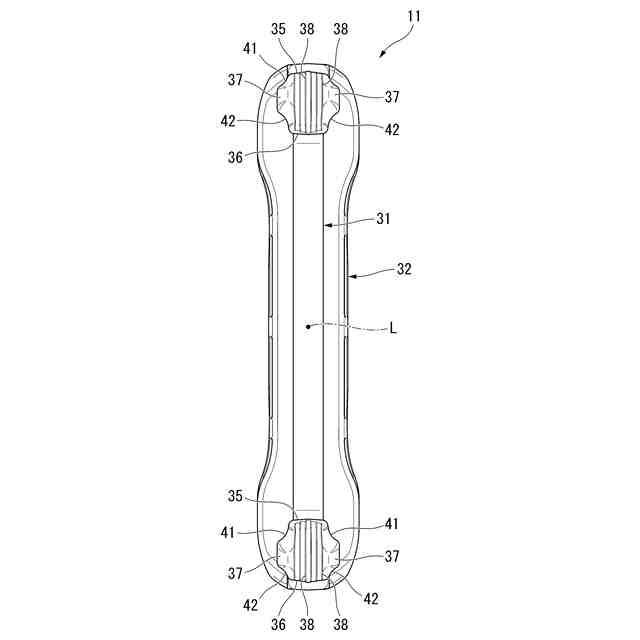
前記上連結部および前記下連結部の各前端面は、左右方向の中央部から左右方向に離れる外側に向かうに従い段部を介して後方に向けて延び、
前記上連結部の前端部、および前記固定部の上端部を含む部分における左右方向の両側面は、前記上連結部の前端面に直交し、かつ左右方向に沿う第1断面視で、後方に向かうに従い段部を介して左右方向に互いに近付く左右方向の内側に向けて延び、
前記下連結部の前端部、および前記固定部の下端部を含む部分における左右方向の両側面は、前記下連結部の前端面に直交し、かつ左右方向に沿う第2断面視で、後方に向かうに従い段部を介して左右方向に互いに近付く左右方向の内側に向けて延び、
前記第1爪部および前記第2爪部は、上下方向および前後方向に沿う断面視において上下方向の外側に向けて突の曲線状を呈し、
前記上連結部に形成された前記第3爪部は、前記第1断面視において左右方向の外側に向けて突の曲線状を呈し、
前記下連結部に形成された前記第3爪部は、前記第2断面視において左右方向の外側に向けて突の曲線状を呈し、
前記第1爪部と前記第3爪部との接続部分は、上下方向および左右方向に交差し、かつ前後方向に沿う断面視で斜め上方に向けて突の曲線状を呈し、
前記第2爪部と前記第3爪部との接続部分は、上下方向および左右方向に交差し、かつ前後方向に沿う断面視で斜め下方に向けて突の曲線状を呈する、把手付きボトル。
続きを表示(約 420 文字)
【請求項2】
上下方向および前後方向に沿う断面視において、前記第1爪部、および前記第2爪部の各前部の曲率半径は、前記第1爪部、および前記第2爪部の各後部の曲率半径より大きく、
前記第1断面視において、前記第3爪部の前部の曲率半径は、前記第3爪部の後部の曲率半径より大きく、
前記第2断面視において、前記第3爪部の前部の曲率半径は、前記第3爪部の後部の曲率半径より大きく、
上下方向および左右方向に交差し、かつ前後方向に沿う断面視において、前記第1爪部と前記第3爪部との接続部分の前部の曲率半径は、前記第1爪部と前記第3爪部との接続部分の後部の曲率半径より大きく、
上下方向および左右方向に交差し、かつ前後方向に沿う断面視において、前記第2爪部と前記第3爪部との接続部分の前部の曲率半径は、前記第2爪部と前記第3爪部との接続部分の後部の曲率半径より大きくなっている、請求項1に記載の把手付きボトル。
発明の詳細な説明
【技術分野】
【0001】
本発明は、把手付きボトルに関する。
続きを表示(約 3,900 文字)
【背景技術】
【0002】
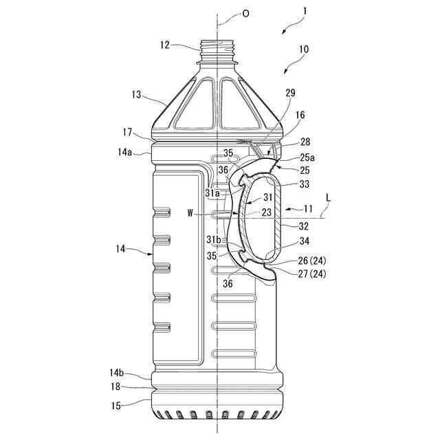
上下方向に延びる中心軸線を有するボトルの胴部に、径方向のうち、前方に向けて窪み後方に向けて開口した取付凹部が設けられ、取付凹部に把手が取付けられ、把手が、取付凹部の底面に固定された上下方向に延びる固定部と、固定部の後方に設けられた上下方向に延びる把手部と、固定部および把手部それぞれの上端部同士を連結した上連結部と、固定部および把手部それぞれの下端部同士を連結した下連結部と、を備えた把手付きボトルが知られている。
近年では、把手付きボトルの樹脂量を低減するために、ボトルの薄肉化、把手の小型化が検討されている。この種の把手付きボトルでは、把手を持ち上げたときに、取付凹部の内面が変形し、把手がボトルに対してぐらつきやすくなるおそれがあった。
このような問題を解決するために、下記特許文献1に示されるような、上連結部および下連結部の各前端部が、固定部から前方に突出し、かつ取付凹部の内面を形成する壁部に埋め込まれ、上連結部および下連結部の各前端部に、上方に向けて突出し、かつ前記壁部に埋め込まれた第1爪部と、下方に向けて突出し、かつ前記壁部に埋め込まれた第2爪部と、上下方向から見て前後方向に直交する左右方向に突出し、かつ前記壁部に埋め込まれた第3爪部と、が備えられた構成が知られている。
【先行技術文献】
【特許文献】
【0003】
特開2023-079491号公報
【発明の概要】
【発明が解決しようとする課題】
【0004】
しかしながら、前記従来の把手付きボトルでは、把手をインサート品としてボトルをブロー成形するときに、加熱により軟化したボトル用の合成樹脂材料が、上連結部および下連結部の各前端面に突当ったときに、合成樹脂材料の流れの勢いが弱められ、その後、合成樹脂材料が、上連結部および下連結部を後方に回り込もうとしたときに引き延ばされて破れるおそれがあった。
【0005】
本発明は、把手を持ち上げたときに、把手がボトルに対してぐらつくのを抑制することが可能で、かつボトルに破れを生じさせずに成形することができる把手付きボトルを提供する。
【課題を解決するための手段】
【0006】
本発明の一態様に係る把手付きボトルは、上下方向に延びる中心軸線を有するボトルの胴部に、径方向のうち、前方に向けて窪み後方に向けて開口した取付凹部が設けられ、前記取付凹部に把手が取付けられ、前記取付凹部の内面は、下方を向く上面と、上方を向く下面と、後方を向き、かつ前記上面および前記下面それぞれの前端部同士を連結する底面と、を備え、前記把手は、前記取付凹部の底面に固定された上下方向に延びる固定部と、前記固定部の後方に設けられた上下方向に延びる把手部と、前記固定部および前記把手部それぞれの上端部同士を連結した上連結部と、前記固定部および前記把手部それぞれの下端部同士を連結した下連結部と、を備え、前記上連結部および前記下連結部の各前端部は、前記固定部から前方に突出し、かつ前記取付凹部の内面を形成する壁部に埋め込まれ、前記上連結部および前記下連結部の各前端部には、上方に向けて突出し、かつ前記壁部に埋め込まれた第1爪部と、下方に向けて突出し、かつ前記壁部に埋め込まれた第2爪部と、上下方向から見て前後方向に直交する左右方向に突出し、かつ前記壁部に埋め込まれた第3爪部と、が備えられ、前記上連結部および前記下連結部の各前端面は、左右方向の中央部から左右方向に離れる外側に向かうに従い段部を介して後方に向けて延び、前記上連結部の前端部、および前記固定部の上端部を含む部分における左右方向の両側面は、前記上連結部の前端面に直交し、かつ左右方向に沿う第1断面視で、後方に向かうに従い段部を介して左右方向に互いに近付く左右方向の内側に向けて延び、前記下連結部の前端部、および前記固定部の下端部を含む部分における左右方向の両側面は、前記下連結部の前端面に直交し、かつ左右方向に沿う第2断面視で、後方に向かうに従い段部を介して左右方向に互いに近付く左右方向の内側に向けて延び、前記第1爪部および前記第2爪部は、上下方向および前後方向に沿う断面視において上下方向の外側に向けて突の曲線状を呈し、前記上連結部に形成された前記第3爪部は、前記第1断面視において左右方向の外側に向けて突の曲線状を呈し、前記下連結部に形成された前記第3爪部は、前記第2断面視において左右方向の外側に向けて突の曲線状を呈し、前記第1爪部と前記第3爪部との接続部分は、上下方向および左右方向に交差し、かつ前後方向に沿う断面視で斜め上方に向けて突の曲線状を呈し、前記第2爪部と前記第3爪部との接続部分は、上下方向および左右方向に交差し、かつ前後方向に沿う断面視で斜め下方に向けて突の曲線状を呈する。
【0007】
上連結部および下連結部の各前端面が、左右方向の中央部から左右方向に離れる外側に向かうに従い段部を介して後方に向けて延びているので、把手をインサート品としてボトルをブロー成形するときに、加熱により軟化したボトル用の合成樹脂材料が、上連結部および下連結部の各前端面上を流動するときに、それぞれの前端面において合成樹脂材料と段部との間に隙間が設けられることとなり、各前端面が、左右方向の中央部から左右方向の外側に向かうに従い後方に向けて延びていることと相俟って、合成樹脂材料と上連結部および下連結部の各前端面との間に生ずる流動抵抗を低減することができる。
第1爪部および第2爪部が、上下方向および前後方向に沿う断面視において上下方向の外側に向けて突の曲線状を呈し、上連結部に形成された第3爪部が、前記第1断面視において左右方向の外側に向けて突の曲線状を呈し、下連結部に形成された第3爪部が、前記第2断面視において左右方向の外側に向けて突の曲線状を呈し、第1爪部と第3爪部との接続部分が、上下方向および左右方向に交差し、かつ前後方向に沿う断面視で斜め上方に向けて突の曲線状を呈し、第2爪部と第3爪部との接続部分が、上下方向および左右方向に交差し、かつ前後方向に沿う断面視で斜め下方に向けて突の曲線状を呈する。したがって、前述のブロー成形時に、上連結部および下連結部の各前端面に突当った合成樹脂材料を、それぞれの前端面の外周縁を全周にわたって抵抗少なく後方に向けて乗り越えさせることができる。
以上より、把手をインサート品としてボトルをブロー成形するときに、加熱により軟化したボトル用の合成樹脂材料が、上連結部および下連結部の各前端面に突当った後に、上連結部および下連結部を後方に回り込もうとしたときに引き延ばされるのを抑制することが可能になり、ボトルに破れが生ずるのを抑えることができる。
上連結部の前端部、および固定部の上端部を含む上支持部における左右方向の両側面が、前記第1断面視で、後方に向かうに従い段部を介して左右方向に互いに近付く左右方向の内側に向けて延び、また、下連結部の前端部、および固定部の下端部を含む下支持部における左右方向の両側面が、前記第2断面視で、後方に向かうに従い段部を介して左右方向に互いに近付く左右方向の内側に向けて延びている。したがって、前述のブロー成形時に、上連結部および下連結部の各前端面上を流動した後に、上連結部および下連結部の後方に回り込んだ合成樹脂材料が、上支持部および下支持部の各両側面の段部に引っ掛けられることとなり、上支持部および下支持部をボトルに強く連結することが可能になり、把手を持ち上げたときに、把手がボトルに対してぐらつくのを確実に抑制することができる。
【0008】
上下方向および前後方向に沿う断面視において、前記第1爪部、および前記第2爪部の各前部の曲率半径は、前記第1爪部、および前記第2爪部の各後部の曲率半径より大きく、前記第1断面視において、前記第3爪部の前部の曲率半径は、前記第3爪部の後部の曲率半径より大きく、前記第2断面視において、前記第3爪部の前部の曲率半径は、前記第3爪部の後部の曲率半径より大きく、上下方向および左右方向に交差し、かつ前後方向に沿う断面視において、前記第1爪部と前記第3爪部との接続部分の前部の曲率半径は、前記第1爪部と前記第3爪部との接続部分の後部の曲率半径より大きく、上下方向および左右方向に交差し、かつ前後方向に沿う断面視において、前記第2爪部と前記第3爪部との接続部分の前部の曲率半径は、前記第2爪部と前記第3爪部との接続部分の後部の曲率半径より大きくなっていてもよい。
【0009】
第1爪部、第2爪部、第3爪部、第1爪部と第3爪部との接続部分、並びに、第2爪部と第3爪部との接続部分それぞれにおいて、前部の曲率半径が後部の曲率半径より大きくなっているので、把手をインサート品としてボトルをブロー成形するときに、加熱により軟化したボトル用の合成樹脂材料が、上連結部および下連結部の各前端面に突当った後に、上連結部および下連結部を後方に回り込もうとしたときに引き延ばされるのを確実に抑制することができる。
【発明の効果】
【0010】
本発明の上記態様によれば、把手を持ち上げたときに、把手がボトルに対してぐらつくのを抑制することが可能で、かつボトルに破れを生じさせずに成形することができる。
【図面の簡単な説明】
(【0011】以降は省略されています)
この特許をJ-PlatPat(特許庁公式サイト)で参照する
関連特許
株式会社吉野工業所
蓋体
1か月前
株式会社吉野工業所
吐出器
26日前
株式会社吉野工業所
吐出器
1か月前
株式会社吉野工業所
塗布容器
1か月前
株式会社吉野工業所
二重容器
2か月前
株式会社吉野工業所
吐出容器
26日前
株式会社吉野工業所
吐出容器
26日前
株式会社吉野工業所
吐出容器
1か月前
株式会社吉野工業所
繰出容器
26日前
株式会社吉野工業所
塗布容器
2か月前
株式会社吉野工業所
塗布容器
1か月前
株式会社吉野工業所
歯ブラシ
1か月前
株式会社吉野工業所
ノズル部材
26日前
株式会社吉野工業所
吐出ポンプ
1か月前
株式会社吉野工業所
化粧用容器
2か月前
株式会社吉野工業所
スパウト容器
1か月前
株式会社吉野工業所
スポイト容器
1か月前
株式会社吉野工業所
計量注出容器
1か月前
株式会社吉野工業所
スポイト容器
1か月前
株式会社吉野工業所
計量注出容器
1か月前
株式会社吉野工業所
吐出キャップ
27日前
株式会社吉野工業所
削り出し容器
1か月前
株式会社吉野工業所
パウダー容器
26日前
株式会社吉野工業所
ねじキャップ
26日前
株式会社吉野工業所
計量注出容器
26日前
株式会社吉野工業所
コンパクト容器
1か月前
株式会社吉野工業所
ポンプ式吐出器
1か月前
株式会社吉野工業所
合成樹脂製容器
26日前
株式会社吉野工業所
把手付きボトル
2か月前
株式会社吉野工業所
フォーマポンプ
1か月前
株式会社吉野工業所
ブラシ型塗布具
26日前
株式会社吉野工業所
把手付きボトル
26日前
株式会社吉野工業所
ポンプ式吐出器
2か月前
株式会社吉野工業所
合成樹脂製壜体
1か月前
株式会社吉野工業所
ポンプ式吐出器
2か月前
株式会社吉野工業所
ポンプ式吐出器
1か月前
続きを見る
他の特許を見る