TOP
|
特許
|
意匠
|
商標
特許ウォッチ
Twitter
他の特許を見る
10個以上の画像は省略されています。
公開番号
2025152246
公報種別
公開特許公報(A)
公開日
2025-10-09
出願番号
2024054056
出願日
2024-03-28
発明の名称
ポンプ式吐出器
出願人
株式会社吉野工業所
代理人
個人
主分類
B65D
47/34 20060101AFI20251002BHJP(運搬;包装;貯蔵;薄板状または線条材料の取扱い)
要約
【課題】従来と同じようにして内容液を吐出することが可能であって、更にリサイクル性にも優れるポンプ式吐出器を提案する。
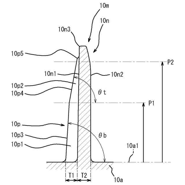
【解決手段】ポンプ式吐出器100において補強リブ10pは、根元側部分10p1と先端側部分10p2を備え、初期状態における根元側内周面10p3と先端側内周面10p4は、直線状に延在するストレート面であって、先端側内周面10p4は、ヘッド11を前進限まで前進させた際、基準仮想線Lに対して同位置、又は基準仮想線Lに対して中心軸線Oとは逆側に位置し、初期状態における根元側内周面10p3とベース部の表面がなす角度をθbと規定し、初期状態における先端側内周面10p4とベース部の表面がなす角度をθtと規定する場合、θb>θtを満たす。
【選択図】図1
特許請求の範囲
【請求項1】
内容液を収容する容器の口部に装着されるキャップと、該キャップにより該口部に保持されステムが進退移動することによって駆動するポンプと、内容液を外界に吐出させる吐出口を有するとともに該ステムに連結するヘッドと、を備え、該ヘッドを該キャップに向けて移動させることによって該容器内の内容液を該吐出口から吐出させるポンプ式吐出器において、
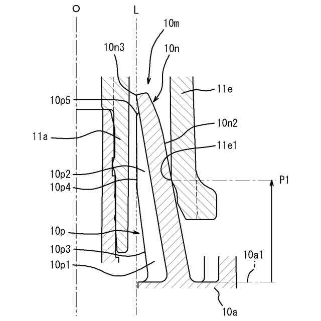
前記ヘッド及び前記キャップの何れか一方に、該ヘッド及び該キャップの何れか他方に向けて延出された延出部が設けられ、
前記ヘッド及び前記キャップの何れか他方に、ベース部と、根元部が該ベース部につながっていて該ヘッドを該キャップに向けて前進させた際に前記延出部によって前記ステムの中心軸線に近づく向きに撓む弾性片とが設けられ、
前記弾性片は、前記延出部が外周面に接触する弾性片本体と、該弾性片本体よりも幅狭であって該弾性片本体の内周面に設けられる補強リブと、を備え、
前記ベース部を基準として、前記ヘッドを前進限まで前進させた際に前記延出部が前記弾性片本体の前記外周面に接触する接触点が位置するところを前死点位置と規定し、前記中心軸線と平行であって、前記ヘッドを前進限まで前進させた際に前記弾性片本体における前記中心軸線に最も近づく本体先端部を通過する仮想線を基準仮想線と規定する場合、
前記補強リブは、前記延出部が前記弾性片本体に非接触であるときの初期状態において前記前死点位置に対して前記ベース部側に位置する根元側部分と、前記初期状態において前記前死点位置に対して前記ベース部とは逆側に位置する先端側部分とを備え、
前記初期状態における前記根元側部分の内周面である根元側内周面と前記先端側部分の内周面である先端側内周面は、直線状に延在するストレート面であって、
前記先端側内周面は、前記ヘッドを前進限まで前進させた際、前記基準仮想線に対して同位置、又は該基準仮想線に対して前記中心軸線とは逆側に位置し、
前記初期状態における前記根元側内周面と前記ベース部の表面がなす角度をθbと規定し、前記初期状態における前記先端側内周面と前記ベース部の表面がなす角度をθtと規定する場合、下記式(1)を満たすポンプ式吐出器。
θb>θt・・・(1)
続きを表示(約 790 文字)
【請求項2】
前記ベース部を基準として、前記ヘッドを後退限まで後退させた際に前記延出部が前記弾性片本体の前記外周面に接触する接触点が位置するところを後死点位置と規定する場合、
前記先端側内周面は、前記初期状態において前記後死点位置に対して前記ベース部とは逆側まで延在している請求項1に記載のポンプ式吐出器。
【請求項3】
前記角度θtが下記式(2)を満たす請求項1に記載のポンプ式吐出器。
77°≦θt≦83°・・・(2)
【請求項4】
前記角度θbが下記式(3)を満たす請求項1に記載のポンプ式吐出器。
84°≦θb≦90°・・・(3)
【請求項5】
前記初期状態における前記根元側部分が前記ベース部とつながるところでの厚みをT1と規定し、前記初期状態における前記弾性片本体が前記ベース部とつながるところでの厚みをT2と規定する場合、下記式(4)を満たす請求項1に記載のポンプ式吐出器。
0.6×T2≦T1≦1.2×T2・・・(4)
【請求項6】
前記補強リブは、前記弾性片本体に対して、前記中心軸線を周回する向きに間隔をあけて一対設けられる請求項1に記載のポンプ式吐出器。
【請求項7】
前記延出部における前記弾性片本体に接触する内周面の横断面形状は、前記中心軸線を中心とする円弧状であって、
前記弾性片本体における前記延出部に接触する前記外周面の横断面形状は、頂点が径方向外側に位置して該頂点が前記延出部における前記内周面に接触するV字状である請求項1に記載のポンプ式吐出器。
【請求項8】
前記ヘッド及び前記キャップの何れか他方に、前記弾性片が、前記中心軸線を周回する向きに等間隔で複数設けられた請求項7に記載のポンプ式吐出器。
発明の詳細な説明
【技術分野】
【0001】
本発明は、ポンプ式吐出器に関する。
続きを表示(約 3,100 文字)
【背景技術】
【0002】
ポンプ式吐出器として、容器の口部に装着されるキャップと、キャップにより口部に保持されステムが進退移動することによって駆動するポンプと、ステムに連結するヘッドとを備え、ヘッドをキャップに向けて移動させることによって容器内の内容液をヘッドの吐出口から吐出させるものが既知である(例えば特許文献1参照)。
【0003】
このようなポンプ式吐出器の内部には、特許文献1に示されているように、キャップに向けて前進させたヘッドを初期位置に向けて復帰させるためにコイルスプリングが設けられている。
【先行技術文献】
【特許文献】
【0004】
特開2011-31950号公報
【発明の概要】
【発明が解決しようとする課題】
【0005】
ところでこのようなポンプ式吐出器は、大部分の部材は合成樹脂製であるものの、コイルスプリングは金属製である。このため使用後に廃棄するにあたって、このままの状態では樹脂品としてリサイクルすることができない。また一般にこの種のポンプ式吐出器は、通常の使用時において部材が外れてしまうことを避けるべく、例えば嵌合等によって部材同士は強固に固定されている。従って、ポンプ式吐出器を分解してコイルスプリングと他の部材とに分別するにも手間を要することとなる。
【0006】
本発明はこのような問題点を解決することを課題とするものであって、従来と同じようにして内容液を吐出することが可能であって、更にリサイクル性にも優れるポンプ式吐出器を提案することを目的とする。
【課題を解決するための手段】
【0007】
本発明のポンプ式吐出器は、内容液を収容する容器の口部に装着されるキャップと、該キャップにより該口部に保持されステムが進退移動することによって駆動するポンプと、内容液を外界に吐出させる吐出口を有するとともに該ステムに連結するヘッドと、を備え、該ヘッドを該キャップに向けて移動させることによって該容器内の内容液を該吐出口から吐出させるポンプ式吐出器において、前記ヘッド及び前記キャップの何れか一方に、該ヘッド及び該キャップの何れか他方に向けて延出された延出部が設けられ、前記ヘッド及び前記キャップの何れか他方に、ベース部と、根元部が該ベース部につながっていて該ヘッドを該キャップに向けて前進させた際に前記延出部によって前記ステムの中心軸線に近づく向きに撓む弾性片とが設けられ、前記弾性片は、前記延出部が外周面に接触する弾性片本体と、該弾性片本体よりも幅狭であって該弾性片本体の内周面に設けられる補強リブと、を備え、前記ベース部を基準として、前記ヘッドを前進限まで前進させた際に前記延出部が前記弾性片本体の前記外周面に接触する接触点が位置するところを前死点位置と規定し、前記中心軸線と平行であって、前記ヘッドを前進限まで前進させた際に前記弾性片本体における前記中心軸線に最も近づく本体先端部を通過する仮想線を基準仮想線と規定する場合、前記補強リブは、前記延出部が前記弾性片本体に非接触であるときの初期状態において前記前死点位置に対して前記ベース部側に位置する根元側部分と、前記初期状態において前記前死点位置に対して前記ベース部とは逆側に位置する先端側部分とを備え、前記初期状態における前記根元側部分の内周面である根元側内周面と前記先端側部分の内周面である先端側内周面は、直線状に延在するストレート面であって、前記先端側内周面は、前記ヘッドを前進限まで前進させた際、前記基準仮想線に対して同位置、又は該基準仮想線に対して前記中心軸線とは逆側に位置し、前記初期状態における前記根元側内周面と前記ベース部の表面がなす角度をθbと規定し、前記初期状態における前記先端側内周面と前記ベース部の表面がなす角度をθtと規定する場合、下記式(1)を満たす。
θb>θt・・・(1)
【発明の効果】
【0008】
本発明のポンプ式吐出器によれば、ヘッドをキャップに向けて前進させた際、延出部によって弾性片がステムの中心軸線に近づく向きに撓むため、撓んだ弾性片が復元する際にヘッドを初期位置に向けて復帰させることができる。また金属製のコイルスプリングに換えて上記のような弾性片を用いているため、使用後は、従来のポンプ式吐出器で行っていた金属部品を分別する作業は必要がなく、またそのまま樹脂品として再利用することができるためリサイクル性にも優れる。ところで撓み変形可能な弾性片は、繰り返し撓ませるとへたりが生じて復元性が低下することがあり、これにより前進させたヘッドが後退限まで戻らないおそれがある。一方、弾性片の剛性を高めることによってへたりは生じにくくなるところ、剛性が高まると弾性片は撓みにくくなることからヘッドを前進させる際に過剰な力が必要となり、操作性が損なわれることになる。ここで本願発明者が検討を重ねたところ、弾性片は弾性片本体と補強リブを備えるものとし、補強リブは根元側部分と先端側部分を備えるものとしたうえで、この先端側部分の内周面である先端側内周面について、直線状に延在するストレート面であって基準仮想線との関係が上記を満足する場合には、弾性片の周囲に位置する他の部材との干渉を抑制しつつ、弾性片を繰り返し撓ませた場合においてもヘッドが後退限近くに達したときに弾性片から十分な弾性力が得られることを見出した。すなわち本発明のポンプ式吐出器によれば、弾性片を繰り返し撓ませた場合にもヘッドを後退限まで安定的に戻すことができる。また、根元側部分の内周面である根元側内周面が、先端側内周面に対して上記の角度の関係を満たす場合には、根元側部分の厚みが過剰に大きくなることがないため、ヘッドを前進させる際に過剰な力は不要となり、従来と同じような操作性を得ることができる。
【図面の簡単な説明】
【0009】
本発明に係るポンプ式吐出器の第一実施形態に関し、ヘッドが後退限に位置する状態での側面視における断面図である。
図1に示したポンプ式吐出器の平面図である。
図1のA-Aに沿う断面図である。
図1に示したポンプ式吐出器に関し、ヘッドが前進限に位置する状態での側面視における断面図である。
図3のB-Bに沿う断面図である。
図4AのC部における部分拡大図である。
弾性片の初期状態における側面視での断面図である。
ヘッドが前進限に位置する状態での弾性片周辺における部分断面図である。
本発明に係るポンプ式吐出器の第二実施形態に関し、図4Aに対応する断面図である。
図6AのD部における部分拡大図である。
【発明を実施するための形態】
【0010】
以下、図面を参照しながら本発明に係るポンプ式吐出器の第一実施形態であるポンプ式吐出器100について説明する。なお、本明細書等において上下方向とは、図示した中心軸線O(後述するステム7aの中心軸線)に沿う向きであって、パイプ4が位置する側が「下」であり、ヘッド11が位置する側が「上」である。また径方向とは、中心軸線Oに対して垂直な面内で中心軸線Oと直交する方向であり、周方向とは、この面内で中心軸線Oを中心として周回する方向である。
(【0011】以降は省略されています)
この特許をJ-PlatPat(特許庁公式サイト)で参照する
関連特許
株式会社吉野工業所
蓋体
9日前
株式会社吉野工業所
吐出器
1か月前
株式会社吉野工業所
吐出器
9日前
株式会社吉野工業所
吐出器
4日前
株式会社吉野工業所
繰出容器
2か月前
株式会社吉野工業所
二重容器
1か月前
株式会社吉野工業所
塗布容器
1か月前
株式会社吉野工業所
歯ブラシ
9日前
株式会社吉野工業所
塗布容器
1か月前
株式会社吉野工業所
吐出容器
1か月前
株式会社吉野工業所
吐出容器
4日前
株式会社吉野工業所
繰出容器
4日前
株式会社吉野工業所
吐出容器
4日前
株式会社吉野工業所
塗布容器
1か月前
株式会社吉野工業所
ノズル部材
4日前
株式会社吉野工業所
吐出ポンプ
1か月前
株式会社吉野工業所
化粧用容器
1か月前
株式会社吉野工業所
パウダー容器
4日前
株式会社吉野工業所
計量注出容器
10日前
株式会社吉野工業所
削り出し容器
1か月前
株式会社吉野工業所
スパウト容器
9日前
株式会社吉野工業所
繰り出し容器
2か月前
株式会社吉野工業所
計量注出容器
9日前
株式会社吉野工業所
ねじキャップ
4日前
株式会社吉野工業所
スポイト容器
9日前
株式会社吉野工業所
スポイト容器
1か月前
株式会社吉野工業所
吐出キャップ
5日前
株式会社吉野工業所
計量注出容器
4日前
株式会社吉野工業所
合成樹脂製壜体
1か月前
株式会社吉野工業所
ポンプ式吐出器
1か月前
株式会社吉野工業所
ポンプ式吐出器
1か月前
株式会社吉野工業所
コンパクト容器
1か月前
株式会社吉野工業所
把手付きボトル
1か月前
株式会社吉野工業所
合成樹脂製容器
4日前
株式会社吉野工業所
ポンプ式吐出器
1か月前
株式会社吉野工業所
フォーマポンプ
9日前
続きを見る
他の特許を見る