TOP
|
特許
|
意匠
|
商標
特許ウォッチ
Twitter
他の特許を見る
公開番号
2025153983
公報種別
公開特許公報(A)
公開日
2025-10-10
出願番号
2024056730
出願日
2024-03-29
発明の名称
吐出ポンプ
出願人
株式会社吉野工業所
代理人
個人
,
個人
,
個人
主分類
F04B
9/14 20060101AFI20251002BHJP(液体用容積形機械;液体または圧縮性流体用ポンプ)
要約
【課題】内容物の吐出時の過度な勢いを抑制できる吐出ポンプを提供する。
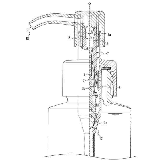
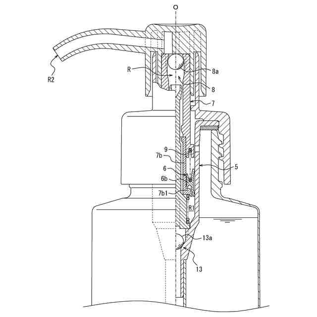
【解決手段】吐出ポンプ2は、シリンダ部5と、ピストン6と、ピストン6を保持しながら昇降する保持部7と、ポンプ室R1と吐出口R2とを含む内部流路Rと、ポンプ室R1と吐出口R2との間で内部流路Rを開く開動作をする開閉部8とを有し、保持部7への押下操作によって容器本体3内の内容物4を開閉部8によって開かれた内部流路Rを通して吐出する吐出ポンプ2であって、棒状弁体11を有し、棒状弁体11は、保持部7が初期位置に復帰する時に棒状弁体11がシール部7a2に接触することで内部流路Rを閉じ、ピストン6は、保持部7上を上下方向に摺動し、保持部7は、ピストン6を保持部7に対して下方に摺動させる付勢力を生じる第1付勢部9を有し、開閉部8は、保持部7への押下操作によって、シール部7a2が内部流路Rを開いた後で保持部7に対してピストン6が上方に摺動する前に開動作をする。
【選択図】図1
特許請求の範囲
【請求項1】
口部、胴部及び底部をこの順に連ねて有する容器本体の前記口部に装着されるシリンダ部と、
前記シリンダ部上を上下方向に摺動するピストンと、
前記ピストンを保持しながら前記シリンダ部に対して昇降する保持部と、
前記シリンダ部及び前記ピストンによって形成されるポンプ室と吐出口とを含む内部流路と、
前記ポンプ室と前記吐出口との間で前記内部流路を開く開動作をする開閉部とを有し、
前記保持部への押下操作によって前記容器本体内の内容物を前記開閉部によって開かれた前記内部流路を通して吐出する吐出ポンプであって、
前記上下方向に延びる棒状弁体を有し、
前記棒状弁体は、前記押下操作の解除によって前記保持部が初期位置に復帰する時に前記開閉部より上流側で前記棒状弁体が前記保持部の内周面上のシール部に接触することで前記内部流路を閉じ、前記初期位置からの前記押下操作によって前記内部流路を開き、
前記ピストンは、前記保持部上を前記上下方向に摺動し、
前記保持部は、前記ピストンを前記保持部に対して下方に摺動させる付勢力を生じる付勢部を有し、
前記開閉部は、前記保持部への前記押下操作によって、前記シール部が前記内部流路を開いた後で前記保持部に対して前記ピストンが上方に摺動する前に前記開動作をする、吐出ポンプ。
続きを表示(約 470 文字)
【請求項2】
前記保持部を前記シリンダ部に対して上昇させる第2付勢力を生じる第2付勢部を有し、
前記第2付勢部は第2バネ定数を有し、
前記付勢部は、前記第2付勢部の前記第2バネ定数よりも大きいバネ定数を有する、請求項1に記載の吐出ポンプ。
【請求項3】
前記保持部は、ステムと、前記ステムに装着されるピストンガイドとを有し、
前記ピストンガイドは、前記ピストンが下降時に突当る被突当部を有し、
前記ピストンは、前記ピストンガイドの外周面上を上下方向に摺動し、
前記付勢部の上端部は前記ステムに支持され、
前記付勢部の下端部は前記ピストンに支持される、請求項1に記載の吐出ポンプ。
【請求項4】
前記押下操作によって前記開動作をすることで前記ポンプ室から前記吐出口に向かう方向の前記内容物の流れを許容する一方、前記押下操作の解除によって閉動作をすることでその反対方向の流れを抑制する、前記開閉部としての下流側逆流抑制部を有する、請求項1に記載の吐出ポンプ。
発明の詳細な説明
【技術分野】
【0001】
本発明は吐出ポンプに関する。
続きを表示(約 1,600 文字)
【背景技術】
【0002】
容器本体の口部に装着されるシリンダ部と、シリンダ部上を上下方向に摺動するピストンと、ピストンを保持しながらシリンダ部に対して昇降する保持部と、シリンダ部及びピストンによって形成されるポンプ室と吐出口とを含む内部流路と、ポンプ室と吐出口との間で内部流路を開く開動作をする開閉部とを有し、保持部への押下操作によって容器本体内の内容物を開閉部によって開かれた内部流路を通して吐出する吐出ポンプが知られている(例えば特許文献1参照)。
【先行技術文献】
【特許文献】
【0003】
特許第5733752号公報
【発明の概要】
【発明が解決しようとする課題】
【0004】
上記のような吐出ポンプは、吐出した内容物を手などで受け取ろうとした時にぶつかった勢いで内容物が飛散してしまう場合がある。
【0005】
そこで本発明の目的は、内容物の吐出時の過度な勢いを抑制できる吐出ポンプを提供することにある。
【課題を解決するための手段】
【0006】
本発明の一態様は以下のとおりである。
【0007】
[1]
口部、胴部及び底部をこの順に連ねて有する容器本体の前記口部に装着されるシリンダ部と、
前記シリンダ部上を上下方向に摺動するピストンと、
前記ピストンを保持しながら前記シリンダ部に対して昇降する保持部と、
前記シリンダ部及び前記ピストンによって形成されるポンプ室と吐出口とを含む内部流路と、
前記ポンプ室と前記吐出口との間で前記内部流路を開く開動作をする開閉部とを有し、
前記保持部への押下操作によって前記容器本体内の内容物を前記開閉部によって開かれた前記内部流路を通して吐出する吐出ポンプであって、
前記上下方向に延びる棒状弁体を有し、
前記棒状弁体は、前記押下操作の解除によって前記保持部が初期位置に復帰する時に前記開閉部より上流側で前記棒状弁体が前記保持部の内周面上のシール部に接触することで前記内部流路を閉じ、前記初期位置からの前記押下操作によって前記内部流路を開き、
前記ピストンは、前記保持部上を前記上下方向に摺動し、
前記保持部は、前記ピストンを前記保持部に対して下方に摺動させる付勢力を生じる付勢部を有し、
前記開閉部は、前記保持部への前記押下操作によって、前記シール部が前記内部流路を開いた後で前記保持部に対して前記ピストンが上方に摺動する前に前記開動作をする、吐出ポンプ。
【0008】
[2]
前記保持部を前記シリンダ部に対して上昇させる第2付勢力を生じる第2付勢部を有し、
前記第2付勢部は第2バネ定数を有し、
前記付勢部は、前記第2付勢部の前記第2バネ定数よりも大きいバネ定数を有する、[1]に記載の吐出ポンプ。
【0009】
[3]
前記保持部は、ステムと、前記ステムに装着されるピストンガイドとを有し、
前記ピストンガイドは、前記ピストンが下降時に突当る被突当部を有し、
前記ピストンは、前記ピストンガイドの外周面上を上下方向に摺動し、
前記付勢部の上端部は前記ステムに支持され、
前記付勢部の下端部は前記ピストンに支持される、[1]又は[2]に記載の吐出ポンプ。
【0010】
[4]
前記押下操作によって前記開動作をすることで前記ポンプ室から前記吐出口に向かう方向の前記内容物の流れを許容する一方、前記押下操作の解除によって閉動作をすることでその反対方向の流れを抑制する、前記開閉部としての下流側逆流抑制部を有する、[1]~[3]の何れか1項に記載の吐出ポンプ。
【発明の効果】
(【0011】以降は省略されています)
この特許をJ-PlatPat(特許庁公式サイト)で参照する
関連特許
株式会社吉野工業所
二重容器
26日前
株式会社吉野工業所
塗布容器
25日前
株式会社吉野工業所
吐出容器
25日前
株式会社吉野工業所
塗布容器
25日前
株式会社吉野工業所
塗布容器
26日前
株式会社吉野工業所
吐出ポンプ
25日前
株式会社吉野工業所
スポイト容器
25日前
株式会社吉野工業所
削り出し容器
25日前
株式会社吉野工業所
ポンプ式吐出器
26日前
株式会社吉野工業所
ポンプ式吐出器
26日前
株式会社吉野工業所
合成樹脂製壜体
25日前
株式会社吉野工業所
把手付きボトル
26日前
株式会社吉野工業所
コンパクト容器
25日前
株式会社吉野工業所
ポンプ式吐出器
25日前
株式会社吉野工業所
ポンプ式吐出容器
25日前
株式会社吉野工業所
キャップ付き吐出栓
25日前
株式会社吉野工業所
トリガー式液体噴出器
25日前
株式会社吉野工業所
トリガー式液体噴出器
26日前
花王株式会社
吐出容器
18日前
花王株式会社
吐出容器
18日前
株式会社吉野工業所
移行栓キャップ付き容器
25日前
株式会社吉野工業所
泡吐出具及び泡吐出容器
25日前
株式会社吉野工業所
オーバーキャップ付き容器
25日前
株式会社吉野工業所
フォーマーディスペンサー
26日前
株式会社吉野工業所
ポンプ式吐出具及びポンプ式吐出容器
25日前
株式会社吉野工業所
ノズル部材、ポンプ式吐出器、及び吐出器付き容器
25日前
個人
海流製造装置。
1か月前
株式会社スギノマシン
圧縮機
26日前
株式会社ツインバード
送風装置
1か月前
株式会社ツインバード
送風装置
1か月前
日機装株式会社
遠心ポンプ
18日前
カヤバ株式会社
電動ポンプ
2か月前
株式会社不二越
蓄圧装置
3か月前
ビッグボーン株式会社
送風装置
2か月前
株式会社ノーリツ
ロータリ圧縮機
2か月前
株式会社酉島製作所
ポンプ
4か月前
続きを見る
他の特許を見る