TOP
|
特許
|
意匠
|
商標
特許ウォッチ
Twitter
他の特許を見る
公開番号
2025158259
公報種別
公開特許公報(A)
公開日
2025-10-17
出願番号
2024060631
出願日
2024-04-04
発明の名称
遠心ポンプ
出願人
日機装株式会社
代理人
個人
主分類
F04D
29/66 20060101AFI20251009BHJP(液体用容積形機械;液体または圧縮性流体用ポンプ)
要約
【課題】遠心ポンプが備えるインデューサの翼の近傍に発生するキャビテーションが低減される。
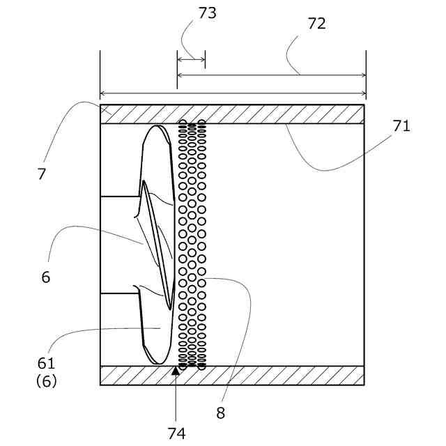
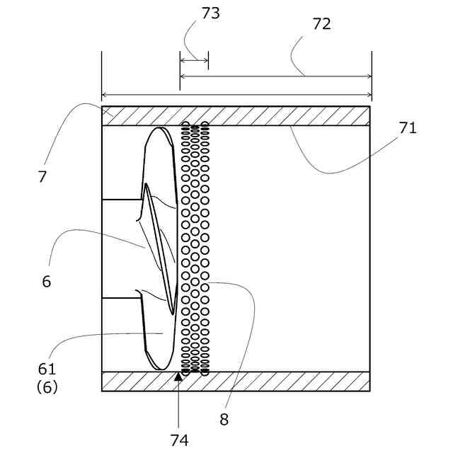
【解決手段】本発明に係る遠心ポンプ(1)は、回転軸(3)と、回転軸に取り付けられて、取扱液を吸い込むインペラ(4)と、インペラよりも取扱液の流れの上流側に配置されるインデューサ(6)と、インデューサが収容されて、インデューサとインペラとに取扱液を導入する吸込管(7)と、を有してなる。吸込管は、円筒状の内周面(71)、を備える。内周面は、複数の凹部、および/または、複数の凸部を有する少なくとも1つの凹凸面(8)、を備える。凹凸面は、内周面のうち、インデューサよりも流れの上流側に位置する上流側内周面(72)に配置される。
【選択図】図2
特許請求の範囲
【請求項1】
回転軸と、
前記回転軸に取り付けられて、取扱液を吸い込むインペラと、
前記インペラよりも前記取扱液の流れの上流側に配置されるインデューサと、
前記インデューサが収容されて、前記インデューサと前記インペラとに前記取扱液を導入する吸込管と、
を有してなり、
前記吸込管は、
円筒状の内周面、
を備えて、
前記内周面は、
複数の凹部、および/または、複数の凸部を有する少なくとも1つの凹凸面、
を備えて、
前記凹凸面は、前記内周面のうち、前記インデューサよりも前記流れの上流側に位置する上流側内周面に配置される、
遠心ポンプ。
続きを表示(約 810 文字)
【請求項2】
前記内周面の周方向において、前記凹凸面は、円環状に配置される、
請求項1に記載の遠心ポンプ。
【請求項3】
前記内周面は、
前記内周面の周方向において、配置される複数の前記凹凸面と、
前記周方向において、隣り合う前記凹凸面と前記凹凸面との間に配置される非凹凸面と、
を備えて、
前記非凹凸面は、複数の前記凹部、および/または、複数の前記凸部を有さない、
請求項1に記載の遠心ポンプ。
【請求項4】
前記凹凸面は、前記上流側内周面のうち、前記インデューサ側の端部に配置される、
請求項1乃至3のいずれか1項に記載の遠心ポンプ。
【請求項5】
前記凹凸面は、前記上流側内周面のうち、前記端部から前記流れの上流側に向けて所定の長さを有する円筒状に配置される、
請求項4に記載の遠心ポンプ。
【請求項6】
前記回転軸の軸方向と周方向とにおいて、前記凹部の大きさ、および/または、前記凸部の大きさの平均は、0.5mm以上8mm以下である、
請求項1に記載の遠心ポンプ。
【請求項7】
前記凹部の深さ、および/または、前記凸部の高さの平均は、0.25mm以上4mm以下である、
請求項1に記載の遠心ポンプ。
【請求項8】
前記凹凸面は、前記取扱液が前記インペラに吸い込まれているとき、前記吸込管内における前記取扱液の流れのうち、前記内周面に沿って旋回しながら前記インデューサに向けて流れる旋回流を乱す位置に配置される、
請求項1に記載の遠心ポンプ。
【請求項9】
前記凹凸面は、前記インデューサ側の端部から前記流れの上流側に向けて螺旋状に形成された螺旋溝により形成される、
請求項1に記載の遠心ポンプ。
発明の詳細な説明
【技術分野】
【0001】
本発明は、遠心ポンプに関する。
続きを表示(約 2,800 文字)
【背景技術】
【0002】
遠心ポンプは、取扱液を吸い込むインペラと、インペラよりも取扱液の流れの上流側に配置されているインデューサと、を備える。インデューサは、インペラが高速で回転するとき、インペラを流れる取扱液に発生するキャビテーションを低減する役割を担う。インデューサは、インペラの上流側の取扱液を与圧して、遠心ポンプの吸い込み性能を向上させる(例えば、特許文献1参照)。
【先行技術文献】
【特許文献】
【0003】
特開2016-37936号公報
【発明の概要】
【発明が解決しようとする課題】
【0004】
インデューサは、インペラの回転数や吐出量(流量)などに応じた吸込管の径に合わせて、最適な形状に設計されている。吸込管内を流れる取扱液の流速は、インデューサの回転により、取扱液が旋回しながら速められる。同取扱液の流速はインデューサの翼付近でさらに速められて、取扱液の圧力が低下する。ここで、吸込管内で高速回転するインデューサの端部の上流側付近では、取扱液の逆流が発生している。逆流は、吸込管内を流れる取扱液の主流に対して、反対方向への流れである。インデューサの翼の近傍では、主流と逆流とが互いに作用して、取扱液の圧力の低下が引き起されている。取扱液の圧力が低下すると、インデューサの翼の近傍には、キャビテーションが発生し得る。キャビテーションは、遠心ポンプの吸い込み性能を低下させる。キャビテーションは、振動、騒音、および、インデューサの疲労破壊の原因となる。
【0005】
本発明は、遠心ポンプが備えるインデューサの翼の近傍に発生するキャビテーションを低減することを目的とする。
【課題を解決するための手段】
【0006】
本発明の一実施形態における遠心ポンプは、回転軸と、前記回転軸に取り付けられて、取扱液を吸い込むインペラと、前記インペラよりも前記取扱液の流れの上流側に配置されているインデューサと、前記インデューサが収容されて、前記インデューサと前記インペラとに前記取扱液を導入する吸込管と、を有してなり、前記吸込管は、円筒状の内周面、を備えて、前記内周面は、複数の凹部、および/または、複数の凸部を有する少なくとも1つの凹凸面、を備えて、前記凹凸面は、前記内周面のうち、前記インデューサよりも前記流れの上流側に位置する上流側内周面に配置されている。
【発明の効果】
【0007】
本発明によれば、遠心ポンプが備えるインデューサの翼の近傍に発生するキャビテーションが低減される。
【図面の簡単な説明】
【0008】
本発明に係る遠心ポンプの実施の形態を示す同遠心ポンプの模式断面図である。
図1の遠心ポンプが備えるインデューサと吸込管の凹凸面とを示す同吸込管の模式部分断面図である。
図1の遠心ポンプが備えるインデューサの翼の近傍に発生するキャビテーションを流れの上流側から見た模式図である。
図1の遠心ポンプが備えるインデューサの回転により発生する取扱液の主流の流れを示す吸込管の模式部分断面図である。
従来の遠心ポンプが備えるインデューサの回転により発生する取扱液の圧力分布と流れとを示す模式図である。
図1の遠心ポンプが備えるインデューサの回転により発生する取扱液の圧力分布と流れとを示す模式図である。
本発明に係る遠心ポンプの別の実施の形態(第1実施形態の変形例)を示す吸込管の凹凸面のパターン(変形例)の一覧表である。
図7に示された凹凸面のパターン形状を示す模式図である。
図7に示された変形例(No.1~No.12)ごとのインデューサの翼の近傍に発生するキャビテーションを流れの上流側から見た模式図である。
図7に示された変形例(No.1~No.12)ごとのキャビテーションの体積を示したグラフである。
図7に示された変形例(No.1~No.5)ごとの揚程の能力を示した折線グラフである。
図7に示された変形例(No.6~No.9)ごとの揚程の能力を示した折線グラフである。
図7に示された変形例(No.10~No.12)ごとの揚程の能力を示した折線グラフである。
図7に示された変形例(No.1~No.12)ごとの揚程の能力における低下の割合を示したグラフである。
本発明に係る遠心ポンプのさらに別の実施の形態(第2実施形態の変形例)を示す吸込管の凹凸面のパターン(変形例)の一覧表である。
図15に示された凹凸面のパターン配列を示す模式図である。
図15に示された変形例(No.13~No.20)ごとのインデューサの翼の近傍に発生するキャビテーションを流れの上流側から見た模式図である。
図15に示された変形例(No.13~No.20)ごとのキャビテーションの体積を示したグラフである。
図15に示された変形例(No.13~No.18)ごとの揚程の能力を示した折線グラフである。
図15に示された変形例(No.19,No.20)ごとの揚程の能力を示した折線グラフである。
図15に示された変形例(No.13~No.20)ごとの揚程の能力における低下の割合を示したグラフである。
本発明に係る遠心ポンプのさらに別の実施の形態(第3実施形態の変形例)を示す吸込管の凹凸面のパターン(変形例)の一覧表である。
図22に示された凹凸面のパターン配列を示す模式図である。
図22に示された変形例(No.21,No.22)ごとのインデューサの翼の近傍に発生するキャビテーションを流れの上流側から見た模式図である。
図22に示された変形例(No.21,No.22)ごとのキャビテーションの体積を示したグラフである。
図22に示された変形例(No.21,No.22)ごとの揚程の能力を示した折線グラフである。
図22に示された変形例(No.21,No.22)ごとの揚程の能力における低下の割合を示したグラフである。
【発明を実施するための形態】
【0009】
本発明に係る遠心ポンプの実施の形態が、以下に説明される。以下の説明において、各図面は、適宜参照される。各図において、同一の部材および要素については同一の符号が付されて、重複する説明は省略される。また、各要素の寸法比率は、説明の便宜上、誇張されている場合が有り、各図面に図示されている比率に限定されない。
【0010】
●第1実施形態●
●遠心ポンプ(1)の構成
本発明に係る遠心ポンプの構成が、以下に説明される。
(【0011】以降は省略されています)
この特許をJ-PlatPat(特許庁公式サイト)で参照する
関連特許
日機装株式会社
遠心ポンプ
3日前
日機装株式会社
キャップ、コネクタおよび装置
21日前
日機装株式会社
医療機器、表示方法およびプログラム
1か月前
日機装株式会社
血液浄化装置、血液浄化システム、及び情報移行方法
11日前
日機装株式会社
医療機器、表示方法およびプログラム
1か月前
日機装株式会社
モータ軸受摩耗監視装置、断線検出プログラム、断線推定プログラム、および断線検出方法
1か月前
日機装株式会社
凍結された腎臓細胞の製造方法及び凍結された腎臓細胞
1か月前
個人
海流製造装置。
1か月前
株式会社スギノマシン
圧縮機
11日前
株式会社ツインバード
送風装置
1か月前
株式会社ツインバード
送風装置
1か月前
ダイニチ工業株式会社
空調装置
4か月前
日機装株式会社
遠心ポンプ
3日前
カヤバ株式会社
電動ポンプ
2か月前
ビッグボーン株式会社
送風装置
1か月前
株式会社不二越
蓄圧装置
2か月前
株式会社ノーリツ
ロータリ圧縮機
1か月前
株式会社酉島製作所
ポンプ
3か月前
個人
携帯型扇風機用の送風ノズル
4か月前
株式会社ニクニ
液封式ポンプ装置
4か月前
サンデン株式会社
スクロール圧縮機
17日前
小倉クラッチ株式会社
ルーツブロア
2か月前
樫山工業株式会社
真空ポンプ
12日前
株式会社坂製作所
スクロール圧縮機
3か月前
株式会社ノーリツ
ロータリー圧縮機
3か月前
サンデン株式会社
スクロール圧縮機
17日前
株式会社不二越
ベーンポンプ
2か月前
サンデン株式会社
スクロール圧縮機
17日前
株式会社不二越
油圧ユニット
4か月前
株式会社島津製作所
真空ポンプ
1か月前
個人
連結式螺旋翼体及び流体移送装置
4か月前
株式会社コスメック
ピストン型ポンプ
4か月前
株式会社島津製作所
真空ポンプ
1か月前
株式会社豊田自動織機
流体機械
1か月前
株式会社チロル
送風機、送風機付衣服
1か月前
株式会社アイシン
ポンプケース
24日前
続きを見る
他の特許を見る