TOP
|
特許
|
意匠
|
商標
特許ウォッチ
Twitter
他の特許を見る
10個以上の画像は省略されています。
公開番号
2025139219
公報種別
公開特許公報(A)
公開日
2025-09-26
出願番号
2024038034
出願日
2024-03-12
発明の名称
ポンプケース
出願人
株式会社アイシン
代理人
個人
,
個人
主分類
F04B
39/00 20060101AFI20250918BHJP(液体用容積形機械;液体または圧縮性流体用ポンプ)
要約
【課題】電動ポンプの作動音が漏れることを抑制できるポンプケースを提供する。
【解決手段】ポンプケース40は、第1開口部を有する第1ケース100と、第2開口部を有し、第1開口部と第2開口部とが向き合うように第1ケース100に装着され、第1ケース100とともに電動ポンプを収容する収容室Rmを構成する第2ケース200と、を備える。第1ケース100は、第2ケース200に向かって突出する第1係合リブ160を有する。第2ケース200は、第1ケース100に向かって突出する第2係合リブ250を有する。装着工程において、第1係合リブ160と第2係合リブ250とは、傾斜面163,252を介して、互いに摺動することにより、装着方向である第3方向D3と交差する方向に弾性変形する。装着状態において、第1係合リブ160と第2係合リブ250とは、第3方向D3と交差する方向に接している。
【選択図】図9
特許請求の範囲
【請求項1】
第1開口部を有する第1ケースと、
第2開口部を有し、前記第1開口部と前記第2開口部とが向き合うように前記第1ケースに装着され、前記第1ケースとともに電動ポンプを収容する収容室を構成する第2ケースと、を備え、
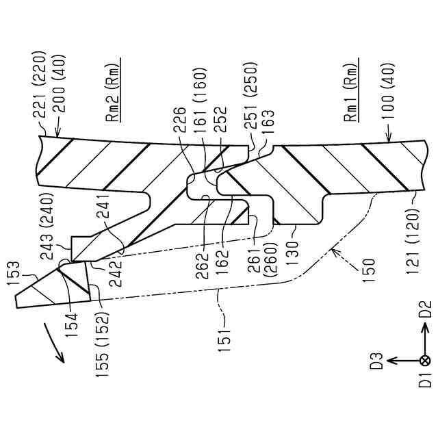
前記第1ケースは、前記第1開口部の周縁に沿って設けられ、前記第2ケースに向かって突出する第1係合リブを有し、
前記第2ケースは、前記第2開口部の周縁に沿って設けられ、前記第1ケースに向かって突出する第2係合リブを有し、
前記第1ケースに対して前記第2ケースが装着される方向を装着方向としたとき、
前記第1係合リブと前記第2係合リブとの少なくとも一方は、前記装着方向に対して傾く傾斜面を有し、
前記第1ケースに前記第2ケースが装着される際、前記第1係合リブと前記第2係合リブとの少なくとも一方の係合リブは、前記傾斜面を介して、他方の係合リブと摺動することにより、前記装着方向と交差する方向に弾性変形し、
前記第1ケースに前記第2ケースが装着される装着状態において、前記第1係合リブと前記第2係合リブとは、前記装着方向と交差する方向に接している
ポンプケース。
続きを表示(約 410 文字)
【請求項2】
前記第1係合リブは、前記傾斜面としての第1傾斜面を有し、
前記第2係合リブは、前記第1傾斜面に沿うように前記装着方向に対して傾く第2傾斜面を有し、
前記第1ケースに前記第2ケースが装着される際、前記第1傾斜面と前記第2傾斜面とが摺動する
請求項1に記載のポンプケース。
【請求項3】
前記装着方向と直交する方向を直交方向とし、前記直交方向のうち前記収容室に向かう方向を内方としたとき、
前記装着状態において、
前記第2係合リブは、前記第1係合リブよりも前記内方に位置し、
前記第2係合リブは、基端よりも先端に近い位置で前記第1係合リブに接している
請求項1又は請求項2に記載のポンプケース。
【請求項4】
前記第2係合リブの厚さは、前記第1係合リブの厚さ未満である
請求項1又は請求項2に記載のポンプケース。
発明の詳細な説明
【技術分野】
【0001】
本発明は、ポンプケースに関する。
続きを表示(約 2,000 文字)
【背景技術】
【0002】
特許文献1には、空気を送出する電動ポンプと、電動ポンプを収容するポンプケースと、電動ポンプとポンプケースとの間に配置される防振部材と、を備えるポンプ装置が記載されている。電動ポンプは、ポンプケースの内部から吸引した空気をポンプケースの外部に吐出する。ポンプケースは、第1ケースと第2ケースとに分割できるように構成されている。詳しくは、第1ケースと第2ケースとが電動ポンプと防振部材とを挟み込むことにより、ポンプケースは電動ポンプと防振部材とを収容している。
【先行技術文献】
【特許文献】
【0003】
特開2022-182784号公報
【発明の概要】
【発明が解決しようとする課題】
【0004】
上記のようなポンプ装置において、第1ケースと第2ケースとの間には、ポンプケースの内部に空気を取り込むための隙間が存在している。このため、電動ポンプが作動する場合には、上記の隙間を介して、電動ポンプの作動音がポンプケースの外部に漏れるおそれがある。
【課題を解決するための手段】
【0005】
上記課題を解決するポンプケースは、第1開口部を有する第1ケースと、第2開口部を有し、前記第1開口部と前記第2開口部とが向き合うように前記第1ケースに装着され、前記第1ケースとともに電動ポンプを収容する収容室を構成する第2ケースと、を備え、前記第1ケースは、前記第1開口部の周縁に沿って設けられ、前記第2ケースに向かって突出する第1係合リブを有し、前記第2ケースは、前記第2開口部の周縁に沿って設けられ、前記第1ケースに向かって突出する第2係合リブを有し、前記第1ケースに対して前記第2ケースが装着される方向を装着方向としたとき、前記第1係合リブと前記第2係合リブとの少なくとも一方は、前記装着方向に対して傾く傾斜面を有し、前記第1ケースに前記第2ケースが装着される際、前記第1係合リブと前記第2係合リブとの少なくとも一方の係合リブは、前記傾斜面を介して、他方の係合リブと摺動することにより、前記装着方向と交差する方向に弾性変形し、前記第1ケースに前記第2ケースが装着される装着状態において、前記第1係合リブと前記第2係合リブとは、前記装着方向と交差する方向に接している。
【発明の効果】
【0006】
ポンプケースは、電動ポンプの作動音が漏れることを抑制できる。
【図面の簡単な説明】
【0007】
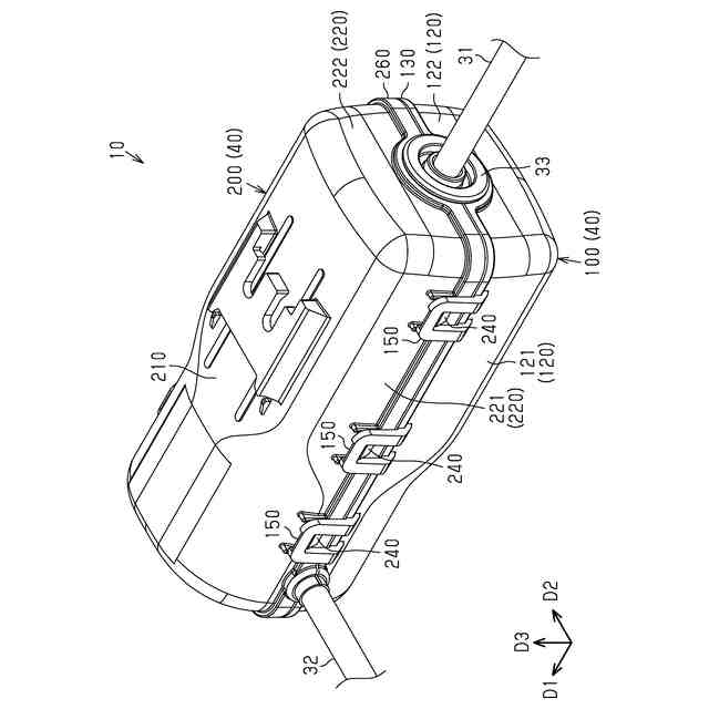
図1は、ポンプ装置の斜視図である。
図2は、図1のポンプ装置の収容物の分解斜視図である。
図3は、図1のポンプ装置のケースの分解斜視図である。
図4は、図1のポンプ装置のケースの分解斜視図である。
図5は、図1のポンプ装置の第1ケースの断面図である。
図6は、図1のポンプ装置の第2ケースの断面図である。
図7は、図1のポンプ装置の組立時の作用を説明する断面図である。
図8は、図1のポンプ装置の組立時の作用を説明する断面図である。
図9は、図1のポンプ装置の組立時の作用を説明する断面図である。
図10は、図1のポンプ装置の使用時の作用を説明する断面図である。
【発明を実施するための形態】
【0008】
以下、ポンプケースを備えるポンプ装置について説明する。
ポンプ装置は、例えば、車両シートのシートバック及びシートクッションに内蔵される空気袋に対して空気を供給するために用いられる。この場合、ポンプ装置は、空気袋に空気を供給することにより当該空気袋を膨張させる。こうして、ポンプ装置は、車両シートに着座するユーザの身体をマッサージする。
【0009】
<本実施形態の構成>
図1及び図2に示すように、ポンプ装置10は、電動ポンプ20と、チューブ31と、ケーブル32と、第1マウント33と、第2マウント34と、ポンプケース40と、を備える。
【0010】
<電動ポンプ20>
図2に示すように、電動ポンプ20は、ポンプ21と、電気モータ22と、を備える。
ポンプ21は、直方体状をなしている。ポンプ21は、空気を送出するエアポンプである。例えば、ポンプ21は、往復ポンプであってもよいし、回転ポンプであってもよい。ポンプ21は、空気を取り込む吸入口21aと、空気を吐出する吐出ノズル21bと、を有する。吸入口21aは、ポンプ21の外面に開口している。吐出ノズル21bには、第1端が空気の供給対象に接続されるチューブ31の第2端が接続される。
(【0011】以降は省略されています)
特許ウォッチbot のツイートを見る
この特許をJ-PlatPat(特許庁公式サイト)で参照する
関連特許
株式会社アイシン
ロータ
1か月前
株式会社アイシン
ロータ
27日前
株式会社アイシン
歯車機構
27日前
株式会社アイシン
キックセンサ
3日前
株式会社アイシン
折り畳み装置
1か月前
株式会社アイシン
ヒートシンク
3日前
株式会社アイシン
電力変換装置
3日前
株式会社アイシン
走行制御装置
1か月前
株式会社アイシン
ドアロック装置
25日前
株式会社アイシン
冷却モジュール
3日前
株式会社アイシン
車両用駆動装置
5日前
株式会社アイシン
車両用ドア装置
3日前
株式会社アイシン
サンルーフ装置
27日前
株式会社アイシン
車両用駆動装置
3日前
株式会社アイシン
燃料電池システム
27日前
株式会社アイシン
燃料電池システム
27日前
株式会社アイシン
燃料電池システム
27日前
株式会社アイシン
露光制御システム
1か月前
株式会社アイシン
車両用駆動伝達装置
5日前
株式会社アイシン
車両用駆動伝達装置
6日前
株式会社アイシン
静電容量センサシステム
4日前
株式会社アイシン
ペロブスカイト太陽電池
4日前
株式会社アイシン
車両用のドアロック装置
3日前
株式会社アイシン
バルブ装置の学習装置及び学習方法
6日前
株式会社アイシン
バルブ制御装置及びバルブ制御方法
6日前
株式会社豊田中央研究所
非接触給電可能な回転電機
25日前
株式会社アイシン
水性エマルジョン系制振塗料組成物及びその硬化塗膜
3日前
株式会社アイシン
ホール輸送材料およびホール輸送材料を用いた太陽電池
13日前
株式会社アイシン
ホール輸送材料およびホール輸送材料を用いた太陽電池
11日前
株式会社アイシン
ペロブスカイト太陽電池及びペロブスカイト太陽電池の製造方法
17日前
株式会社豊田中央研究所
体重推定装置、体重推定方法、及び体重推定プログラム
26日前
ミクロエース株式会社
被覆銅材の剥離処理方法、処理装置、処理装置制御部およびプログラム
11日前
個人
海流製造装置。
1か月前
株式会社スギノマシン
圧縮機
1か月前
株式会社ツインバード
送風装置
1か月前
株式会社ツインバード
送風装置
1か月前
続きを見る
他の特許を見る