TOP
|
特許
|
意匠
|
商標
特許ウォッチ
Twitter
他の特許を見る
10個以上の画像は省略されています。
公開番号
2025154563
公報種別
公開特許公報(A)
公開日
2025-10-10
出願番号
2024057634
出願日
2024-03-29
発明の名称
牽引支援装置
出願人
株式会社アイシン
代理人
弁理士法人酒井国際特許事務所
主分類
B62D
6/00 20060101AFI20251002BHJP(鉄道以外の路面車両)
要約
【課題】シンプルな操舵制御ロジックにより後退牽引における支援を行うことができる。
【解決手段】実施形態の牽引支援装置は、被牽引車両を牽引する牽引車両の後退走行を支援する牽引支援装置であって、被牽引車両を移動させる目標経路を算出する目標経路算出部と、平面座標上における被牽引車両の座標、及び被牽引車両と牽引車両との連結角度を取得する取得部と、目標経路に基づいてフィードフォワード制御に用いる被牽引車両の目標曲率である第1の目標曲率を算出する算出部と、第1の目標曲率を、牽引車両の目標曲率である第2の目標曲率に変換する第1の変換部と、第2の目標曲率を、牽引車両の目標操舵角に変換する第2の変換部と、を備える。
【選択図】図4
特許請求の範囲
【請求項1】
被牽引車両を牽引する牽引車両の後退走行を支援する牽引支援装置であって、
前記被牽引車両を移動させる目標経路を算出する目標経路算出部と、
平面座標上における前記被牽引車両の座標、及び前記被牽引車両と前記牽引車両との連結角度を取得する取得部と、
前記目標経路に基づいてフィードフォワード制御に用いる前記被牽引車両の目標曲率である第1の目標曲率を算出する算出部と、
前記第1の目標曲率を、前記牽引車両の目標曲率である第2の目標曲率に変換する第1の変換部と、
前記第2の目標曲率を、前記牽引車両の目標操舵角に変換する第2の変換部と、を備える、
牽引支援装置。
続きを表示(約 450 文字)
【請求項2】
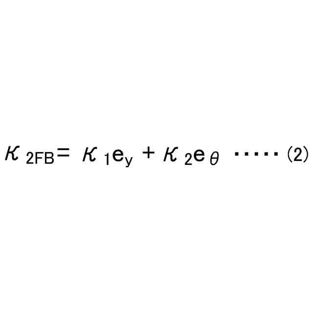
前記算出部は、前記被牽引車両の座標および前記連結角度から、前記被牽引車両の前記目標経路からの偏差を算出し、
前記被牽引車両の前記偏差に基づいて、フィードバック制御に用いる前記牽引車両の目標曲率である第3の目標曲率を算出するフィードバック制御部を更に備え、
前記第2の変換部は、
前記第3の目標曲率を合算した前記第2の目標曲率を前記目標操舵角に変換する、
請求項1に記載の牽引支援装置。
【請求項3】
前記算出部は、前記被牽引車両の座標および前記連結角度から、前記被牽引車両の前記目標経路からの偏差を算出し、
前記被牽引車両の前記偏差に基づいて、フィードバック制御に用いる前記被牽引車両の目標曲率である第4の目標曲率を算出するフィードバック制御部を更に備え、
前記第1の変換部は、
前記第4の目標曲率を合算した前記第1の目標曲率を前記第2の目標曲率に変換する、
請求項1に記載の牽引支援装置。
発明の詳細な説明
【技術分野】
【0001】
本発明は、牽引支援装置に関する。
続きを表示(約 1,400 文字)
【背景技術】
【0002】
トレーラ等の被牽引車両を牽引するトラクタ等の牽引車両において牽引支援を行う装置が知られている。例えば被牽引車両を後退牽引する際の牽引支援では、牽引支援装置は、被牽引車両の目標経路を予め算出し、算出した目標経路上を被牽引車両が移動するよう牽引車両を制御する。
【0003】
例えば特許文献1の技術では、シミュレーションによって予め、牽引車両と被牽引車両との姿勢角および操舵角のデータ系列を算出しておき、牽引車両と被牽引車両とを後退させる場合のフィードフォワード制御とフィードバック制御とに用いる。
【先行技術文献】
【特許文献】
【0004】
特開2022-107175号公報
【発明の概要】
【発明が解決しようとする課題】
【0005】
しかしながら、上述の特許文献1の技術では、事前にシミュレーションを行ってデータ系列を算出し保持する方式であるため、計算コストが高くメモリ消費量も大きい。また、横偏差、ヨー角偏差、及びヒッチ角偏差の3つの状態量についてフィードバック制御を行っており、操舵制御ロジックが複雑で、ゲイン調整が困難である。
【0006】
本発明は、上記に鑑みてなされたものであって、シンプルな操舵制御ロジックにより後退牽引における支援を行うことができる牽引支援装置を提供することである。
【課題を解決するための手段】
【0007】
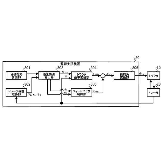
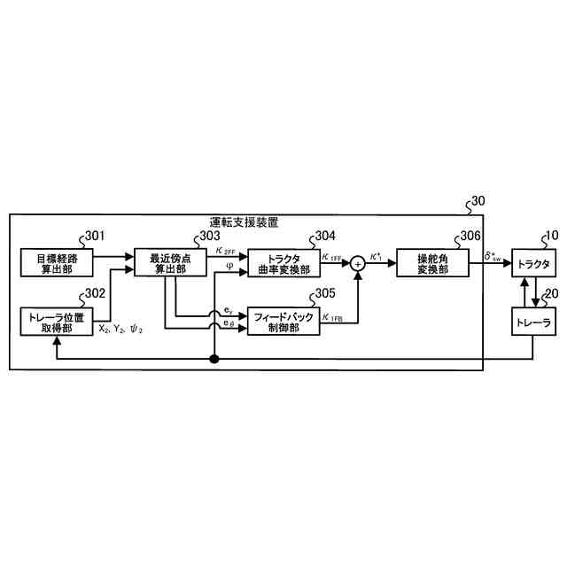
実施形態の牽引支援装置は、被牽引車両を牽引する牽引車両の後退走行を支援する牽引支援装置であって、前記被牽引車両を移動させる目標経路を算出する目標経路算出部と、平面座標上における前記被牽引車両の座標、及び前記被牽引車両と前記牽引車両との連結角度を取得する取得部と、前記目標経路に基づいてフィードフォワード制御に用いる前記被牽引車両の目標曲率である第1の目標曲率を算出する算出部と、前記第1の目標曲率を、前記牽引車両の目標曲率である第2の目標曲率に変換する第1の変換部と、前記第2の目標曲率を、前記牽引車両の目標操舵角に変換する第2の変換部と、を備える。
【0008】
実施形態の牽引支援装置は、シンプルな操舵制御ロジックにより後退牽引における支援を行うことができる。
【図面の簡単な説明】
【0009】
図1は、実施形態にかかるトラクタ及びトレーラを示す側面図である。
図2は、実施形態にかかるトラクタ及びトレーラを示す上面図である。
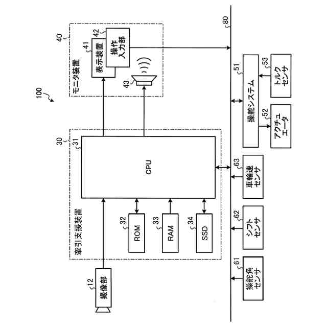
図3は、実施形態にかかるトラクタが備える牽引支援システムの構成の一例を示す図である。
図4は、実施形態にかかる牽引支援装置の機能構成の一例を示すブロック図である。
図5は、実施形態にかかる牽引支援装置が取得するトレーラ位置を示す説明図である。
図6は、実施形態にかかる牽引支援装置により算出される最近傍点を示す説明図である。
図7は、実施形態にかかる牽引支援装置が用いる距離を示す説明図である。
図8は、実施形態の変形例にかかる牽引支援装置の機能構成の一例を示すブロック図である。
【発明を実施するための形態】
【0010】
以下、添付図面を参照しながら、本発明に係る牽引支援装置の実施形態を詳細に説明する。
(【0011】以降は省略されています)
この特許をJ-PlatPat(特許庁公式サイト)で参照する
関連特許
株式会社アイシン
車両
3日前
株式会社アイシン
車両
3日前
株式会社アイシン
熱交換器
3日前
株式会社アイシン
熱交換器
3日前
株式会社アイシン
キックセンサ
16日前
株式会社アイシン
動力変換装置
3日前
株式会社アイシン
ヒートシンク
16日前
株式会社アイシン
電力変換装置
16日前
株式会社アイシン
車両用駆動装置
3日前
株式会社アイシン
車両用ドア装置
16日前
株式会社アイシン
冷却モジュール
16日前
株式会社アイシン
回転角検出装置
3日前
株式会社アイシン
車両用駆動装置
16日前
株式会社アイシン
車両用駆動装置
18日前
株式会社アイシン
車両用駆動伝達装置
19日前
株式会社アイシン
車両用駆動伝達装置
3日前
株式会社アイシン
車両用駆動伝達装置
18日前
株式会社アイシン
静電容量センサシステム
17日前
株式会社アイシン
車両用のドアロック装置
16日前
株式会社アイシン
ペロブスカイト太陽電池
17日前
株式会社アイシン
バルブ制御装置及びバルブ制御方法
19日前
株式会社アイシン
ペロブスカイト太陽電池の製造方法
4日前
株式会社アイシン
バルブ装置の学習装置及び学習方法
19日前
株式会社アイシン
水性エマルジョン系制振塗料組成物及びその硬化塗膜
16日前
株式会社アイシン
ホール輸送材料およびホール輸送材料を用いた太陽電池
24日前
株式会社アイシン
ホール輸送材料およびホール輸送材料を用いた太陽電池
26日前
株式会社アイシン
ペロブスカイト太陽電池及びペロブスカイト太陽電池の製造方法
1か月前
ミクロエース株式会社
被覆銅材の剥離処理方法、処理装置、処理装置制御部およびプログラム
24日前
個人
カート
4か月前
個人
走行装置
5か月前
個人
三輪バイク
1か月前
個人
台車
3日前
個人
乗り物
6か月前
個人
電動走行車両
5か月前
個人
折り畳み自転車
11か月前
個人
電動モビリティ
8か月前
続きを見る
他の特許を見る