TOP
|
特許
|
意匠
|
商標
特許ウォッチ
Twitter
他の特許を見る
公開番号
2025170637
公報種別
公開特許公報(A)
公開日
2025-11-19
出願番号
2024075391
出願日
2024-05-07
発明の名称
ペロブスカイト太陽電池の製造方法
出願人
株式会社アイシン
代理人
弁理士法人R&C
主分類
H10K
30/50 20230101AFI20251112BHJP()
要約
【課題】ペロブスカイト太陽電池の製造方法を提供する。
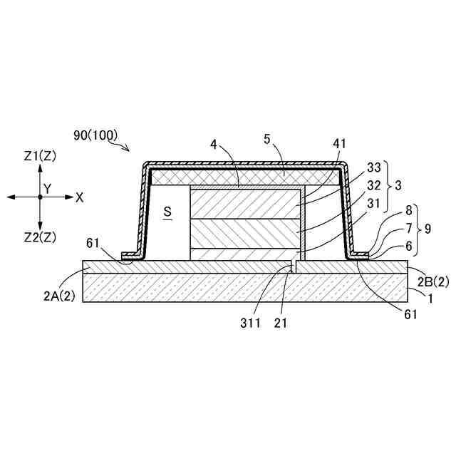
【解決手段】ペロブスカイト太陽電池100の製造方法は、基板1上の電子輸送層31の上、及び、電子輸送層31の周囲に光電変換層32を形成する光電変換層形成ステップと、光電変換層32の上に、ホール輸送層33を形成するホール輸送層形成ステップと、接続部41が形成される接続部形成領域71の光電変換層32及びホール輸送層33を除去する第1除去ステップと、接続部形成領域71及びホール輸送層33の上に、電極層40を形成する電極層形成ステップと、電極層40のうち、ホール輸送層33の上に形成された電極層40を当該電極層40の下方の光電変換層32及びホール輸送層33と共に除去して対向電極4を形成する第2除去ステップと、を含む。
【選択図】図5
特許請求の範囲
【請求項1】
透明導電膜が設けられた基板上にパターンニングされた電子輸送層の上、及び、前記電子輸送層の周囲において露出している前記基板の上に、ペロブスカイト化合物を含む光電変換層を形成する光電変換層形成ステップと、
前記光電変換層の上に、ホール輸送層を形成するホール輸送層形成ステップと、
前記ホール輸送層の上に設ける対向電極が前記電子輸送層の周囲における前記透明導電膜と電気的に接続する接続部が形成される領域であって前記電子輸送層の周囲に設定された接続部形成領域の前記光電変換層及び前記ホール輸送層を除去する第1除去ステップと、
前記接続部形成領域及び前記ホール輸送層の上に、電極層を形成する電極層形成ステップと、
前記電極層のうち、前記ホール輸送層の上に形成された前記電極層を当該電極層の下方の前記光電変換層及び前記ホール輸送層と共に除去して前記対向電極を形成する第2除去ステップと、
を含むペロブスカイト太陽電池の製造方法。
続きを表示(約 350 文字)
【請求項2】
前記接続部形成領域は、互いに隣り合うように2つの前記電子輸送層を設けた場合における、2つの前記電子輸送層同士の間隔に沿う長さが、前記間隔よりも短い請求項1に記載のペロブスカイト太陽電池の製造方法。
【請求項3】
前記接続部形成領域は、互いに隣り合うように2つの前記電子輸送層を設けた場合における、2つの前記電子輸送層同士の間隔に沿う長さが、前記間隔と同じである請求項1に記載のペロブスカイト太陽電池の製造方法。
【請求項4】
前記電子輸送層は二酸化チタンを含み、
前記第2除去ステップにおける前記電極層、前記光電変換層、及び前記ホール輸送層の除去は、スクライビング加工により行われる請求項3に記載のペロブスカイト太陽電池の製造方法。
発明の詳細な説明
【技術分野】
【0001】
本発明は、ペロブスカイト太陽電池の製造方法に関する。
続きを表示(約 2,300 文字)
【背景技術】
【0002】
従来、シリコンや、化合物半導体や、有機半導体等で形成した素子を用いた太陽電池が利用されてきた。このような太陽電池の高効率化や低コスト化を図るべく、近年、ペロブスカイト太陽電池が注目されている。このようなペロブスカイト太陽電池に関する技術として、例えば下記に出典を示す特許文献1及び2に記載のものがある。
【0003】
特許文献1には、光電変換素子について記載されている。この光電変換素子は、透明性が高い材料で構成された基板に、当該基板側から順に、透明導電膜(特許文献1では、透明電極)、ホール輸送層(特許文献1では、正孔輸送層)及び電子輸送層のうちの一方として機能する第1中間層、光電変換層、ホール輸送層及び電子輸送層のうちの他方として機能する第2中間層、対向電極、封止層を積層して構成されている。
【0004】
特許文献2には、太陽電池について記載されている。この太陽電池は、基板(特許文献2では、基材)上に、スパッタリングによって二酸化チタン膜からなる電極を形成し、この電極の上に多孔質状の電子輸送層を形成している。この電子輸送層の上に、有機無機ペロブスカイト化合物を含む層からなる光電変換層を形成し、さらにこの光電変換層の上にホール輸送層を形成している。そして、電子輸送層、光電変換層、及びホール輸送層を合わせてパターンニングし、ホール輸送層上に透明導電膜(特許文献2では、透明電極)を形成している。
【先行技術文献】
【特許文献】
【0005】
特開2019-54142号公報
特開2019-169684号公報
【発明の概要】
【発明が解決しようとする課題】
【0006】
ペロブスカイト太陽電池は種々の工程を経て製造されるが、これらの工程として所謂P1加工と、P2加工と、P3加工とがある。P1加工は、基板上に設けた、負極として利用される透明導電膜をパターンニングする工程である。P2加工は、透明導電膜が設けられた基板上の電子輸送層、光電変換層、及びホール輸送層を含む太陽電池層をパターンニングする工程である。P3加工は、太陽電池層上と太陽電池層の周囲に形成した電極層をパターンニングして正極として利用される対向電極を形成する工程である。このようなP1加工や、P2加工や、P3加工では、例えばスクライビング装置の刃で対象物を除去するスクライビング加工が利用される。しかしながら、P3加工のように、太陽電池層の周囲に形成した電極層を除去する際、電極層の上でスクライビング装置の刃が滑って適切に電極層を除去することができず、太陽電池層の周囲に電極層が残ってしまうことがある。この場合、残った電極層によって、本来、絶縁すべき正極(対向電極)と負極(透明導電膜)とが短絡され、ペロブスカイト太陽電池が所期の電力を出力できなくなってしまう。
【0007】
そこで、ペロブスカイト太陽電池の正極と負極との短絡を防止できるペロブスカイト太陽電池の製造方法が求められる。
【課題を解決するための手段】
【0008】
本発明に係るペロブスカイト太陽電池の製造方法の特徴構成は、透明導電膜が設けられた基板上にパターンニングされた電子輸送層の上、及び、前記電子輸送層の周囲において露出している前記基板の上に、ペロブスカイト化合物を含む光電変換層を形成する光電変換層形成ステップと、前記光電変換層の上に、ホール輸送層を形成するホール輸送層形成ステップと、前記ホール輸送層の上に設ける対向電極が前記電子輸送層の周囲における前記透明導電膜と電気的に接続する接続部が形成される領域であって前記電子輸送層の周囲に設定された接続部形成領域の前記光電変換層及び前記ホール輸送層を除去する第1除去ステップと、前記接続部形成領域及び前記ホール輸送層の上に、電極層を形成する電極層形成ステップと、前記電極層のうち、前記ホール輸送層の上に形成された前記電極層を当該電極層の下方の前記光電変換層及び前記ホール輸送層と共に除去して前記対向電極を形成する第2除去ステップと、を含む点にある。
【0009】
このような特徴構成とすれば、電極層をパターンニングして対向電極を形成する際に、第2除去ステップにおいて、ホール輸送層の上に形成された電極層を当該電極層の下方の光電変換層及びホール輸送層と共に除去することができる。したがって、従来のペロブスカイト太陽電池の製造方法における電極層のみを除去するといったP3工程を無くすことができるので、例えば電子輸送層や光電変換層やホール輸送層の側面に電極層の一部が残ってしまうといった状況を生じなくすることができる。このため、本来、絶縁すべきホール輸送層の上に形成された対向電極と、当該ホール輸送層の下方の透明導電膜との短絡を防止することが可能となる。
【図面の簡単な説明】
【0010】
ペロブスカイト太陽電池の側方断面図である。
ペロブスカイト太陽電池の平面図である。
ペロブスカイト太陽電池の部分斜視図である。
ペロブスカイト太陽電池の製造方法を示す図である。
ペロブスカイト太陽電池の製造方法を示す図である。
ペロブスカイト太陽電池の製造方法の変形例を示す図である。
ペロブスカイト太陽電池の製造方法の変形例を示す図である。
【発明を実施するための形態】
(【0011】以降は省略されています)
この特許をJ-PlatPat(特許庁公式サイト)で参照する
関連特許
株式会社アイシン
車両
1日前
株式会社アイシン
車両
1日前
株式会社アイシン
ロータ
1か月前
株式会社アイシン
ロータ
1か月前
株式会社アイシン
制御装置
1か月前
株式会社アイシン
歯車機構
1か月前
株式会社アイシン
ステータ
1か月前
株式会社アイシン
ステータ
1か月前
株式会社アイシン
ステータ
1か月前
株式会社アイシン
ステータ
1か月前
株式会社アイシン
制御装置
1か月前
株式会社アイシン
熱交換器
1日前
株式会社アイシン
制御装置
1か月前
株式会社アイシン
保護装置
1か月前
株式会社アイシン
熱交換器
1日前
株式会社アイシン
検知装置
1か月前
株式会社アイシン
駆動装置
1か月前
株式会社アイシン
レーダ装置
1か月前
株式会社アイシン
折り畳み装置
1か月前
株式会社アイシン
折り畳み装置
1か月前
株式会社アイシン
走行制御装置
1か月前
株式会社アイシン
ガス検出装置
1か月前
株式会社アイシン
折り畳み装置
1か月前
株式会社アイシン
動力変換装置
1日前
株式会社アイシン
運転支援装置
1か月前
株式会社アイシン
折り畳み装置
1か月前
株式会社アイシン
牽引支援装置
1か月前
株式会社アイシン
牽引支援装置
1か月前
株式会社アイシン
車両制御装置
1か月前
株式会社アイシン
ドア支持装置
1か月前
株式会社アイシン
乗員検知装置
1か月前
株式会社アイシン
電解システム
1か月前
株式会社アイシン
運転支援装置
1か月前
株式会社アイシン
出庫支援装置
1か月前
株式会社アイシン
運転支援装置
1か月前
株式会社アイシン
環境認識装置
1か月前
続きを見る
他の特許を見る