TOP
|
特許
|
意匠
|
商標
特許ウォッチ
Twitter
他の特許を見る
10個以上の画像は省略されています。
公開番号
2025153018
公報種別
公開特許公報(A)
公開日
2025-10-10
出願番号
2024055273
出願日
2024-03-29
発明の名称
ステータ
出願人
株式会社アイシン
代理人
個人
,
個人
主分類
H02K
3/04 20060101AFI20251002BHJP(電力の発電,変換,配電)
要約
【課題】一端側コイル部と他端側コイル部とを接続する箇所におけるコイルの径方向のサイズを抑制することが可能なステータを提供する。
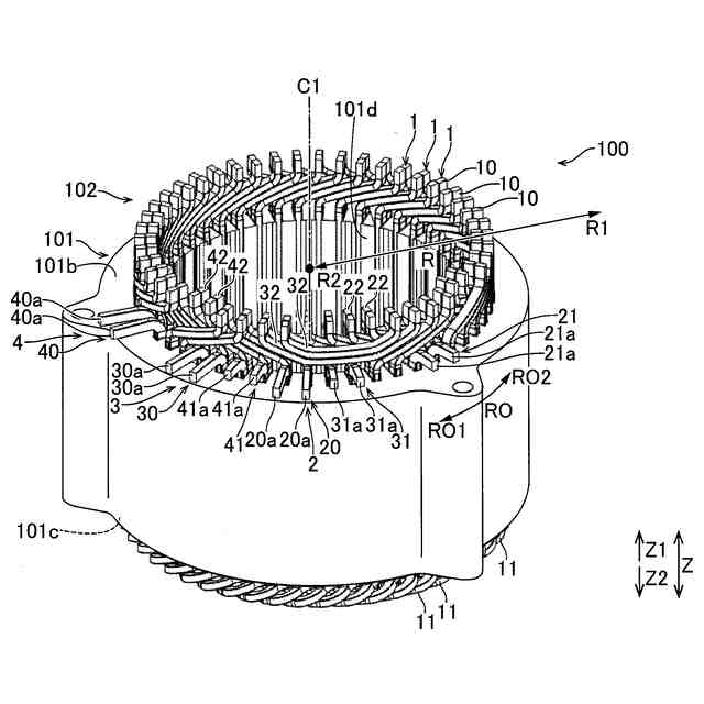
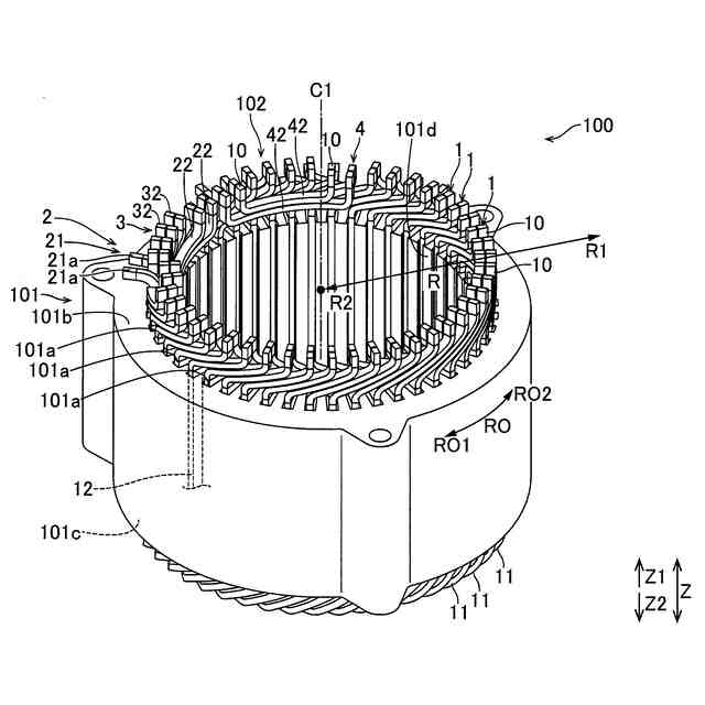
【解決手段】ステータ100は、ステータコア101と、V相コイルセット3、および、U相コイルセット2を含むコイル102とを備え、V相コイルセット3およびU相コイルセット2の各々は、一端側コイル部30、20と、他端側コイル部31、21と、一端側コイル部30、20および他端側コイル部31、21を接続する渡り線32、22とを有し、V相コイルセット3およびU相コイルセット2の各々において、複数列の渡り線22、32は、軸方向視でオーバーラップしており、V相コイルセット3の複数列の渡り線30、および、U相コイルセット2の複数列の渡り線22は、それぞれ、コイル102のうちで、最外周位置、および、最内周位置に配置されている。
【選択図】図8
特許請求の範囲
【請求項1】
軸方向に延びるとともに周方向に並ぶ複数のスロットを含むステータコアと、
互いに並列接続された状態で前記ステータコアに配置された2の倍数の複数列の第1の相の第1コイルセット、および、互いに並列接続された状態で前記ステータコアに配置された2の倍数の複数列の第2の相の第2コイルセットを含み、平角線により形成されたコイルと、を備え、
前記第1コイルセットおよび前記第2コイルセットの各々は、
前記ステータコアに導入される2の倍数の複数列の一端側コイル部と、
前記ステータコアに前記一端側コイル部とは周方向の逆向きに配置されて前記ステータコアから導出される2の倍数の複数列の他端側コイル部と、
前記ステータコアの軸方向の一方端面側において、前記一端側コイル部および前記他端側コイル部を接続する2の倍数の複数列の渡り線と、を有し、
前記第1コイルセットおよび前記第2コイルセットの各々において、前記複数列の渡り線は、軸方向視でオーバーラップしており、
前記第1コイルセットの前記複数列の渡り線、および、前記第2コイルセットの前記複数列の渡り線は、それぞれ、前記コイルのうちで、最外周位置、および、最内周位置に配置されている、ステータ。
続きを表示(約 580 文字)
【請求項2】
前記第1コイルセットの前記渡り線と、前記第2コイルセットの前記渡り線とは、径方向視でオーバーラップしている、請求項1に記載のステータ。
【請求項3】
前記コイルは、前記ステータコアに導入される2の倍数の複数列の一端側コイル部と、前記ステータコアに前記一端側コイル部とは周方向の逆向きに配置されて前記ステータコアから導出される2の倍数の複数列の他端側コイル部と、前記ステータコアの軸方向の前記一方端面側において、前記一端側コイル部および前記他端側コイル部を接続する2の倍数の複数列の渡り線と、を有し、互いに並列接続された状態で前記ステータコアに配置された2の倍数の複数列の第3の相の第3コイルセットをさらに含み、
前記第3コイルセットの前記複数列の渡り線は、前記コイルのうちで、最内周位置に配置され、
前記第1コイルセットの前記渡り線は、周方向の一方側において径方向視で前記第2コイルセットの前記渡り線とオーバーラップしており、周方向の他方側において径方向視で前記第3コイルセットの前記渡り線とオーバーラップしている、請求項2に記載のステータ。
【請求項4】
前記第2コイルセットの前記複数列の渡り線は、前記ステータコアの内周側端面よりも径方向内側に突出して配置されている、請求項1に記載のステータ。
発明の詳細な説明
【技術分野】
【0001】
本発明は、ステータに関する。
続きを表示(約 2,400 文字)
【背景技術】
【0002】
従来、コイルとステータコアとを備えるステータが知られている(たとえば、特許文献1)。
【0003】
上記特許文献1には、コイルとステータコアとを備えるステータが開示されている。特許文献1では、コイルは、U相コイルと、V相コイルと、W相コイルとを含み、各相のコイルは、並列な2の倍数の複数列の導線で構成されている。U相コイルと、V相コイルと、W相コイルの各々の一端は、動力線に接続され、他端は、中性線に接続されている。
【先行技術文献】
【特許文献】
【0004】
特開2019-140708号公報
【発明の概要】
【発明が解決しようとする課題】
【0005】
上記特許文献1には明記されていないが、ステータの分野では、U相コイルの動力線側である一端側コイル部、および、中性線側である他端側の他端側コイル部を、同様の巻き方によってステータコアに配置して、互いに逆向きの電流が流れるように、一端側コイル部と他端側コイル部とを接続する渡り線部分を設けることが知られている。V相コイルおよびW相コイルについても同様である。この場合、一端側コイル部と他端側コイル部との間の部分である渡り線部分が不規則な形状となって、渡り線部分を曲げることが必要となり、一端側コイル部と他端側コイル部との間においてコイルの径方向のサイズが大きくなっている。このため、従来より、一端側コイル部と他端側コイル部とを接続する箇所におけるコイルの径方向のサイズを抑制することが求められている。
【0006】
この発明は、上記のような課題を解決するためになされたものであり、この発明の1つの目的は、一端側コイル部と他端側コイル部とを接続する箇所におけるコイルの径方向のサイズを抑制することが可能なステータを提供することである。
【課題を解決するための手段】
【0007】
上記目的を達成するために、この発明の一局面におけるステータは、軸方向に延びるとともに周方向に並ぶ複数のスロットを含むステータコアと、互いに並列接続された状態でステータコアに配置された2の倍数の複数列の第1の相の第1コイルセット、および、互いに並列接続された状態でステータコアに配置された2の倍数の複数列の第2の相の第2コイルセットを含み、平角線により形成されたコイルと、を備え、第1コイルセットおよび第2コイルセットの各々は、ステータコアに導入される2の倍数の複数列の一端側コイル部と、ステータコアに一端側コイル部とは周方向の逆向きに配置されてステータコアから導出される2の倍数の複数列の他端側コイル部と、ステータコアの軸方向の一方端面側において、一端側コイル部および他端側コイル部を接続する2の倍数の複数列の渡り線と、を有し、第1コイルセットおよび第2コイルセットの各々において、複数列の渡り線は、軸方向視でオーバーラップしており、第1コイルセットの複数列の渡り線、および、第2コイルセットの複数列の渡り線は、それぞれ、コイルのうちで、最外周位置、および、最内周位置に配置されている。
【0008】
この発明の一の局面によるステータでは、上記のように、第1コイルセットおよび第2コイルセットの各々は、ステータコアに導入される2の倍数の複数列の一端側コイル部と、ステータコアに一端側コイル部とは周方向の逆向きに配置されてステータコアから導出される2の倍数の複数列の他端側コイル部と、ステータコアの軸方向の一方端面側において、一端側コイル部および他端側コイル部を接続する2の倍数の複数列の渡り線と、を有する。これによって、一端側コイル部および他端側コイル部の各々と渡り線とを別部材とすることができるので、一端側コイル部と他端側コイル部との各々に渡り線を接合するだけで、一端側コイル部と他端側コイル部とを接続することができる。すなわち、一端側コイル部と他端側コイル部とを接続する箇所に曲げ部分を設ける必要がなくなる。また、第1コイルセットおよび第2コイルセットの各々において、複数列の渡り線は、軸方向視でオーバーラップする。これによって、複数列の渡り線の軸方向に直交する径方向におけるサイズを抑制することができる。以上により、一端側コイル部と他端側コイル部とを接続する箇所におけるコイルの径方向のサイズを抑制することができる。また、第1コイルセットの複数列の渡り線、および、第2コイルセットの複数列の渡り線は、それぞれ、コイルのうちで、最外周位置、および、最内周位置に配置される。ここで、第1コイルセットおよび第2コイルセットの各々には動力線などに接続される端子が設けられる。そして、上記のように構成されることによって、最外周位置の第1コイルセットの複数列の渡り線と、最内周位置の第2コイルセットの複数列の渡り線とを、内周側および外周側に分散して配置することができるので、周方向において、第1コイルセットの複数列の渡り線と第2コイルセットの複数列の渡り線とを重ねて配置することが可能となり、周方向において第1コイルセットおよび第2コイルセットの動力線などに接続される端子を集約して配置することができる。
【0009】
上記一の局面によるステータにおいて、好ましくは、第1コイルセットの渡り線と、第2コイルセットの渡り線とは、径方向視でオーバーラップしている。
【0010】
このように構成すれば、最外周位置の第1コイルセットの渡り線と、最内周位置の第2コイルセットの渡り線とを、周方向において重ねて配置することができるので、周方向において第1コイルセットおよび第2コイルセットの動力線などに接続される端子をより集約して配置することができる。
(【0011】以降は省略されています)
この特許をJ-PlatPat(特許庁公式サイト)で参照する
関連特許
株式会社アイシン
車両
3日前
株式会社アイシン
車両
3日前
株式会社アイシン
ロータ
1か月前
株式会社アイシン
ロータ
1か月前
株式会社アイシン
熱交換器
3日前
株式会社アイシン
歯車機構
1か月前
株式会社アイシン
熱交換器
3日前
株式会社アイシン
キックセンサ
16日前
株式会社アイシン
ヒートシンク
16日前
株式会社アイシン
動力変換装置
3日前
株式会社アイシン
電力変換装置
16日前
株式会社アイシン
車両用駆動装置
3日前
株式会社アイシン
回転角検出装置
3日前
株式会社アイシン
サンルーフ装置
1か月前
株式会社アイシン
ドアロック装置
1か月前
株式会社アイシン
車両用駆動装置
18日前
株式会社アイシン
冷却モジュール
16日前
株式会社アイシン
車両用駆動装置
16日前
株式会社アイシン
車両用ドア装置
16日前
株式会社アイシン
燃料電池システム
1か月前
株式会社アイシン
燃料電池システム
1か月前
株式会社アイシン
燃料電池システム
1か月前
株式会社アイシン
車両用駆動伝達装置
18日前
株式会社アイシン
車両用駆動伝達装置
19日前
株式会社アイシン
車両用駆動伝達装置
3日前
株式会社アイシン
車両用のドアロック装置
16日前
株式会社アイシン
静電容量センサシステム
17日前
株式会社アイシン
ペロブスカイト太陽電池
17日前
株式会社アイシン
バルブ装置の学習装置及び学習方法
19日前
株式会社アイシン
ペロブスカイト太陽電池の製造方法
4日前
株式会社アイシン
バルブ制御装置及びバルブ制御方法
19日前
株式会社豊田中央研究所
非接触給電可能な回転電機
1か月前
株式会社アイシン
水性エマルジョン系制振塗料組成物及びその硬化塗膜
16日前
株式会社アイシン
ホール輸送材料およびホール輸送材料を用いた太陽電池
26日前
株式会社アイシン
ホール輸送材料およびホール輸送材料を用いた太陽電池
24日前
株式会社アイシン
ペロブスカイト太陽電池及びペロブスカイト太陽電池の製造方法
1か月前
続きを見る
他の特許を見る