TOP
|
特許
|
意匠
|
商標
特許ウォッチ
Twitter
他の特許を見る
公開番号
2025157790
公報種別
公開特許公報(A)
公開日
2025-10-16
出願番号
2024060027
出願日
2024-04-03
発明の名称
非接触給電可能な回転電機
出願人
株式会社豊田中央研究所
,
株式会社アイシン
代理人
弁理士法人YKI国際特許事務所
主分類
H02K
9/19 20060101AFI20251008BHJP(電力の発電,変換,配電)
要約
【課題】コイルエンド等の冷却が必要な箇所に冷却油を十分に供給可能な回転電機を提供する。
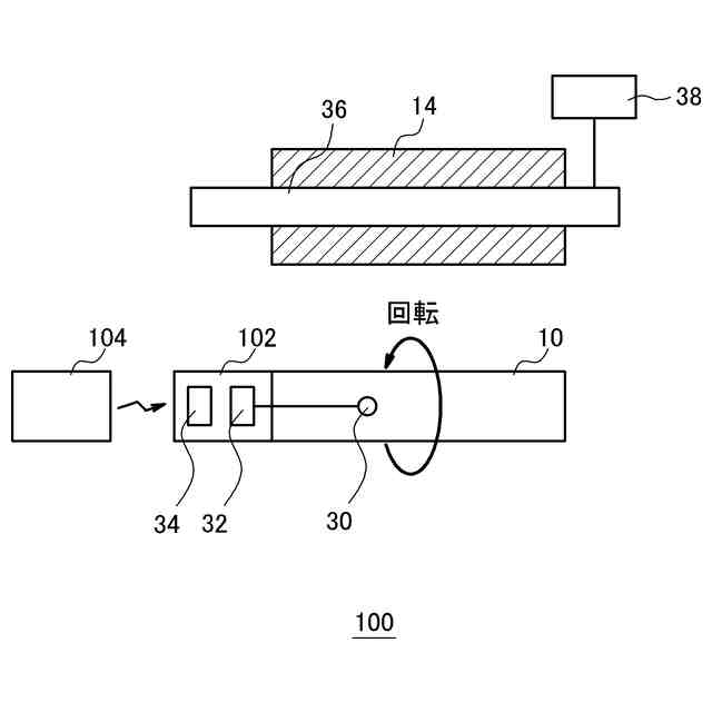
【解決手段】ロータ10に設けられ、ロータ10の状態を計測して出力する計測装置102と、ロータ10に設けられ、計測装置102に電力を供給する受電コイル16と、ロータ10の回転軸の周方向に沿って円環状に巻回され、受電コイル16に対して非接触で電力を給電する送電コイル24と、を備え、ロータシャフト12に冷却油を供給するための噴射穴18が設けられており、受電コイル16は、ロータ10の径方向に沿って噴射穴18と重ならない位置に配置されている。
【選択図】図2
特許請求の範囲
【請求項1】
ロータを回転させる回転電機であって、
前記ロータに設けられ、前記ロータの状態を計測して出力する計測装置と、
前記ロータに設けられ、前記計測装置に電力を供給する受電コイルと、
前記ロータの回転軸の周方向に沿って円環状に巻回され、前記受電コイルに対して非接触で電力を給電する送電コイルと、
を備え、
前記ロータのシャフトに冷却油を供給するための噴射穴が設けられており、
前記受電コイルは、前記ロータの径方向に沿って前記噴射穴と重ならない位置に配置されていることを特徴とする回転電機。
続きを表示(約 260 文字)
【請求項2】
請求項1に記載の回転電機であって、
前記受電コイルは、前記ロータの回転軸の周方向に沿った弧形状であることを特徴とする回転電機。
【請求項3】
請求項1に記載の回転電機であって、
前記受電コイルは、前記ロータの回転軸の周方向に沿って複数並べて配置されていることを特徴とする回転電機。
【請求項4】
請求項1~3のいずれか1項に記載の回転電機であって、
前記受電コイルは、前記送電コイルと反対側に磁気シールド層が設けられていることを特徴とする回転電機。
発明の詳細な説明
【技術分野】
【0001】
本発明は、非接触給電可能な回転電機に関する。
続きを表示(約 1,700 文字)
【背景技術】
【0002】
駆動用モータ等、回転電機として広く用いられている永久磁石同期モータでは、磁石が高温になるとコイルに通電する電流で逆磁界が加わることで磁石が不可逆減磁を引き起こす。これによって、モータの特性が低下してしまうおそれがある。特に、不可逆減磁が生ずると元に磁力に戻すことができないため、磁石の温度を管理することが重要である。
【0003】
通常の回転電機は、不可逆減磁を防止するために上限温度に余裕を設けて、上限温度にならないように安全に使用できるように設計されている。そのため、磁石温度を直接計測できるようになれば、計測された磁石温度に応じてコイルに通電可能な電流を調整できることから、より高い電流を通電可能となって、回転電機の特性の限界まで使用することが可能になる。
【0004】
そこで、スリップリングを用いて回転電機の回転側(ロータ)と固定側(ステータ)に電気的な接触部を設けることで、ロータ内の磁石に設けた温度センサの計測データをステータ等の外部に伝える構成が知られている。しかしながら、接触部分における摩耗によって回転電機の寿命が短縮されたり、接触があることで摩擦が増加して回転電機の損失が悪化したりする問題がある。
【0005】
そのため、従来技術では、非接触でロータ内の温度を計測するため、計測器やデータ伝送装置を含む計測装置をロータに設置し、その計測装置に電力を給電する方法が提案されている。例えば、非接触で電力を送るためにロータに設けたドーナツ型の受電コイルと、ステータに設けたドーナツ型の送電コイルとを対向させて、外部から送電コイルに高周波の電流を通電することによって受電コイルに非接触で電力を供給する技術が開示されている。受電コイルと送電コイルの対向配置としては、回転軸方向に並べる構成又は径方向に並べる構成等が知られている(特許文献1~3等)。
【先行技術文献】
【特許文献】
【0006】
特開2021-064985号公報
特開2011-101485号公報
特開2021-013217号公報
【発明の概要】
【発明が解決しようとする課題】
【0007】
ところで、回転電機では、ロータやステータの温度を下げるために冷却油を用いて冷却する構造が採用されている。例えば、ロータの回転軸であるシャフトの軸心を中空の油路として冷却油を流し、シャフトの一部において径方向に向けて噴射穴を開けることで、遠心力によって当該噴射穴から冷却油を外側に噴射させて供給している。当該冷却油がロータのエンドプレートやステータのコイルエンド等に掛かることで回転電機を冷却することができる。
【0008】
しかしながら、回転電機に非接触で電力を供給する機構を搭載した場合、ロータに設けられた受電コイルと冷却油供給のための噴射穴との相対的な位置関係が考慮されておらず、噴射穴から供給された冷却油が受電コイルによって邪魔されてコイルエンド等の冷却油が必要な箇所に十分に供給されないという問題があった。
【課題を解決するための手段】
【0009】
本発明の1つの態様は、ロータを回転させる回転電機であって、前記ロータに設けられ、前記ロータの状態を計測して出力する計測装置と、前記ロータに設けられ、前記計測装置に電力を供給する受電コイルと、前記ロータの回転軸の周方向に沿って円環状に巻回され、前記受電コイルに対して非接触で電力を給電する送電コイルと、を備え、前記ロータのシャフトに冷却油を供給するための噴射穴が設けられており、前記受電コイルは、前記ロータの径方向に沿って前記噴射穴と重ならない位置に配置されていることを特徴とする回転電機である。
【0010】
ここで、前記受電コイルは、前記ロータの回転軸の周方向に沿った弧形状であることが好適である。
(【0011】以降は省略されています)
この特許をJ-PlatPat(特許庁公式サイト)で参照する
関連特許
株式会社豊田中央研究所
分散電源システム
4日前
株式会社豊田中央研究所
吸着器の製造方法および吸着器
9日前
株式会社豊田中央研究所
水電解システムおよび水電解装置の制御方法
9日前
株式会社豊田中央研究所
水電解システム、水供給システム、および水供給方法
9日前
株式会社豊田中央研究所
情報処理システム、情報処理方法、及び情報処理プログラム
4日前
個人
単極モータ
1か月前
個人
電気を重力で発電装置
10日前
キヤノン電子株式会社
モータ
9日前
キヤノン電子株式会社
モータ
17日前
株式会社アイシン
ロータ
1か月前
株式会社アイシン
ロータ
1か月前
日星電気株式会社
ケーブル組立体
25日前
コーセル株式会社
電源装置
18日前
トヨタ自動車株式会社
固定子
1か月前
トヨタ自動車株式会社
モータ
9日前
株式会社デンソー
回転機
1か月前
トヨタ自動車株式会社
製造装置
1か月前
株式会社ダイヘン
充電装置
1か月前
株式会社ダイヘン
充電装置
1か月前
株式会社アイシン
ステータ
1か月前
株式会社ダイヘン
充電装置
1か月前
株式会社アイシン
ステータ
1か月前
株式会社アイシン
ステータ
1か月前
株式会社ダイヘン
充電装置
1か月前
個人
太陽エネルギー収集システム
1か月前
株式会社アイシン
ステータ
1か月前
個人
二次電池繰返パルス放電器用印刷基板
23日前
株式会社kaisei
発電システム
1か月前
トヨタ自動車株式会社
被膜形成装置
1か月前
株式会社ミツバ
回転電機
1か月前
株式会社ミツバ
回転電機
1か月前
株式会社デンソー
電力変換装置
1か月前
株式会社デンソー
電力変換装置
24日前
株式会社デンソー
非接触受電装置
26日前
トヨタ自動車株式会社
固定子の加熱装置
20日前
株式会社ダイヘン
インバータ装置
1か月前
続きを見る
他の特許を見る