TOP
|
特許
|
意匠
|
商標
特許ウォッチ
Twitter
他の特許を見る
公開番号
2025155630
公報種別
公開特許公報(A)
公開日
2025-10-14
出願番号
2024177414
出願日
2024-10-09
発明の名称
燃料電池システム
出願人
株式会社アイシン
代理人
弁理士法人アイテック国際特許事務所
主分類
H01M
8/04 20160101AFI20251002BHJP(基本的電気素子)
要約
【課題】燃料オフガスを熱交換器に通過させて燃料供給ラインに還流させるものにおいて、燃料供給ラインに還流させる燃料オフガスから凝縮水を効率よく除去する。
【解決手段】燃料電池システムは、燃料電池スタックを含む発電モジュールと、燃料供給系と、循環系と、凝縮水ラインとを備える。燃料供給系は、アノードの入口につながる発電モジュールの燃料入口と燃料供給源とに接続される燃料供給ラインと、燃料ブロワと、を含む。循環系は、アノードの出口につながる発電モジュールの燃料オフガス出口に接続される燃料オフガスラインと、熱交換器と、燃料供給ラインにおける熱交換器の下流側と燃料供給ラインとに接続される還流ラインと、を含む。凝縮水ラインは、燃料オフガスラインにおける熱交換器の下流側から分岐し、凝縮水を排出する。還流ラインは、燃料オフガスラインと凝縮水ラインとの分岐点よりも上方の位置で燃料供給ラインに接続される。
【選択図】図8
特許請求の範囲
【請求項1】
アノードに供給される水素ガスおよびアンモニアガスの少なくとも一方である燃料ガスとカソードに供給される酸化剤ガスとにより発電する燃料電池スタックと、当該燃料電池スタックを収容する断熱性のモジュールケースと、を含む発電モジュールと、
前記アノードの入口につながる前記発電モジュールの燃料入口と燃料供給源とに接続される燃料供給ラインと、前記燃料供給ラインに設けられる燃料ブロワと、を含む燃料供給系と、
前記アノードの出口につながる前記発電モジュールの燃料オフガス出口に接続される燃料オフガスラインと、前記燃料オフガスラインに設けられる熱交換器と、前記燃料供給ラインにおける前記熱交換器の下流側と前記燃料供給ラインとに接続される還流ラインと、を含む循環系と、
前記燃料オフガスラインにおける前記熱交換器の下流側から分岐し、前記熱交換器で燃料オフガスに含まれる水蒸気が凝縮することで得られる凝縮水を排出する凝縮水ラインと、
を備え、
前記還流ラインは、前記燃料オフガスラインと前記凝縮水ラインとの分岐点よりも上方の位置で前記燃料供給ラインに接続される、
燃料電池システム。
続きを表示(約 520 文字)
【請求項2】
請求項1に記載の燃料電池システムであって、
前記凝縮水ラインから凝縮水の供給を受けて蓄える凝縮水タンクを備え、
前記凝縮水タンクは、前記分岐点よりも下方に位置する、
燃料電池システム。
【請求項3】
請求項1または2に記載の燃料電池システムであって、
前記発電モジュールの燃料オフガス出口から排出された燃料オフガスが導入される前記熱交換器の燃料オフガス入口は、前記燃料オフガス出口よりも下方に位置する、
燃料電池システム。
【請求項4】
請求項1または2に記載の燃料電池システムであって、
前記発電モジュールは、前記モジュールケースに収容され、燃焼ガス入口から導入される可燃ガスを燃焼させる燃焼部を含み、
前記循環系は、前記発電モジュールの燃焼ガス入口に接続される燃焼ガスラインを含み、前記燃料オフガスラインにおける前記熱交換器を通過した燃料オフガスを前記還流ラインと前記燃焼ガスラインとに分配し、
前記燃料ブロワおよび前記発電モジュールの燃焼ガス入口は、前記分岐点よりも上方に位置する、
燃料電池システム。
発明の詳細な説明
【技術分野】
【0001】
本明細書は、燃料電池システムについて開示する。
続きを表示(約 2,000 文字)
【背景技術】
【0002】
従来、この種の燃料電池システムとしては、セルスタックと、セルスタックおよび燃焼器を収容する高温ハウジングと、燃料ガスポンプの作動によりセルスタックに燃料ガスを供給する燃料ガス供給流路と、セルスタックからの燃料オフガスを高温ハウジング外へ導いた後、再び高温ハウジング内に導入して燃焼器に供給する燃料オフガス送給流路と、燃料オフガス送給流路の中間部位(高温ハウジングの外)に配設された第2熱交換器と、燃料オフガス送給流路の第2熱交換器の下流側から分岐して燃料ガス供給流路における燃料ガスポンプと第2絞り部材との間に接続されるリサイクル流路と、リサイクル流路に設けられたリサイクル弁と、を備えるものが提案されている(例えば、特許文献1参照)。この燃料電池システムでは、セルスタックからの燃料オフガスは、第2熱交換器にて冷却された後に燃焼器に送給され、第2熱交換器から燃焼器に送給される燃料オフガスの一部は、燃料ガスポンプの作動により発生する負圧によりリサイクル流路を通して燃料ガス供給流路に戻される。
【先行技術文献】
【特許文献】
【0003】
特許7221641号公報
【発明の概要】
【発明が解決しようとする課題】
【0004】
燃料電池スタックからの燃料オフガスを熱交換器に通過させて燃料供給ラインに還流させる場合、燃料電池スタックの発電効率を良好にするため、還流させる燃料オフガスに含まれる水蒸気をできる限り少なくすることが望ましい。
【0005】
本開示は、燃料オフガスを熱交換器に通過させて燃料供給ラインに還流させるものにおいて、燃料供給ラインに還流させる燃料オフガスから水蒸気を良好に除去することを主目的とする。
【課題を解決するための手段】
【0006】
本開示は、上述の主目的を達成するために以下の手段を採った。
【0007】
本開示の燃料電池システムは、
アノードに供給される水素ガスおよびアンモニアガスの少なくとも一方である燃料ガスとカソードに供給される酸化剤ガスとにより発電する燃料電池スタックと、当該燃料電池スタックを収容する断熱性のモジュールケースと、を含む発電モジュールと、
前記アノードの入口につながる前記発電モジュールの燃料入口と燃料供給源とに接続される燃料供給ラインと、前記燃料供給ラインに設けられる燃料ブロワと、を含む燃料供給系と、
前記アノードの出口につながる前記発電モジュールの燃料オフガス出口に接続される燃料オフガスラインと、前記燃料オフガスラインに設けられる熱交換器と、前記燃料供給ラインにおける前記熱交換器の下流側と前記燃料供給ラインとに接続される還流ラインと、を含む循環系と、
前記燃料オフガスラインにおける前記熱交換器の下流側から分岐し、前記熱交換器で燃料オフガスに含まれる水蒸気が凝縮することで得られる凝縮水を排出する凝縮水ラインと、
を備え、
前記還流ラインは、前記燃料オフガスラインと前記凝縮水ラインとの分岐点よりも上方の位置で前記燃料供給ラインに接続される、
ことを要旨とする。
【0008】
この本開示の燃料電池システムでは、燃料オフガスを熱交換器に通過させて還流ラインによって燃料供給ラインに還流させるものにおいて、凝縮水ラインは、燃料オフガスラインにおける熱交換器の下流側から分岐し、還流ラインは、燃料オフガスラインと凝縮水ラインとの分岐点よりも上方の位置で燃料供給ラインに接続される。これにより、燃料供給ラインに還流させる燃料オフガスから水蒸気を良好に除去することができる。この結果、燃料電池スタックの発電効率を向上させることができる。
【図面の簡単な説明】
【0009】
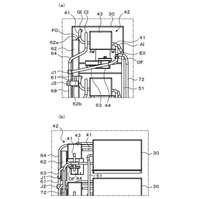
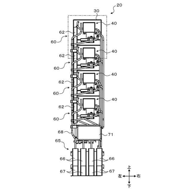
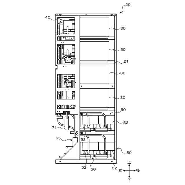
複数の燃料電池ユニットを含む燃料電池システムの外観斜視図である。
燃料電池ユニットの内部斜視図である。
燃料電池ユニットのフレームを除く内部斜視図である。
燃料電池ユニットの内部正面図である。
燃料電池ユニットのフレームを除く内部正面図である。
燃料電池ユニットの内部側面図である。
燃料電池ユニットのフレームを除く内部側面図である。
燃料電池ユニットの部分拡大図である。
燃料電池システムの概略構成図である。
燃料ブロワサブアセンブリの外観斜視図である。
エアブロワサブアセンブリの外観斜視図である。
凝縮水タンクサブアセンブリの外観斜視図である。
他の実施形態に係る燃料電池システムの一部の構成図である。
【発明を実施するための形態】
【0010】
本開示を実施するための形態について図面を参照しながら説明する。
(【0011】以降は省略されています)
この特許をJ-PlatPat(特許庁公式サイト)で参照する
関連特許
株式会社アイシン
ロータ
9日前
株式会社アイシン
ロータ
13日前
株式会社アイシン
制御装置
14日前
株式会社アイシン
制御装置
14日前
株式会社アイシン
ステータ
13日前
株式会社アイシン
ステータ
13日前
株式会社アイシン
ステータ
13日前
株式会社アイシン
制御装置
14日前
株式会社アイシン
ステータ
13日前
株式会社アイシン
歯車機構
9日前
株式会社アイシン
駆動装置
14日前
株式会社アイシン
牽引支援装置
13日前
株式会社アイシン
運転支援装置
13日前
株式会社アイシン
ドア支持装置
13日前
株式会社アイシン
車両制御装置
13日前
株式会社アイシン
折り畳み装置
13日前
株式会社アイシン
牽引支援装置
13日前
株式会社アイシン
運転支援装置
13日前
株式会社アイシン
折り畳み装置
13日前
株式会社アイシン
運転支援装置
13日前
株式会社アイシン
環境認識装置
13日前
株式会社アイシン
折り畳み装置
13日前
株式会社アイシン
ガス検出装置
13日前
株式会社アイシン
走行制御装置
13日前
株式会社アイシン
折り畳み装置
13日前
株式会社アイシン
車両用駆動装置
13日前
株式会社アイシン
車両用ドア装置
13日前
株式会社アイシン
車両用ドア装置
13日前
株式会社アイシン
車両用制御装置
14日前
株式会社アイシン
車両用制御装置
14日前
株式会社アイシン
車両用駆動装置
14日前
株式会社アイシン
ドアロック装置
7日前
株式会社アイシン
車両用制御装置
14日前
株式会社アイシン
サンルーフ装置
9日前
株式会社アイシン
露光制御システム
13日前
株式会社アイシン
燃料電池システム
9日前
続きを見る
他の特許を見る