TOP
|
特許
|
意匠
|
商標
特許ウォッチ
Twitter
他の特許を見る
10個以上の画像は省略されています。
公開番号
2025152677
公報種別
公開特許公報(A)
公開日
2025-10-10
出願番号
2024054690
出願日
2024-03-28
発明の名称
車両用ドア装置
出願人
株式会社アイシン
代理人
個人
,
個人
主分類
E05F
15/611 20150101AFI20251002BHJP(錠;鍵;窓または戸の付属品;金庫)
要約
【課題】精度よく、ドアの開閉動作を行う。
【解決手段】ドア装置70は、車体2に設けられたドア開口部3を開閉するドア5の車幅方向端部5weに設けられたドア側矯正面81を有するドア側矯正部材71を備える。また、ドア装置70は、ドア開口部3に進入するドア5の閉動作に基づきドア側矯正面81に対向するドア開口側矯正面82を有してドア開口部3の車幅方向端部3weに設けられたドア開口側矯正部材72を備える。そして、ドア装置70においては、車体2に対するドア5の支持姿勢に応じてドア側矯正面81とドア開口側矯正面82とが摺接することにより、そのドア5の支持姿勢が矯正される。
【選択図】図8
特許請求の範囲
【請求項1】
車体に設けられたドア開口部を開閉するドアの車幅方向端部に設けられたドア側矯正面を有するドア側矯正部材と、
前記ドア開口部に進入する前記ドアの閉動作に基づき前記ドア側矯正面に対向するドア開口側矯正面を有して前記ドア開口部の車幅方向端部に設けられたドア開口側矯正部材と、を備え、
前記車体に対する前記ドアの支持姿勢に応じて前記ドア側矯正面と前記ドア開口側矯正面とが摺接することにより、前記支持姿勢が矯正される車両用ドア装置。
続きを表示(約 570 文字)
【請求項2】
前記ドア側矯正面と前記ドア開口側矯正面とが車幅方向に対向するとともに、前記ドア側矯正面及び前記ドア開口側矯正面の少なくとも何れか一方が、上下方向に開閉動作する前記ドアの閉動作に基づいた前記ドア開口部に対する前記ドアの進入方向に向かって車幅方向内側に先細りとなるテーパ面を有する請求項1に記載の車両用ドア装置。
【請求項3】
前記ドア側矯正部材及び前記ドア開口側矯正部材の一方が、上下方向に開閉動作する前記ドアの閉動作に基づいた前記ドア開口部に対する前記ドアの進入方向に沿って延在する係合溝を備えるとともに、
前記ドア側矯正部材及び前記ドア開口側矯正部材の他方が、前記ドアの閉動作に基づき前記係合溝内に進入する係合部材を備え、
前記係合溝の内面及び該内面に対向する前記係合部材の対向面が、前記ドア側矯正面及び前記ドア開口側矯正面を構成する請求項1に記載の車両用ドア装置。
【請求項4】
前記ドアは、車両後方に開口する前記ドア開口部を開閉するバックドアであるとともに、前記ドア開口部の車幅方向両側に設けられた四節リンク機構の動作に基づいて該四節リンク機構を介して前記車体に支持された前記ドアが上下方向に開閉動作する
請求項1~請求項3の何れか一項に記載の車両用ドア装置。
発明の詳細な説明
【技術分野】
【0001】
本発明は、車両用ドア装置に関するものである。
続きを表示(約 1,600 文字)
【背景技術】
【0002】
従来、車両のドアには、例えば、特許文献1に記載のバックドアのように、所謂跳ね上げ式の構成を有するものがある。即ち、一般に、車体の後端部に設けられた後方に開口するドア開口部を、リヤハッチや後部ハッチ、或いはリヤゲート等と呼称する。そして、このような車両後部のドア開口部に支持されたドアをバックドアと呼称する。
【0003】
また、跳ね上げ式のドアは、ドア開口部の上端部近傍に、その車体に対するドアの連結位置を有している。そして、この連結位置周りにドアが回動することで、開動作時、その下端部分が上方に持ち上がる態様で、このドアが開閉動作する構成になっている。
【0004】
更に、特許文献1には、ドア開口部の幅方向両側に設けられた一対の四節リンク機構を介して車体にドアを支持する構成が開示されている。そして、これにより、全閉位置近傍の開閉動作時、そのバックドアを構成するドアの移動軌跡が車両後方側に膨らみ難い構成となっている。
【先行技術文献】
【特許文献】
【0005】
特開2008-195091号公報
【発明の概要】
【発明が解決しようとする課題】
【0006】
しかしながら、車両のドアにおいては、その型式を問わず、質感の高さが求められる。このため、精度よく、その開閉動作を行うことが重要な課題となっている。
【課題を解決するための手段】
【0007】
本発明に係る車両用ドア装置は、車体に設けられたドア開口部を開閉するドアの車幅方向端部に設けられたドア側矯正面を有するドア側矯正部材と、前記ドア開口部に進入する前記ドアの閉動作に基づき前記ドア側矯正面に対向するドア開口側矯正面を有して前記ドア開口部の車幅方向端部に設けられたドア開口側矯正部材と、を備え、前記車体に対する前記ドアの支持姿勢に応じて前記ドア側矯正面と前記ドア開口側矯正面とが摺接することにより、前記支持姿勢が矯正される。
【0008】
上記構成によれば、正しい支持姿勢でドアを全閉位置に配置することができる。その結果、精度よく、このドアを開閉動作させることができる。そして、これにより、ドアの質感を高めることができる。
【発明の効果】
【0009】
本発明によれば、精度よく、ドアの開閉動作を行うことができる。
【図面の簡単な説明】
【0010】
図1は、車両後部の斜視図である。
図2は、車両後部の斜視図である。
図3は、車両後部の側面図である。
図4は、車両後部の側面図である。
図5は、車両後部の側面図である。
図6は、車両後部の正面図である。
図7は、車両後部の正面図である。
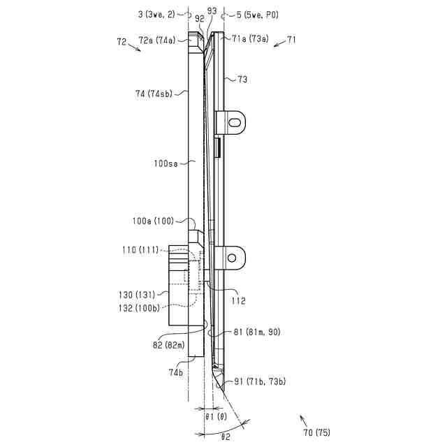
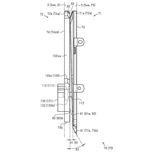
図8は、ドア側矯正部材及びドア開口側矯正部材の側面図である。
図9は、ドアの幅方向端部に設けられたドア側矯正部材の説明図である。
図10は、ドア側矯正部材の正面図である。
図11は、ドア開口側矯正部材の正面図である。
図12は、ドア開口側矯正部材の背面図である。
図13は、係合溝及び係合部材、並びにストッパ部材の説明図である。
図14は、係合溝及び係合部材、並びにストッパ部材の斜視図である。
図15は、係合溝に対して係合部材の進入する方向から見た係合溝及び係合部材、並びにストッパ部材の平面図である。
図16は、別例の係合溝及び係合部材の平面図である。
図17は、別例の係合溝及び係合部材の説明図である。
図18は、別例の係合溝及び係合部材の説明図である。
【発明を実施するための形態】
(【0011】以降は省略されています)
この特許をJ-PlatPat(特許庁公式サイト)で参照する
関連特許
株式会社アイシン
粉砕機
5日前
株式会社アイシン
潤滑油
3日前
株式会社アイシン
焼き入れ方法
3日前
株式会社アイシン
焼き入れ方法
3日前
株式会社アイシン
複合歯車の製造方法
10日前
株式会社アイシン
ペロブスカイト太陽電池
3日前
株式会社アイシン
ペロブスカイト太陽電池及びカーボン液
10日前
株式会社アイシン
エポキシ系接着剤組成物及びその硬化物並びに積層コア
3日前
株式会社アイシン
ナノ結晶軟磁性合金
5日前
トヨタ自動車株式会社
計数装置、計数方法及び計数用コンピュータプログラム
10日前
株式会社デンソーテン
画像処理装置、情報処理システム、情報処理方法、および、プログラム
3日前
トヨタ自動車株式会社
足元位置推定装置、足元位置推定方法、足元位置推定システム及び足元位置推定用コンピュータプログラムならびに移動検知装置
4日前
株式会社ベスト
軸釣装置
1か月前
株式会社ソリック
ドア装置
1か月前
株式会社セリュール
電子錠、電気錠装置
26日前
株式会社セリュール
電子錠、電気錠装置
26日前
トヨタ自動車株式会社
車両
1か月前
日本発條株式会社
リッド開閉装置
5日前
コイト電工株式会社
蝶番の取付構造
1か月前
朝日電装株式会社
車両用ロック装置
18日前
株式会社ベスト
軸釣装置の上吊り手段
26日前
タキゲン製造株式会社
電動ステー装置
4日前
株式会社アイシン
操作検出装置
12日前
株式会社アイシン
ドア支持装置
1か月前
株式会社アイシン
車両用ドア装置
1か月前
スガツネ工業株式会社
上吊式引戸
1か月前
芝浦電子工業株式会社
遠隔解錠システム
1か月前
株式会社アイシン
キックセンサ
1か月前
株式会社LIXIL
シリンダ錠
2か月前
富士電機株式会社
制御装置、制御方法
1か月前
ミネベアショウワ株式会社
引戸用ストライク
1か月前
株式会社パイオラックス
回転アクチュエータ
10日前
株式会社アイシン
車両用ドア装置
1か月前
ミネベアミツミ株式会社
ドアラッチ装置
1か月前
三和シヤッター工業株式会社
建具
1か月前
トヨタ自動車株式会社
方法
1か月前
続きを見る
他の特許を見る