TOP
|
特許
|
意匠
|
商標
特許ウォッチ
Twitter
他の特許を見る
10個以上の画像は省略されています。
公開番号
2025153391
公報種別
公開特許公報(A)
公開日
2025-10-10
出願番号
2024055855
出願日
2024-03-29
発明の名称
蝶番の取付構造
出願人
コイト電工株式会社
代理人
個人
主分類
E05D
5/02 20060101AFI20251002BHJP(錠;鍵;窓または戸の付属品;金庫)
要約
【課題】蝶番の取り付け時に、手を離しても蝶番が位置ずれすることなく、取り付けの作業効率を高めてコストを低減することができる蝶番の取付構造を提供する。
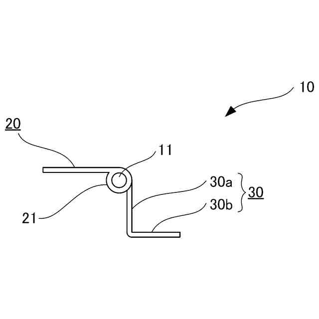
【解決手段】蝶番10の第1プレート20を、信号制御機100における内扉120の略水平にした被取付面121に固定する状態で載せた固定時に、被取付面121外に位置する蝶番10全体の重心(軸芯11)直下を支えて落下を防ぐリブ125を、内扉120自体に一体的に設けた。
【選択図】図1
特許請求の範囲
【請求項1】
一対のプレートが軸芯により互いに回転可能に連結された蝶番の取付構造において、
前記蝶番の一方のプレートを、一の取付対象物の略水平にした被取付面に固定する状態で載せた固定時に、前記被取付面外に位置する前記蝶番全体の重心直下を支えて落下を防ぐ支え部を、前記一の取付対象物に設けたことを特徴とする蝶番の取付構造。
続きを表示(約 840 文字)
【請求項2】
前記支え部は、前記一の取付対象物の被取付面に対して略直交する他側端面にリブとして突設され、該リブの一端が前記固定時の蝶番全体の重心直下となる前記軸芯下側に当接することを特徴とする請求項1に記載の蝶番の取付構造。
【請求項3】
前記リブは、前記蝶番の軸芯が挿通した各プレートの対向し合う端縁にある軸筒のうち、一方のプレートの軸筒に対して当接する位置に配されたことを特徴とする請求項2に記載の蝶番の取付構造。
【請求項4】
前記リブは、前記蝶番の軸芯下側に対して軸方向の離れた2箇所で当接するように2つ設けられたことを特徴とする請求項3に記載の蝶番の取付構造。
【請求項5】
前記固定時における前記蝶番全体の重心直下と前記支え部との間に、これら双方が先に当接することで前記一方のプレートが前記被取付面から離れることを防ぐクリアランスを設けたことを特徴とする請求項1,2,3または4に記載の蝶番の取付構造。
【請求項6】
前記被取付面に、前記一方のプレートを固定する状態に位置決めする軸部が設けられ、
前記一方のプレートに、前記軸部に嵌まる孔部が設けられたことを特徴とする請求項1,2,3または4に記載の蝶番の取付構造。
【請求項7】
前記蝶番の他方のプレートに、該他方のプレートを固定する他の取付対象物の被取付箇所にある掛止部に対して掛止可能な被掛止部を設け、
前記他の取付対象物に対する前記蝶番の他方のプレートの固定時に、前記掛止部に前記被掛止部を掛止させることにより、前記蝶番および前記一の取付対象物を、前記他の取付対象物に対して保持可能としたことを特徴とする請求項1,2,3または4に記載の蝶番の取付構造。
【請求項8】
前記一の取付対象物は、前記支え部を含めて一体成形されたことを特徴とする請求項1,2,3または4に記載の蝶番の取付構造。
発明の詳細な説明
【技術分野】
【0001】
本発明は、一対のプレートが軸芯により互いに回転可能に連結された蝶番の取付構造に関する。
続きを表示(約 1,900 文字)
【背景技術】
【0002】
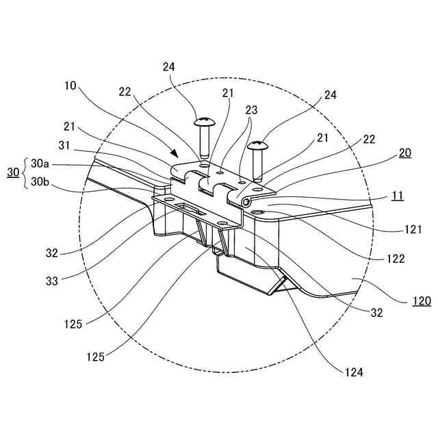
従来から蝶番は様々な分野において、扉や蓋等の一の取付対象物を、本体側等の他の取付対象物に対して開閉(回転)可能に連結するために活用されている。例えば特許文献1に記載された信号制御機では、その筐体の開口内側に内扉を開閉可能に取り付けるために蝶番が使われていた。一般にこの種の蝶番は、例えば特許文献2に記載されたように、軸芯を間にして開閉する一対のプレートを有するが、信号制御機では、一のプレートは内扉に固定され、他のプレートは筐体に固定されることで、内扉は筐体に対して開閉可能に取り付けられる。
【0003】
このような信号制御機の組み立て時において、図3(a)~(c)に示したように、蝶番10を内扉120にネジで固定するとき、先ずは略水平な状態にした内扉120の被取付面上に固定する一方のプレート20を位置決めする。このとき、被取付面上に位置決めしたプレート20と蝶番10全体の重心(軸芯)の位置はずれており、蝶番10全体の重心(軸芯)は被取付面の外側に位置する。そのため、位置決めした蝶番10から手を離すと、蝶番10は自重による回転モーメントにより、図3(c)中に破線矢印で示した回転軌跡を描き、被取付面から外れて落下してしまう事態となっていた。
【0004】
従って、蝶番10を内扉120にネジで固定するときは、蝶番10が落下しないように片手で被取付面上に押さえながらネジ止め作業を行う必要があった。このようなネジ止め作業は、詳しくは以下の11もの工程を要していた。すなわち、図14(a)に示したように、1.蝶番を取る、2.内扉に位置決めする、3.左手で蝶番を押さえて右手でネジをとる、4.左手にネジを渡す、5.ドライバーを右手で取る、6.左手のネジをビットに嵌める、7.ネジを内扉のネジ孔に入れる、8.1か所目をネジ止めする、9.ネジを取る、10.ビットに嵌めてネジ孔に入れる、11.2か所目のネジ止めをする。このような一連の工程を上下の蝶番について、それぞれ行う必要があった。
【0005】
特に、蝶番10をネジ止めする作業を行う上で面倒な工程は、蝶番10が落下しないように押えながらのネジ止め作業であったが、例えば図14(b)に示したように、特別な治具を用いることも考えられる。すなわち、治具を予め用意しておき、蝶番10をネジで内扉120に固定するときに、蝶番10全体の重心(軸心)を治具で支えながらネジ止め作業を行えば、蝶番10を手で押さえる必要はない。
【先行技術文献】
【特許文献】
【0006】
特開2015-122025号公報
特開2000-54716号公報
【発明の概要】
【発明が解決しようとする課題】
【0007】
前述したように信号制御機の組み立て時において、蝶番を内扉にネジで固定するときは、蝶番が落下しないように手で押さえながら作業をしなければならず、このような作業が煩わしく、時間がかかり、コストが嵩むという問題があった。かかる問題は、信号制御機の組み立てに限らず、蝶番の一方のプレートを一の取付対象物に対して固定する場合に広く該当する。
【0008】
また、図14(b)に示したように、特別な治具を用いることも考えられるが、治具そのものに余計なコストが発生することになる。しかも、治具の保管や準備が必要となるだけでなく、ネジ止め作業時おける治具のセッティングも面倒であり、やはり時間がかかり、コストが嵩むという問題があった。
【0009】
本発明は、以上のような従来技術が有する問題点に着目してなされたものであり、蝶番の取り付け時に、治具を用いることなく蝶番の重心直下を支えることを可能とし、手を離しても蝶番が位置ずれすることなく、取り付けの作業効率を高めてコストを低減することができる蝶番の取付構造を提供することを目的としている。
【課題を解決するための手段】
【0010】
前述した目的を達成するため、本発明の一態様は、
一対のプレートが軸芯により互いに回転可能に連結された蝶番の取付構造において、
前記蝶番の一方のプレートを、一の取付対象物の略水平にした被取付面に固定する状態で載せた固定時に、前記被取付面外に位置する前記蝶番全体の重心直下を支えて落下を防ぐ支え部を、前記一の取付対象物に設けたことを特徴とする。
【発明の効果】
(【0011】以降は省略されています)
この特許をJ-PlatPat(特許庁公式サイト)で参照する
関連特許
コイト電工株式会社
車載装置
2日前
コイト電工株式会社
情報処理装置
3日前
コイト電工株式会社
情報処理装置
3日前
コイト電工株式会社
蝶番の取付構造
2日前
コイト電工株式会社
座席濡れ検知装置
2日前
コイト電工株式会社
非接触給電システム
4日前
コイト電工株式会社
接続システムのIP化方法
2日前
コイト電工株式会社
情報処理装置および信号機
3日前
コイト電工株式会社
情報処理装置および物標情報提示装置
3日前
個人
物品保管箱
2か月前
個人
防犯用ドア装置
2か月前
個人
ピンシリンダー錠。
3か月前
リョービ株式会社
ヒンジ装置
4か月前
個人
二重ロック機能付小物入れ
2か月前
個人
顔認証による入室システム
3か月前
個人
ポスト機能付き手提げ金庫
1か月前
株式会社ニシムラ
ラッチ錠
3か月前
株式会社SKB
引き戸装置
4か月前
三協立山株式会社
開口部装置
1か月前
ミサワホーム株式会社
錠受具
3か月前
リョービ株式会社
ドアクローザ
2か月前
リョービ株式会社
ドアクローザ
2か月前
株式会社アルファ
電気錠
2か月前
個人
無人貸金庫システム
16日前
タキゲン製造株式会社
抜差し蝶番
4か月前
株式会社榮伸
カバン蓋の係止装置
1か月前
美和ロック株式会社
ハンドル装置
4か月前
マツ六株式会社
引戸用鎌錠
4か月前
積水ハウス株式会社
引き戸
25日前
株式会社ベスト
開き扉の開閉装置
1か月前
株式会社ベスト
扉及び個室
13日前
有限会社シティング
引き戸
23日前
積水ハウス株式会社
引き戸
13日前
スズキ株式会社
車両用乗員保護装置
1か月前
ミネベアショウワ株式会社
ドア装置
1か月前
ミネベアショウワ株式会社
ドア装置
1か月前
続きを見る
他の特許を見る