TOP
|
特許
|
意匠
|
商標
特許ウォッチ
Twitter
他の特許を見る
10個以上の画像は省略されています。
公開番号
2025141792
公報種別
公開特許公報(A)
公開日
2025-09-29
出願番号
2024220600
出願日
2024-12-17
発明の名称
扉及び個室
出願人
株式会社ベスト
代理人
個人
,
個人
主分類
E05D
11/06 20060101AFI20250919BHJP(錠;鍵;窓または戸の付属品;金庫)
要約
【課題】 非常時、扉を外開きした際に当該扉が袖パネルと干渉せず、従来の製品よりも出入口を広く開放することのできる扉と当該扉を備えた個室を提供する。
【解決手段】 本願の扉は、個室の出入口を開閉する扉であって、出入口の一部を開閉する第一扉部と、出入口の他の一部を開閉する第二扉部と、第一扉部と第二扉部を回転可能に連結する連結具と、第一扉部と第二扉部が個別に回転しないように第一扉部及び第二扉部を保持する保持具を備えたものである。本願における個室は、出入口と当該出入口を開閉する扉を備えた個室であって、本願の扉が出入口を形成する左右の袖パネルよりも室内側に配置され、その扉の第一扉部が左右の袖パネルのいずれか一方に回転可能に連結されたものである。
【選択図】図1
特許請求の範囲
【請求項1】
個室の出入口を開閉する扉において、
前記出入口の一部を開閉する第一扉部と、
前記出入口の他の一部を開閉する第二扉部と、
前記第一扉部と前記第二扉部を回転可能に連結する連結具と、
前記第一扉部と前記第二扉部が個別に回転しないように当該第一扉部及び第二扉部を保持する保持具を備えた、
ことを特徴とする扉。
続きを表示(約 1,200 文字)
【請求項2】
請求項1記載の扉において、
保持具による保持が解除されると、第一扉部及び第二扉部は、夫々の個室外の面である室外側面が接近する方向に回転可能になる、
ことを特徴とする扉。
【請求項3】
請求項1記載の扉において、
第一扉部と第二扉部の連結具での連結位置が、左右の袖パネルの出入口側の端面である袖パネル内端面よりも内側であって、当該左右の袖パネルと重ならない位置である、
ことを特徴とする扉。
【請求項4】
請求項1記載の扉において、
保持具は、ロック本体とロック解除具を備え、
前記ロック本体は、第一扉部と第二扉部の一方に取り付けられた固定側パーツと、第一扉部と第二扉部の他方に取り付けられた可動側パーツを備え、
前記ロック解除具は、前記可動側パーツに係止する保持体と、当該保持体を移動させるプッシャを備え、
前記固定側パーツと可動側パーツが係止した状態では、第一扉部と第二扉部が個別に回転しないように保持され、
前記固定側パーツと可動側パーツが係止していない状態では、第一扉部と第二扉部が夫々の個室外の面である室外側面が接近する方向に個別に回転可能になり、
前記固定側パーツと可動側パーツが係止した状態で前記プッシャが個室の室内側に移動すると、当該プッシャによって前記保持体が移動して当該保持体による可動側パーツの係止が解除される、
ことを特徴とする扉。
【請求項5】
請求項4記載の扉において、
ロック解除具は、保持体によるロック本体の係止が解除されたときに、当該保持体を室内側に跳ね上げる跳ね上げ具を備えた、
ことを特徴とする扉。
【請求項6】
請求項4記載の扉において、
第一扉部と第二扉部のうちロック解除具が固定された方の扉部に、プッシャを操作する操作具を差し込むための操作孔が設けられた、
ことを特徴とする扉。
【請求項7】
出入口と当該出入口を開閉する扉を備えた個室において、
請求項1から請求項6のいずれか1項に記載の扉が、前記出入口を形成する左右の袖パネルよりも室内側に配置され、
前記扉の第一扉部が前記左右の袖パネルのいずれか一方に回転可能に連結された、
ことを特徴とする個室。
【請求項8】
請求項7記載の個室において、
第二扉部の戸先側又は当該第二扉部の戸先側の袖パネルに錠本体が設けられ、
保持具による保持が解除され、第一扉部及び第二扉部の夫々の室外側面が接近する方向に回転すると、当該第二扉部の戸先側が、当該第二扉部の戸先側の袖パネルと前記錠本体の間から外れて、当該第二扉部を出入口から外側に引き出すことができる、
ことを特徴とする個室。
発明の詳細な説明
【技術分野】
【0001】
本発明は、個室の出入口を開閉する扉と当該扉を備えた個室に関する。
続きを表示(約 1,100 文字)
【背景技術】
【0002】
トイレなどの個室の出入口に設置される扉として、出入口を形成する左右の袖パネルよりも内側(室内側)に配置して使用される内開きの扉が知られている。内開きの扉は、室内においてのみ動作(開閉方向に回転)し、室外側には出ないように構成されている。
【0003】
ところで、個室内においては、利用者が急な体調不良等により倒れてしまうことがあり、このような場合に外部から扉を開けて利用者を救出できるようにしておく必要がある。非常時に内開きの扉を室外側に開けられる(引き出せる)ようにする発明として、扉を保持する丁番に関する発明が提案されている(例えば、特許文献1)。
【先行技術文献】
【特許文献】
【0004】
特開2023-177424号公報
【発明の概要】
【発明が解決しようとする課題】
【0005】
従来の製品の中には、室外側に開いた扉が、個室の出入口を構成する袖パネルに干渉して、出入口の一部しか開放できないものがあった。出入口の一部しか開放できない場合には、利用者の救助が難航するおそれがあり、この点に改善の余地が残されていた。
【0006】
本発明は係る事情に鑑みてなされたものであり、その解決課題は、非常時、扉を外開きした際に当該扉が袖パネルと干渉せず、従来の製品よりも出入口を広く開放することのできる扉と当該扉を備えた個室を提供することにある。
【課題を解決するための手段】
【0007】
[扉]
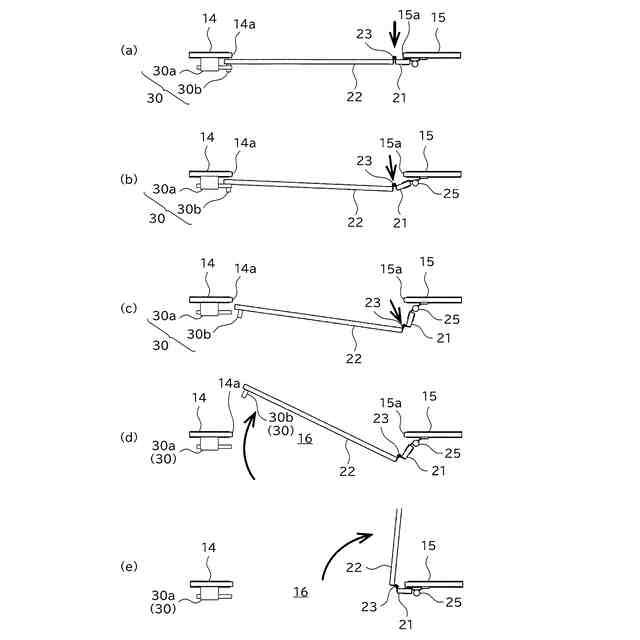
本願の扉は、個室の出入口を開閉する扉であって、出入口の一部を開閉する第一扉部と、出入口の他の一部を開閉する第二扉部と、第一扉部と第二扉部を回転可能に連結する連結具と、第一扉部と第二扉部が個別に回転しないように第一扉部及び第二扉部を保持する保持具を備えたものである。
【0008】
本願の扉では、保持具による保持が解除されると、第一扉部及び第二扉部は、夫々の個室外の面である室外側面が接近する方向に回転するように構成することもできる。
【0009】
本願の扉では、第一扉部と第二扉部の連結具での連結位置を、左右の袖パネルの出入口側の端面である袖パネル内端面よりも内側であって、左右の袖パネルと重ならない位置とすることができる。
【0010】
[個室]
本願における個室は、出入口と当該出入口を開閉する扉を備えた個室であって、本願の扉が出入口を形成する左右の袖パネルよりも室内側に配置され、その扉の第一扉部が左右の袖パネルのいずれか一方に回転可能に連結されたものである。
(【0011】以降は省略されています)
この特許をJ-PlatPat(特許庁公式サイト)で参照する
関連特許
株式会社ベスト
軸釣装置
1か月前
株式会社ソリック
ドア装置
1か月前
個人
無人貸金庫システム
2か月前
日本発條株式会社
リッド開閉装置
4日前
積水ハウス株式会社
引き戸
2か月前
有限会社シティング
引き戸
2か月前
株式会社セリュール
電子錠、電気錠装置
25日前
株式会社セリュール
電子錠、電気錠装置
25日前
積水ハウス株式会社
引き戸
2か月前
トヨタ自動車株式会社
車両
1か月前
株式会社ベスト
扉及び個室
2か月前
コイト電工株式会社
蝶番の取付構造
1か月前
朝日電装株式会社
車両用ロック装置
17日前
株式会社アイシン
ドア支持装置
1か月前
株式会社ユニオン
ドアハンドル
2か月前
株式会社ベスト
軸釣装置の上吊り手段
25日前
タキゲン製造株式会社
電動ステー装置
3日前
株式会社アイシン
操作検出装置
11日前
株式会社LIXIL
建具
2か月前
株式会社アイシン
車両用ドア装置
1か月前
株式会社アイシン
車両用ドア装置
2か月前
芝浦電子工業株式会社
遠隔解錠システム
1か月前
株式会社アイシン
車両用ドア装置
2か月前
スガツネ工業株式会社
上吊式引戸
1か月前
株式会社ナガエ
宅配ボックス用の錠装置
2か月前
トヨタ自動車株式会社
警報制御装置
2か月前
株式会社アイシン
キックセンサ
1か月前
株式会社パイオラックス
回転アクチュエータ
9日前
株式会社LIXIL
シリンダ錠
2か月前
富士電機株式会社
制御装置、制御方法
1か月前
ミネベアショウワ株式会社
引戸用ストライク
1か月前
大和ハウス工業株式会社
間仕切り機構
2か月前
トヨタ自動車株式会社
方法
1か月前
ミネベアミツミ株式会社
ドアラッチ装置
1か月前
三和シヤッター工業株式会社
建具
1か月前
株式会社アイシン
車両用ドア装置
1か月前
続きを見る
他の特許を見る