TOP
|
特許
|
意匠
|
商標
特許ウォッチ
Twitter
他の特許を見る
10個以上の画像は省略されています。
公開番号
2025165149
公報種別
公開特許公報(A)
公開日
2025-11-04
出願番号
2024069080
出願日
2024-04-22
発明の名称
軸釣装置
出願人
株式会社ベスト
代理人
個人
主分類
E05D
7/081 20060101AFI20251027BHJP(錠;鍵;窓または戸の付属品;金庫)
要約
【課題】 簡易な構造であり、ちり寸法を可能な限り短くすることが可能となるとともに、開き扉の落下を防止することが可能となる軸釣装置を提供する。
【解決手段】
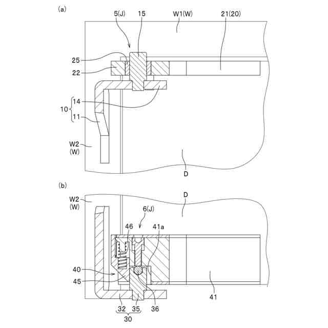
上側ピボット軸15と下側ピボット軸35を支軸として、開き扉Dを扉枠Wに回動可能に軸釣する軸釣装置Jにおいて、上側軸支部5は、上側支持部10と、上側ピボット軸15の上側支承部20と、を備え、下側軸支部6は、下側ピボット軸35が設けられている下側支持部30と、下側ピボット軸35の抜止具40を備えている。下側ピボット軸35の抜止具40は、基体41と、下側ピボット軸35の抜出防止体45を有している。下側ピボット軸35は、基体41の保持部41aに回動自在に保持されるものであり、抜出防止体45は、下側ピボット軸35が保持部41aから移動することを制限可能となるように設けられている。
【選択図】 図2
特許請求の範囲
【請求項1】
開き扉の上端部における上側軸支部に設けられている上側ピボット軸と、前記開き扉の下端部における下側軸支部に設けられている下側ピボット軸と、を支軸として、前記開き扉を、少なくとも上枠、左縦枠及び右縦枠を有する扉枠に回動自在に軸釣する軸釣装置において、
前記上側軸支部は、
前記上枠、前記左縦枠又は前記右縦枠において、前記上枠、前記左縦枠又は前記右縦枠から突設されており、先端が上向きとなるように前記上側ピボット軸が設けられている支持部と、前記開き扉から突設されるとともに、前記支持部の上方に設けられており、前記上側ピボット軸を支承する前記上側ピボット軸の支承部と、を備え、
前記支持部において、前記上側ピボット軸の支承部を下方から支持可能とすることより、落扉防止機能を奏するように構成されており、
前記下側軸支部は、
前記左縦枠、前記右縦枠又は前記扉枠が設けられている床面に取り付けられ、前記下側ピボット軸が設けられている支持部と、
前記開き扉の下縁部に設けられている前記下側ピボット軸の抜止具と、を備え、
前記下側ピボット軸の抜止具は、
基体と、前記下側ピボット軸の抜出防止体と、を有し、
前記基体には、前記下側ピボット軸を保持するための保持部が形成されており、
前記下側ピボット軸は、前記保持部に回動自在に保持され、
前記抜出防止体は、前記下側ピボット軸が前記保持部から移動することを制限可能となるように設けられていること、を特徴とする軸釣装置。
続きを表示(約 850 文字)
【請求項2】
開き扉の上端部における上側軸支部に設けられている上側ピボット軸と、前記開き扉の下端部における下側軸支部に設けられている下側ピボット軸と、を支軸として、前記開き扉を、少なくとも上枠、下枠、左縦枠及び右縦枠を有する扉枠に回動自在に軸釣する軸釣装置において、
前記上側軸支部は、
前記上枠、前記左縦枠又は前記右縦枠において、前記上枠、前記左縦枠又は前記右縦枠から突設されており、先端が上向きとなるように前記上側ピボット軸が設けられている支持部と、前記開き扉から突設されるとともに、前記支持部の上方に設けられており、前記上側ピボット軸を支承する前記上側ピボット軸の支承部と、を備え、
前記支持部において、前記上側ピボット軸の支承部を下方から支持可能とすることより、落扉防止機能を奏するように構成されており、
前記下側軸支部は、
前記下枠に取り付けられ、前記下側ピボット軸が設けられている支持部と、
前記開き扉の下縁部に設けられている前記下側ピボット軸の抜止具と、を備え、
前記下側ピボット軸の抜止具は、
基体と、前記下側ピボット軸の抜出防止体と、を有し、
前記基体には、前記下側ピボット軸を保持するための保持部が形成されており、
前記下側ピボット軸は、前記保持部に回動自在に保持され、
前記抜出防止体は、前記下側ピボット軸が前記保持部から移動することを制限可能となるように設けられていること、を特徴とする軸釣装置。
【請求項3】
前記下側ピボット軸の抜出防止体は、
前記保持部を閉鎖する向きに付勢力を付与する付勢手段を備えており、
前記下側ピボット軸の前記保持部への侵入時に前記保持部を解放可能であり、
前記下側ピボット軸の前記保持部への侵入終了時に前記保持部を閉塞可能となるように構成されていること、を特徴とする請求項1又は請求項2に記載の軸釣装置。
発明の詳細な説明
【技術分野】
【0001】
本発明は、上下軸支部に設けられているピボット軸を支軸として開き扉を扉枠に回動可能に軸釣する軸釣装置に関する。
続きを表示(約 2,600 文字)
【背景技術】
【0002】
従来から、外観を考慮した開き扉用のヒンジ装置として、上下の軸支部に備えたピボット軸で開き扉を軸支して回動可能に扉枠の上下隅部に吊り込む、ピボットヒンジ型の軸釣装置が使用されている。
【0003】
上記軸釣装置に関し、出願人は、上側のヒンジ部を有する上吊り手段と、下側のヒンジ部を有する下吊り手段と、を備え、上側のヒンジ部に設けられている上側ピボット軸と、下側のヒンジ部に設けられている下側ピボット軸と、を支軸として、開き扉を扉枠に回動可能に軸釣する軸釣装置において、その構成要素である上吊り手段を提案している。この上吊り手段は、扉枠に取り付けられ、上側ピボット軸が設けられている支持具と、開き扉の上縁部に設けられている上側ピボット軸の抜止具と、を備えている。そして、抜止具は、基体と、上側ピボット軸の抜け出しを防止するための抜出防止体と、を有しており、基体には上側ピボット軸を挟持するための保持部が形成されているとともに、保持部の開口部が開閉自在となるように、抜出防止体が設けられていることを特徴としている(特許文献1)。
【先行技術文献】
【特許文献】
【0004】
特開2023-31905号公報
【発明の概要】
【発明が解決しようとする課題】
【0005】
ところで、従来の軸釣装置を用いて、開き扉を扉枠に吊り込む場合には、下側ピボット軸を扉枠に取り付け、その後、上側ピボット軸を上部軸支部の保持部に挿通させ、抜出防止体により保持させる作業を行うことになる。しかし、その場合には、上部ピボット軸の長さ以上の「ちり寸法」(扉枠と開き扉の隙間寸法)が必要となり、意匠的に見栄えが悪くなるという問題点を有していた。
一方、この問題点に対して、ちり寸法を短くするためには、開き扉の戸尻側における木口面の所定位置に、上部ピボット軸の誘導溝を形成する必要があり、加工が煩雑になってしまうという問題点を有していた。
【0006】
また、従来の上釣装置の上吊り手段を屋外の開き扉に使用する場合には、軸釣装置の一部が腐食等をし、開き扉が落下するおそれがあった。
【0007】
本発明は、上記各問題点を解決するためになされたものであり、簡易な構造であり、ちり寸法を可能な限り短くすることが可能となるとともに、開き扉の落下を防止することが可能となる軸釣装置を提供することを課題としている。
【課題を解決するための手段】
【0008】
上記目的を達成するために、本発明の軸釣装置(以下、本発明を「本軸釣装置」という場合がある。)は、開き扉の上端部における上側軸支部に設けられている上側ピボット軸(回動軸)と、上記開き扉の下端部における下側軸支部に設けられている下側ピボット軸(回動軸)と、を支軸として、上記開き扉を、少なくとも上枠、左縦枠及び右縦枠を有する扉枠(下枠が設けられるものであってもよい)に回動自在に軸釣する軸釣装置において、上記上側軸支部は、上記上枠、上記左縦枠又は上記右縦枠において、上記上枠、上記左縦枠又は上記右縦枠から突設されており、先端が上向きとなるように上記上側ピボット軸が設けられている支持部と、上記開き扉から突設されるとともに、上記支持部の上方に設けられており、上記上側ピボット軸を支承(枢支)する上記上側ピボット軸の支承部と、を備え、上記支持部において、上記上側ピボット軸の支承部を下方から支持可能とすることより、落扉防止機能を奏するように構成されており、上記下側軸支部は、上記左縦枠、上記右縦枠又は上記扉枠が設けられている床面に取り付けられ、上記下側ピボット軸が設けられている支持部と、上記開き扉の下縁部に設けられている上記下側ピボット軸の抜止具と、を備え、上記下側ピボット軸の抜止具は、基体と、上記下側ピボット軸の抜け出しを防止するための抜出防止体と、を有し、上記基体には、上記下側ピボット軸を保持するための保持部が形成されており、上記下側ピボット軸は、上記保持部に回動自在に保持され、上記抜出防止体は、上記下側ピボット軸の保持部への侵入時には保持部の内部に移動可能であり、上記下側ピボット軸が上記保持部から移動することを制限可能となるように設けられていること、を特徴としている。
【0009】
また、本軸釣装置は、開き扉の上端部における上側軸支部に設けられている上側ピボット軸(回動軸)と、上記開き扉の下端部における下側軸支部に設けられている下側ピボット軸(回動軸)と、を支軸として、上記開き扉を、少なくとも上枠、下枠、左縦枠及び右縦枠を有する扉枠(四周枠)に回動自在に軸釣する軸釣装置において、上記上側軸支部は、上記上枠、上記左縦枠又は上記右縦枠において、上記上枠、上記左縦枠又は上記右縦枠から突設されており、先端が上向きとなるように上記上側ピボット軸が設けられている支持部と、上記開き扉に取付けられている上記上側ピボット軸の支承部と、上記開き扉から突設されるとともに、上記支持部の上方に設けられており、上記上側ピボット軸を支承する上記上側ピボット軸の支承部と、を備え、上記支持部において、上記上側ピボット軸の支承部を下方から支持可能とすることより、落扉防止機能を奏するように構成されており、上記下側軸支部は、上記下枠に取り付けられ、上記下側ピボット軸が設けられている支持部と、上記開き扉の下縁部に設けられている上記下側ピボット軸の抜止具と、を備え、上記下側ピボット軸の抜止具は、基体と、上記下側ピボット軸の抜け出しを防止するための抜出防止体と、を有し、上記基体には、上記下側ピボット軸を保持するための保持部が形成されており、上記下側ピボット軸は、上記保持部に回動自在に保持され、上記抜出防止体は、上記下側ピボット軸の保持部への侵入時には保持部の内部に移動可能であり、上記下側ピボット軸が上記保持部から移動することを制限可能となるように設けられていること、を特徴としている。
【0010】
なお、上側軸支部を、上枠ではなく、左縦枠又は右縦枠に取付けることとすれば、重量が重い場合であってもさらに安定的に開き扉を支持することができるため好適である。
(【0011】以降は省略されています)
この特許をJ-PlatPat(特許庁公式サイト)で参照する
関連特許
株式会社ベスト
軸釣装置の上吊り手段
14日前
個人
物品保管箱
3か月前
個人
防犯用ドア装置
3か月前
個人
ピンシリンダー錠。
4か月前
個人
二重ロック機能付小物入れ
3か月前
個人
ポスト機能付き手提げ金庫
2か月前
株式会社ベスト
軸釣装置
22日前
個人
顔認証による入室システム
4か月前
株式会社ソリック
ドア装置
1か月前
ミサワホーム株式会社
錠受具
4か月前
三協立山株式会社
開口部装置
3か月前
株式会社アルファ
電気錠
3か月前
リョービ株式会社
ドアクローザ
4か月前
個人
無人貸金庫システム
2か月前
リョービ株式会社
ドアクローザ
4か月前
株式会社ベスト
扉及び個室
1か月前
トヨタ自動車株式会社
車両
1か月前
株式会社ベスト
開き扉の開閉装置
3か月前
積水ハウス株式会社
引き戸
2か月前
積水ハウス株式会社
引き戸
1か月前
株式会社セリュール
電子錠、電気錠装置
14日前
株式会社セリュール
電子錠、電気錠装置
14日前
有限会社シティング
引き戸
2か月前
株式会社榮伸
カバン蓋の係止装置
3か月前
ミネベアショウワ株式会社
ドア装置
3か月前
コイト電工株式会社
蝶番の取付構造
1か月前
朝日電装株式会社
車両用ロック装置
6日前
ミネベアショウワ株式会社
ドア装置
3か月前
スズキ株式会社
車両用乗員保護装置
2か月前
美和ロック株式会社
IDキー
3か月前
株式会社LIXIL
建具
1か月前
神田工業株式会社
解錠システム
4か月前
株式会社ユニオン
ドアハンドル
2か月前
株式会社アイシン
操作検出装置
今日
株式会社ベスト
軸釣装置の上吊り手段
14日前
株式会社アイシン
ドア支持装置
1か月前
続きを見る
他の特許を見る