TOP
|
特許
|
意匠
|
商標
特許ウォッチ
Twitter
他の特許を見る
公開番号
2025172386
公報種別
公開特許公報(A)
公開日
2025-11-26
出願番号
2024077871
出願日
2024-05-13
発明の名称
操作検出装置
出願人
株式会社アイシン
代理人
個人
,
個人
主分類
E05F
15/73 20150101AFI20251118BHJP(錠;鍵;窓または戸の付属品;金庫)
要約
【課題】ユーザが車両ドアを開作動させるための操作を行ったか否かを精度良く検出できる操作検出装置を提供する。
【解決手段】操作検出装置80は、第2エリアA2を第1エリアA1に向かって移動する人物を車両のユーザであると判定するユーザ判定部84と、ユーザ判定部84によってユーザであると判定された人物が第1エリアA1でジェスチャを行ったか否かを判定するジェスチャ判定部86と、を備える。
【選択図】図1
特許請求の範囲
【請求項1】
ドア開口部を全閉する全閉位置から車両ドアを開作動させるためのユーザの開操作を検出する操作検出装置であって、
前記ドア開口部の周囲のエリアのうち、前記ドア開口部に近いエリアを第1エリアとし、前記第1エリアよりも前記ドア開口部から遠いエリアを第2エリアとしたとき、
少なくとも前記第2エリアに存在する動体を検出可能な動体検出部の検出結果に基づいて、前記第2エリアを前記第1エリアに向かって移動する前記動体を前記ユーザであると判定し、前記第2エリアを前記第1エリアに向かって移動しない前記動体を前記ユーザではないと判定するユーザ判定部と、
前記ユーザ判定部によって前記ユーザであると判定された前記動体が前記第1エリアで前記開操作を行ったか否かを判定する操作判定部と、を備える
操作検出装置。
続きを表示(約 600 文字)
【請求項2】
前記動体検出部は、前記第1エリア及び前記第2エリアを撮影可能なカメラであり、
前記開操作は、前記ユーザが前記ユーザの身体部位を動かすジェスチャであり、
前記ユーザ判定部は、前記カメラが異なるタイミングで撮影した複数の画像に基づいて、前記第2エリアを前記第1エリアに向かって移動する前記動体を前記ユーザであると判定し、前記第2エリアを前記第1エリアに向かって移動しない前記動体を前記ユーザではないと判定し、
前記操作判定部は、前記カメラが異なるタイミングで撮影した複数の画像に基づいて、前記ユーザ判定部によって前記ユーザであると判定された前記動体が前記第1エリアで前記ジェスチャを行ったか否かを判定する
請求項1に記載の操作検出装置。
【請求項3】
前記ユーザ判定部は、第1期間における前記動体の移動量を前記第1期間で除することによって第1速度を演算し、前記第1速度に基づいて前記動体が前記ユーザであるか否かを判定する
請求項1又は請求項2に記載の操作検出装置。
【請求項4】
前記ユーザ判定部は、前記第1期間よりも短い第2期間における前記動体の移動量を前記第2期間で除することによって第2速度を演算し、前記第2速度に基づいて前記動体が前記ユーザであるか否かを判定する
請求項3に記載の操作検出装置。
発明の詳細な説明
【技術分野】
【0001】
本発明は、操作検出装置に関する。
続きを表示(約 1,700 文字)
【背景技術】
【0002】
特許文献1には、ドア開口部を有する車体と、ドア開口部を開閉するドアと、ドアを駆動する開閉モータと、ドアの周囲を検出エリアとするレーザレーダと、レーザレーダの検出結果に基づいて開閉モータを制御するドアECUと、を備える車両が記載されている。ドアECUは、レーザレーダの検出結果に基づいて、ユーザがドアを開作動させるためのジェスチャを行ったか否かを判定する。そして、ドアECUは、ユーザが上記ジェスチャを行ったと判定した場合、スライドドアの開作動を開始する。
【先行技術文献】
【特許文献】
【0003】
特開2013-7171号公報
【発明の概要】
【発明が解決しようとする課題】
【0004】
上記のようなドアECUは、ジェスチャの誤判定によってスライドドアを開作動させないように、ジェスチャの判定精度を高めることが望まれている。
【課題を解決するための手段】
【0005】
上記課題を解決する操作検出装置は、ドア開口部を全閉する全閉位置から車両ドアを開作動させるためのユーザの開操作を検出する操作検出装置であって、前記ドア開口部の周囲のエリアのうち、前記ドア開口部に近いエリアを第1エリアとし、前記第1エリアよりも前記ドア開口部から遠いエリアを第2エリアとしたとき、少なくとも前記第2エリアに存在する動体を検出可能な動体検出部の検出結果に基づいて、前記第2エリアを前記第1エリアに向かって移動する前記動体を前記ユーザであると判定し、前記第2エリアを前記第1エリアに向かって移動しない前記動体を前記ユーザではないと判定するユーザ判定部と、前記ユーザ判定部によって前記ユーザであると判定された前記動体が前記第1エリアで前記開操作を行ったか否かを判定する操作判定部と、を備える。
【発明の効果】
【0006】
操作検出装置は、ユーザが車両ドアを開作動させるための開操作を行ったか否かを精度良く検出できる。
【図面の簡単な説明】
【0007】
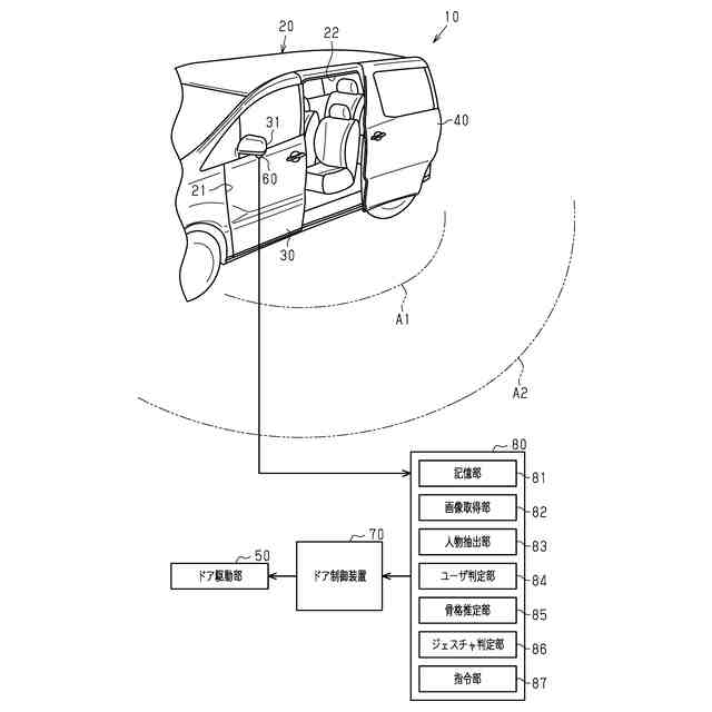
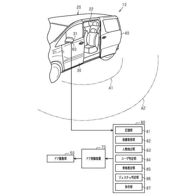
図1は、操作検出装置を備える車両の模式図である。
図2は、カメラが撮影した所定のフレームにおける画像である。
図3は、カメラが撮影した上記フレームの次のフレームにおける画像である。
図4は、ユーザのジェスチャを検出するために操作検出装置が実行する処理の流れを示すフローチャートである。
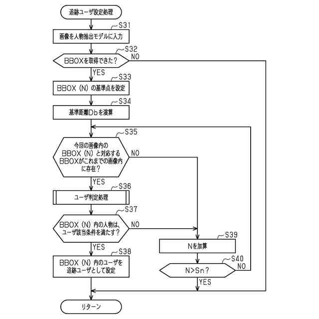
図5は、追跡ユーザ設定処理の流れを説明するフローチャートである。
図6は、ユーザ判定処理の流れを説明するフローチャートである。
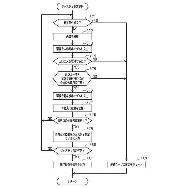
図7は、ジェスチャ判定処理の流れを説明するフローチャートである。
【発明を実施するための形態】
【0008】
以下、操作検出装置を備える車両の一実施形態について説明する。
<本実施形態の構成>
図1に示すように、車両10は、車体20と、フロントドア30と、リアドア40と、ドア駆動部50と、カメラ60と、ドア制御装置70と、操作検出装置80と、を備える。
【0009】
以降の説明では、車両10の前後方向、車両10の幅方向及び車両10の上下方向をそれぞれ前後方向、幅方向及び上下方向という。また、幅方向において、車両中央に向かう方向を内方といい、車両中央から離れる方向を外方という。
【0010】
<車体20>
車体20は、車体20の側面に開口するフロント開口部21及びリア開口部22を有する。フロント開口部21及びリア開口部22は前後方向に隣り合っている。フロント開口部21は、リア開口部22よりも前方に位置している。フロント開口部21及びリア開口部22は、車両10のユーザが車両10を乗降する際に通過する部分である。本実施形態において、ユーザは、車両10と紐付けられた携帯機を所持する運転者である。言い換えれば、ユーザは、車両10のオーナである。ユーザは、運転者の家族など、車両10と関係付けられた乗員を含んでもよい。本実施形態において、リア開口部22は「ドア開口部」に相当している。
(【0011】以降は省略されています)
この特許をJ-PlatPat(特許庁公式サイト)で参照する
関連特許
個人
ポスト機能付き手提げ金庫
2か月前
株式会社ベスト
軸釣装置
22日前
株式会社ソリック
ドア装置
1か月前
三協立山株式会社
開口部装置
3か月前
個人
無人貸金庫システム
2か月前
積水ハウス株式会社
引き戸
1か月前
株式会社榮伸
カバン蓋の係止装置
3か月前
有限会社シティング
引き戸
2か月前
株式会社ベスト
扉及び個室
1か月前
積水ハウス株式会社
引き戸
2か月前
株式会社セリュール
電子錠、電気錠装置
14日前
株式会社セリュール
電子錠、電気錠装置
14日前
トヨタ自動車株式会社
車両
1か月前
株式会社ベスト
開き扉の開閉装置
3か月前
コイト電工株式会社
蝶番の取付構造
1か月前
ミネベアショウワ株式会社
ドア装置
3か月前
ミネベアショウワ株式会社
ドア装置
3か月前
朝日電装株式会社
車両用ロック装置
6日前
スズキ株式会社
車両用乗員保護装置
2か月前
株式会社アイシン
ドア支持装置
1か月前
株式会社LIXIL
建具
3か月前
株式会社ベスト
軸釣装置の上吊り手段
14日前
株式会社アイシン
操作検出装置
今日
株式会社LIXIL
建具
1か月前
株式会社ユニオン
ドアハンドル
2か月前
株式会社ナガエ
宅配ボックス用の錠装置
2か月前
株式会社アイシン
車両用ドア装置
1か月前
芝浦電子工業株式会社
遠隔解錠システム
27日前
日本プラスト株式会社
ロック装置
3か月前
株式会社アイシン
車両用ドア装置
1か月前
スガツネ工業株式会社
上吊式引戸
19日前
株式会社アイシン
車両用ドア装置
1か月前
トヨタ自動車株式会社
警報制御装置
2か月前
株式会社アイシン
キックセンサ
19日前
大和ハウス工業株式会社
間仕切り機構
1か月前
トヨタ自動車株式会社
車両の制御装置
3か月前
続きを見る
他の特許を見る