TOP
|
特許
|
意匠
|
商標
特許ウォッチ
Twitter
他の特許を見る
公開番号
2025162294
公報種別
公開特許公報(A)
公開日
2025-10-27
出願番号
2024065488
出願日
2024-04-15
発明の名称
ドア装置
出願人
株式会社ソリック
代理人
個人
主分類
E05F
15/643 20150101AFI20251020BHJP(錠;鍵;窓または戸の付属品;金庫)
要約
【課題】
タイミングベルトのプーリに対するズレを修正することが可能な構造を備えたドア装置を提供すること。
【解決手段】
本発明に係るドア装置は、ドア装置を建物に取り付けるためのドア装置ベースと、前記ドア装置ベースに設けられた一対のプーリ間に無端タイミングベルトを掛け回し、前記タイミングベルトに連結具を介して取り付けられるドアとを備えたドア装置において、前記プーリの一方又は両方が、ドア装置ベースにプーリ台座組立体を介して固定されたシャフトに回動自在に設けられ、前記プーリ台座組立体が、前記シャフトの回転軸線とタイミングベルトの延伸方向との間の角度を変更可能に構成されていることを特徴とする。
【選択図】 図4
特許請求の範囲
【請求項1】
ドア装置を建物に取り付けるためのドア装置ベースと、
前記ドア装置ベースに設けられた一対のプーリ間に無端タイミングベルトを掛け回し、前記タイミングベルトに連結具を介して取り付けられるドアと
を備えたドア装置において、
前記プーリの一方又は両方が、ドア装置ベースにプーリ台座組立体を介して固定されたシャフトに回動自在に設けられ、
前記プーリ台座組立体が、前記シャフトの回転軸線とタイミングベルトの延伸方向との間の角度を変更可能に構成されている
ことを特徴とするドア装置。
続きを表示(約 1,100 文字)
【請求項2】
前記ドア装置ベースに、モータと、モータからの駆動力が伝達される減速機とを有する駆動ユニットが設けられ、
前記駆動ユニットの減速機に組み込まれた第一シャフトに、前記一対のプーリの一方が主動プーリとして組付けられ、
前記一対のプーリの他方が、ドア装置ベースにプーリ台座組立体を介して固定されたシャフトに回動自在に従動プーリとして設けられ、
前記プーリ台座組立体が、前記従動プーリのシャフトの回転軸線とタイミングベルトの延伸方向との間の角度を変更可能に構成されている
ことを特徴とする請求項1に記載のドア装置。
【請求項3】
前記プーリ台座組立体が、
タイミングベルトの延伸方向に沿って向き合うようにドア装置ベースに固定された第一プーリ台座部材と、第二プーリ台座部材とを備え、
前記第一プーリ台座部材が、板状体を折り曲げて成り、タイミングベルトの延伸方向に延び、ドア装置ベースに固定される基部と、基部の一端からタイミングベルトの延伸方向に直交する方向に立ち上がる直立部と、直立部の上端からタイミングベルトの延伸方向に延び、第二シャフトが固定されるシャフト支持部とを備え、
前記第二プーリ台座部材が、板状体をL字状に折り曲げて成り、タイミングベルトの延伸方向に延び、ドア装置ベースに固定される基部と、基部の一端からタイミングベルトの延伸方向に直交する方向に立ち上がる直立部とを備え、
前記第一プーリ台座部材と、第二プーリ台座部材とが、タイミングベルトの延伸方向に沿って、それらの直立部が向き合うように配置され、
前記第一プーリ台座部材及び第二プーリ台座部材の直立部に、第一プーリ台座部材及び第二プーリ台座部材をドア装置ベースに固定した時に対向する位置に開口が各々形成され、
該プーリ台座組立体が、さらに、第二プーリ台座部材側から、第二プーリ台座部材の開口と、第一プーリ台座部材の開口とを貫通するように取り付けられる調整ボルトを備え、
前記調整ボルトによって、第一プーリ台座部材の直立部に対してタイミングベルトの延伸方向の応力を加え、従動プーリの回転軸線とタイミングベルトの延伸方向との間の角度を変更するように構成した
ことを特徴とする請求項1又は2に記載のドア装置。
【請求項4】
前記タイミングベルトを無端状に連結するタイミングベルト連結用具を備え、
前記タイミングベルト連結用具が、前記タイミングベルトの張力を調整可能に構成され、
前記ドアを取り付ける連結具が、前記タイミングベルト連結用具に固定されている
ことを特徴とする請求項1又は2に記載のドア装置。
発明の詳細な説明
【技術分野】
【0001】
本発明は、一対のプーリ間に掛け渡されたベルトに連結具を介してドアが取り付けられた構造のドア装置におけるタイミングベルトのプーリに対するズレを修正する構造を備えたドア装置に関する。
続きを表示(約 9,100 文字)
【背景技術】
【0002】
従来、ドアを自動的に開閉させる自動ドア装置100としては、図6に示すように、自動ドア装置100を建物に取り付けるための自動ドア装置ベース102と、該自動ドア装置ベース102に取り付けられる駆動ユニット104と、該駆動ユニット104により開閉動作するドア106とを備えた自動ドア装置100がある(特許文献1)。
前記駆動ユニット104は、モータ110と、モータ110からの駆動力が伝達される減速機112とを備え、前記減速機112に組み込まれた第一シャフト114に、主動プーリとして機能するプーリ116が組み付けられている。前記主動プーリ116からドア106の移動方向に離間した位置には、第二シャフト118が固定されたプーリ台座120が固定されており、該第二シャフト118には従動プーリとして機能するプーリ122が回動自在に設けられている。
図7は、図8における一部断面概略B-B線視図であり、図面に示すように、第二シャフト118が固定されるプーリ台座120は、板状体をコ字状に折り曲げてなる。具体的には、前記プーリ台座120は、タイミングベルト124の延伸方向L1(図7参照)に直交する方向に延びる基部120aと、基部120aの一端からタイミングベルト124の延伸方向に直交する方向に立ち上がる直立部120bと、直立部120bの上端からタイミングベルト124の延伸方向に直交する方向に延び、従動プーリ用の第二シャフト118が固定されるシャフト支持部120cとを備えている。
一方、自動ドア装置ベース102には、タイミングベルト124の延伸方向に延びるように断面T字状の一対のアルミレール102aが一体に形成されており、前記一対のアルミレール102aと自動ドア装置ベース102との間に形成された溝に、ボルト103aが固定された座板103bを挿入して位置合わせをした後に、前記ボルト103aを、プーリ台座120の基部102aに形成された孔(符号なし)に挿入し、アルミレール102aとナット120dで基部120aを挟み込んで固定することで、プーリ台座120を自動ドア装置ベース102に固定している。
前記主動プーリ116と従動プーリ122とにはタイミングベルト124が巻きまわされ、前記タイミングベルト124は、タイミングベルト連結用具126によって無端状に連結されている。
前記タイミングベルト124には、前記タイミングベルト連結用具126に組み付けられた連結具128を介してドア106が取り付けられている。
上記したように構成された自動ドア装置100によれば、モータ110からの駆動力によってタイミングベルト124を正方向又は逆方向に駆動することで、ドア106が開閉される。
【先行技術文献】
【特許文献】
【0003】
特開2016-180204号公報
【発明の概要】
【発明が解決しようとする課題】
【0004】
上記した従来の自動ドア装置100によれば、タイミングベルト124を、タイミングベルト連結用具126によって無端状に連結するように構成されているところ、前記タイミングベルト連結用具126によってタイミングベルト124の張力を調整することができるように構成されているので、建物に取り付けるドアのサイズや重量に応じてタイミングベルト124の張力を調整することができる。
しかしながら、自動ドア装置100を設置後、時間の経過と共に、タイミングベルト124がドア106の重さや、タイミングベルト124の馴染みによる伸びによって引っ張られ、従動プーリ122に対するタイミングベルト124の位置がズレ(図7参照)、タイミングベルト124の側縁辺124aが従動プーリ122のフランジ122aに接触して擦れ音を発生するという問題があった。
この擦れ音は、タイミングベルト124と従動プーリ122との間に潤滑剤を入れることによって解決されるが、擦れそのものが解消されるわけではないので根本的な解決にはならず、また、潤滑剤を入れることによって埃や塵等が付着し易くなりタイミングベルト124のメンテナンスの頻度が上がるという問題が生じる。
この問題は、自動ドア装置に限らず、一対のプーリ間に掛け渡されたベルトに連結具を介してドアが取り付けられた構造のドア装置であれば、手動又は半自動のドア装置においても生じる。
本発明は、上記した従来の問題点を解決し、タイミングベルトのプーリに対するズレを修正することが可能な構造を備えたドア装置を提供することを目的としている。
【課題を解決するための手段】
【0005】
上記した目的を達成するために、本発明に係るドア装置は、ドア装置を建物に取り付けるためのドア装置ベースと、前記ドア装置ベースに設けられた一対のプーリ間に無端タイミングベルトを掛け回し、前記タイミングベルトに連結具を介して取り付けられるドアとを備えたドア装置において、前記プーリの一方又は両方が、ドア装置ベースにプーリ台座組立体を介して固定されたシャフトに回動自在に設けられ、前記プーリ台座組立体が、前記シャフトの回転軸線とタイミングベルトの延伸方向との間の角度を変更可能に構成されていることを特徴とする。
また、ドア装置を、駆動ユニットを用いた自動ドア装置又は半自動ドア装置として構成する場合、前記ドア装置ベースに、モータと、モータからの駆動力が伝達される減速機とを有する駆動ユニットを設け、前記駆動ユニットの減速機に組み込まれた第一シャフトに、前記一対のプーリの一方が主動プーリとして組付け、前記一対のプーリの他方を、ドア装置ベースにプーリ台座組立体を介して固定されたシャフトに回動自在に従動プーリとして設け、前記従動プーリのシャフトが設けられたプーリ台座組立体を、前記従動プーリのシャフトの回転軸線とタイミングベルトの延伸方向との間の角度を変更可能に構成し得る。
好ましくは、前記プーリ台座組立体は、タイミングベルトの延伸方向に沿って向き合うようにドア装置ベースに固定された第一プーリ台座部材と、第二プーリ台座部材とを備え、前記第一プーリ台座部材が、板状体を折り曲げて成り、タイミングベルトの延伸方向に延び、自動ドア装置ベースに固定される基部と、基部の一端からタイミングベルトの延伸方向に直交する方向に立ち上がる直立部と、直立部の上端からタイミングベルトの延伸方向に延び、第二シャフトが固定されるシャフト支持部とを備え、前記第二プーリ台座部材が、板状体をL字状に折り曲げて成り、タイミングベルトの延伸方向に延び、ドア装置ベースに固定される基部と、基部の一端からタイミングベルトの延伸方向に直交する方向に立ち上がる直立部とを備え、前記第一プーリ台座部材と、第二プーリ台座部材とが、タイミングベルトの延伸方向に沿って、それらの直立部が向き合うように配置され、前記第一プーリ台座部材及び第二プーリ台座部材の直立部に、第一プーリ台座部材及び第二プーリ台座部材を自動ドア装置ベースに固定した時に対向する位置に開口が各々形成され、該プーリ台座組立体が、さらに、第二プーリ台座部材側から、第二プーリ台座部材の開口と第一プーリ台座部材の開口とを貫通するように取り付けられる調整ボルトを備え、前記調整ボルトによって、第一プーリ台座部材の直立部に対してタイミングベルトの延伸方向の応力を加え、従動プーリの回転軸線とタイミングベルトの延伸方向との間の角度を変更するように構成したことを特徴とする。
さらに好ましくは、前記ドア装置は、さらに、前記タイミングベルトを無端状に連結するタイミングベルト連結用具を備え、前記タイミングベルト連結用具が、前記タイミングベルトの張力を調整可能に構成され、前記ドアを取り付ける連結具が、前記タイミングベルト連結用具に固定されていることを特徴とする。
【発明の効果】
【0006】
本発明に係るドア装置は、ドア装置を建物に取り付けるためのドア装置ベースと、前記ドア装置ベースに設けられた一対のプーリ間に無端タイミングベルトを掛け回し、前記タイミングベルトに連結具を介して取り付けられるドアとを備えたドア装置において、前記プーリの一方又は両方が、ドア装置ベースにプーリ台座組立体を介して固定されたシャフトに回動自在に設けられ、前記プーリ台座組立体が、前記シャフトの回転軸線とタイミングベルトの延伸方向との間の角度を変更可能に構成されているので、タイミングベルトのプーリに対する位置がずれてきた場合に、プーリ台座組立体によってプーリのシャフトの回転軸線とタイミングベルトの延伸方向との間の角度を変更することで、タイミングベルトのプーリに対する位置を修正することが可能になる。具体的には、タイミングベルトの側縁辺がプーリのフランジから離れる方向に、プーリのシャフトの回転軸線とタイミングベルトの延伸方向との間の角度を変更することで、タイミングベルトの側縁辺をプーリのフランジから離すことが可能になる。
上記した構成は、一対のプーリ間に掛け渡されたベルトに連結具を介してドアが取り付けられた構造のドア装置であれば、手動のドア装置、半自動のドア装置及び自動ドア装置の何れにも適用することが可能であり、手動のドア装置の場合には、一対のプーリの一方又は両方にプーリのシャフトの回転軸線とタイミングベルトの延伸方向との間の角度を変更可能な構造を有するプーリ台座組立体が設けられ得、半自動又は自動ドア装置の場合には、従動プーリとして機能するプーリに、プーリのシャフトの回転軸線とタイミングベルトの延伸方向との間の角度を変更可能な構造を有するプーリ台座組立体が設けられ得る。
前記ドア装置を、駆動ユニットを用いた自動ドア装置又は半自動ドア装置として構成する場合、前記ドア装置ベースに、モータと、モータからの駆動力が伝達される減速機とを有する駆動ユニットを設け、前記駆動ユニットの減速機に組み込まれた第一シャフトに、前記一対のプーリの一方が主動プーリとして組付け、前記一対のプーリの他方を、ドア装置ベースにプーリ台座組立体を介して固定されたシャフトに回動自在に従動プーリとして設け、前記従動プーリのシャフトが設けられたプーリ台座組立体を、前記従動プーリのシャフトの回転軸線とタイミングベルトの延伸方向との間の角度を変更可能に構成することで、タイミングベルトの従動プーリに対する位置がずれてきた場合に、プーリ台座組立体によって従動プーリのシャフトの回転軸線とタイミングベルトの延伸方向との間の角度を変更して、タイミングベルトの従動プーリに対する位置を修正することが可能になる。
また、前記プーリ台座組立体に、タイミングベルトの延伸方向に沿って向き合うようにドア装置ベースに固定された第一プーリ台座部材と、第二プーリ台座部材とを設け、前記第一プーリ台座部材が、板状体を折り曲げて成り、タイミングベルトの延伸方向に延び、ドア装置ベースに固定される基部と、基部の一端からタイミングベルトの延伸方向に直交する方向に立ち上がる直立部と、直立部の上端からタイミングベルトの延伸方向に延び、第二シャフトが固定されるシャフト支持部とを備え、前記第二プーリ台座部材が、板状体をL字状に折り曲げて成り、タイミングベルトの延伸方向に延び、ドア装置ベースに固定される基部と、基部の一端からタイミングベルトの延伸方向に直交する方向に立ち上がる直立部とを備え、前記第一プーリ台座部材と、第二プーリ台座部材とが、タイミングベルトの延伸方向に沿って、それらの直立部が向き合うように配置され、前記第一プーリ台座部材及び第二プーリ台座部材の直立部に、第一プーリ台座部材及び第二プーリ台座部材を自動ドア装置ベースに固定した時に対向する位置に開口が各々形成され、該プーリ台座組立体が、さらに、第二プーリ台座部材側から、第二プーリ台座部材の開口と第一プーリ台座部材の開口とを貫通するように取り付けられる調整ボルトを備え、前記調整ボルトによって、第一プーリ台座部材の直立部に対してタイミングベルトの延伸方向の応力を加え、従動プーリの回転軸線とタイミングベルトの延伸方向との間の角度を変更するように構成することで、調整ボルトの調整だけで従動プーリの回転軸線とタイミングベルトの延伸方向との間の角度を調整することが可能になり、タイミングベルトの従動プーリに対する位置を調整することが可能になる。
さらに、前記タイミングベルトを無端状に連結するタイミングベルト連結用具を設け、前記タイミングベルト連結用具を、前記タイミングベルトの張力を調整可能に構成し、前記ドアを取り付ける連結具を前記タイミングベルト連結用具に固定することで、タイミングベルト連結用具を用いてドア装置を取り付ける建物やドアのサイズや重量に応じてタイミングベルトの張力を調整することが可能になり、かつ、ドア装置の取り付け後に、必要に応じて、プーリ台座組立体を用いてタイミングベルトの従動プーリに対する位置を修正することが可能になる。
【図面の簡単な説明】
【0007】
本発明に係るドア装置の一実施例としての自動ドア装置の構成を示す概略図である。
プーリ台座組立体の図1における概略A-A線視図である。
タイミングベルトの従動プーリに対する位置がずれた状態を示す図2に対応する図である。
プーリ台座組立体を用いて従動プーリの回転軸線のタイミングベルトの延伸方向に対する角度を変更し、タイミングベルトの従動プーリに対する位置を調整した状態を示す図2に対応する図である。
本発明に係るドア装置の第二の実施例としての手動ドア装置の構成を示す概略図である。
従来の自動ドア装置の構成を示す概略図である。
従動プーリ用の第二シャフトを支持するプーリ台座の図6における一部断面概略B-B線視図である。
タイミングベルトの従動プーリに対する位置がずれた状態を示す図7に対応する図である。
【発明を実施するための形態】
【0008】
以下、添付図面に示した一実施例を参照して本発明に係るドア装置の実施の形態を説明していく。
図1は、本発明に係るドア装置の第一実施例としての自動ドア装置の構成を示す概略正面図である。
図中、符号1は自動ドア装置を示しており、この自動ドア装置1は、自動ドア装置1を建物に取り付けるための自動ドア装置ベース2と、該自動ドア装置ベース2に取り付けられる駆動ユニット4と、該駆動ユニット4により開閉動作するドア6とを備えている。
前記駆動ユニット4は、モータ10と、モータ10からの駆動力が伝達される減速機12とを備え、前記減速機12に組み込まれた第一シャフト14に、主動プーリとして機能するプーリ16が組み付けられている。前記主動プーリ16からドア6の移動方向に離間した位置には、第二シャフト18が固定されたプーリ台座組立体20が固定されており、該シャフト18には従動プーリとして機能するプーリ22が回動自在に設けられている。
前記主動プーリ16と従動プーリ22とにはタイミングベルト24が巻きまわされ、前記タイミングベルト24は、タイミングベルト連結用具26によって無端状に連結されている。タイミングベルト連結用具26は、従来公知の連結用具であり、タイミングベルト24の張力を調整可能にタイミングベルト24を無端状に連結するように構成されている。
前記タイミングベルト24には、前記タイミングベルト連結用具26に組み付けられた連結具28を介してドア6が取り付けられている。
上記したように構成された自動ドア装置1によれば、モータ10からの駆動力によってタイミングベルト24を正方向又は逆方向に駆動することで、ドア6が開閉される。
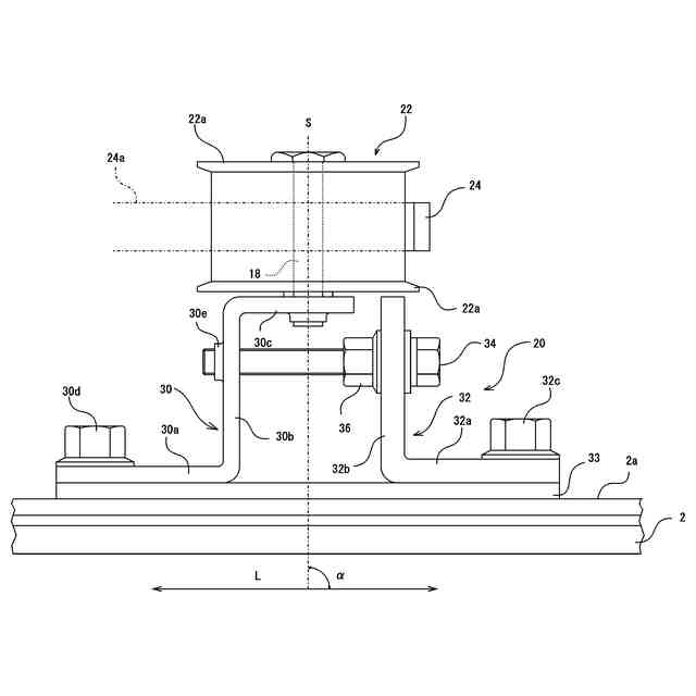
【0009】
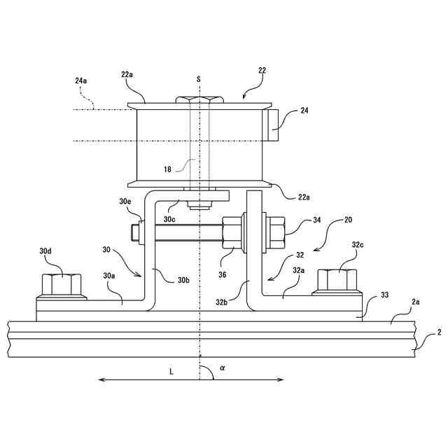
図2は、前記プーリ台座組立体20の図1における概略A-A線視図である。図中、矢印Lは、タイミングベルト24の延伸方向を示している。
図2に示すように、プーリ台座組立体20は、第一プーリ台座部材30と、第二プーリ台座部材32と、前記第一プーリ台座部材30及び第二プーリ台座部材32が固定された板状ベース台座部材33とを備え、タイミングベルト24の延伸方向Lに沿って向き合うように自動ドア装置ベース2に固定される。
第一プーリ台座部材30は、板状体を階段状に折り曲げて成り、具体的には、タイミングベルト24の延伸方向に延び、自動ドア装置ベース2に固定される基部30aと、基部30aの一端からタイミングベルト24の延伸方向に直交する方向に立ち上がる直立部30bと、直立部30bの上端からタイミングベルト24の延伸方向に延び、第二シャフト18が固定されるシャフト支持部30cとを備えている。
第二プーリ台座部材32は、第一プーリ台座部材30の板状体より肉厚の板状体をL字状に折り曲げて成り、具体的には、タイミングベルト24の延伸方向に延び、自動ドア装置ベース2に固定される基部32aと、基部32aの一端からタイミングベルト24の延伸方向に直交する方向に立ち上がる直立部32bとを備えている。
前記第一プーリ台座部材30と、第二プーリ台座部材32とは、その直立部30b及び直立部32bが向き合うように板状ベース台座部材33に固定されている。
上記したように構成されたプーリ台座組立体20は、前記第一プーリ台座部材30と、第二プーリ台座部材32とがタイミングベルト24の延伸方向に沿って、その直立部30b及び直立部32bが向き合うように位置決めされ、基部30a及び32aの位置で板状ベース台座部材33と共に自動ドア装置ベース2に一体に形成された一対のアルミレール2aに、底板にボルトが立設された固定ベース部材(図示せず、図7及び図8の底板103b及びボルト103a参照)を介して、ナット30d及び32cで固定される。
前記第一プーリ台座部材30及び第二プーリ台座部材32の直立部30b及び32bには、第一プーリ台座部材30及び第二プーリ台座部材32を自動ドア装置ベース2に固定した時に対向する位置に開口(符号なし)が形成されており、第一プーリ台座部材30の直立部30bにおける前記開口に対応する部分30eにはバーリング加工が施されている。尚、このバーリング加工が施された部分30eは、バーリング加工に変えてナット部材を一体に取り付けてもよいことは勿論である。
プーリ台座組立体20は、さらに、第二プーリ台座部材32側から、第二プーリ台座部材32の開口と、第一プーリ台座部材30の開口及びナット部材30eとを貫通するように取り付けられる調整ボルト34を備えている。図2中、符号36は調整ボルト34に螺合されるナット部材を示している。
上記したように構成されたプーリ台座組立体20は、その第一プーリ台座部材30のシャフト支持部30cに、タイミングベルト24の延伸方向に直交する方向に第二シャフト18が固定され、第二シャフト18には、タイミングベルト24が巻きまわされる従動プーリ22が回動可能に取り付けられている。従って、第二シャフト18の軸線と、従動プーリ22の回転軸線とは一致しており、これらの軸線は図2に符号Sで示されている。
上記したように構成された従動プーリ22と、主動プーリ16とに掛け回されるタイミングベルト24の延伸方向Lは自動ドア装置ベース2の延伸方向と平行であり、軸線Sとタイミングベルト24の延伸方向Lとの間の角度、即ち、軸線Sと自動ドア装置ベース2との間の角度は、図2に符号αで示されている。
【0010】
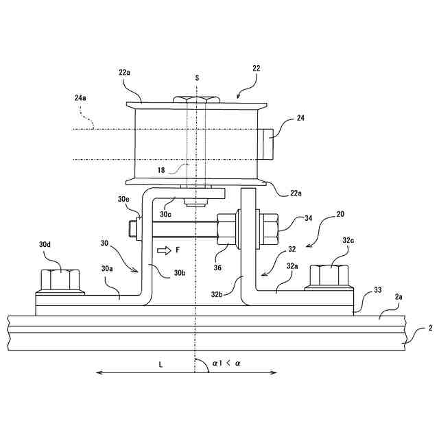
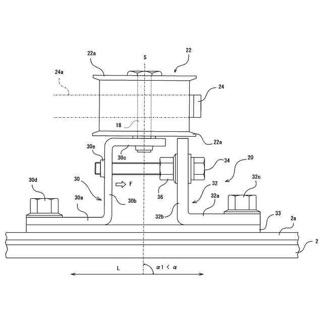
上記したように構成された自動ドア装置1によれば、自動ドア装置1を設置後に時間の経過に伴って、例えば、ドア6の重さやタイミングベルトの馴染みによる伸びによってタイミングベルト24の従動プーリ22に対する位置が、従動プーリ22のフランジ22aの一方側に寄り、図3に示すように、最終的に従動プーリ22の一方の測縁辺24aが従動プーリ22のフランジ22aの一方に接触した場合に、プーリ台座組立体20の調整ボルト34を一方向に締め付けると、第一プーリ台座部材30の直立部30bにタイミングベルト24の延伸方向Lの応力Fが加えられ、具体的には、第二プーリ台座部材32側への応力Fが加えられ、第一プーリ台座部材30の直立部30b及びシャフト支持部30cが第二プーリ台座部材32側に傾き、その結果、第二シャフト18の軸線、即ち、従動プーリ22の回転軸線Sとタイミングベルト24の延伸方向Lとの間の第二プーリ台座部材32側の角度α1が、調整前の角度αよりも小さくなり、タイミングベルト24の従動プーリ22に対する位置を、従動プーリ22の中心に向けて動かすことができる(図4参照)。尚、図4においては、従動プーリ22の回転軸線Sの傾きを見やすくするために第一プーリ台座部材30の直立部30b及びシャフト支持部30cの傾きを大きく表示しているが、実際には、この傾きは目視できない程度の傾きであっても、タイミングベルト24の従動プーリ22に対する位置を、従動プーリ22の中心に向けて動かすことができることは当業者であれば理解できるものである。
これにより、タイミングベルト24を従動プーリ22のフランジ22aの一方から離すことができ、タイミングベルト24が従動プーリ22に接触することによる擦れ音やタイミングベルト24の摩耗等の問題を解消することができる。
(【0011】以降は省略されています)
この特許をJ-PlatPat(特許庁公式サイト)で参照する
関連特許
株式会社ベスト
軸釣装置
1か月前
株式会社ソリック
ドア装置
1か月前
個人
無人貸金庫システム
2か月前
株式会社ベスト
扉及び個室
2か月前
日本発條株式会社
リッド開閉装置
4日前
株式会社セリュール
電子錠、電気錠装置
25日前
株式会社セリュール
電子錠、電気錠装置
25日前
積水ハウス株式会社
引き戸
2か月前
トヨタ自動車株式会社
車両
1か月前
朝日電装株式会社
車両用ロック装置
17日前
コイト電工株式会社
蝶番の取付構造
1か月前
株式会社アイシン
ドア支持装置
1か月前
株式会社アイシン
操作検出装置
11日前
株式会社ベスト
軸釣装置の上吊り手段
25日前
タキゲン製造株式会社
電動ステー装置
3日前
株式会社LIXIL
建具
2か月前
株式会社アイシン
車両用ドア装置
1か月前
株式会社アイシン
車両用ドア装置
2か月前
スガツネ工業株式会社
上吊式引戸
1か月前
株式会社アイシン
車両用ドア装置
2か月前
芝浦電子工業株式会社
遠隔解錠システム
1か月前
株式会社LIXIL
シリンダ錠
2か月前
株式会社パイオラックス
回転アクチュエータ
9日前
株式会社アイシン
キックセンサ
1か月前
大和ハウス工業株式会社
間仕切り機構
2か月前
富士電機株式会社
制御装置、制御方法
1か月前
ミネベアショウワ株式会社
引戸用ストライク
1か月前
トヨタ自動車株式会社
方法
1か月前
ミネベアミツミ株式会社
ドアラッチ装置
1か月前
三和シヤッター工業株式会社
建具
1か月前
株式会社ノムラテック
錠装置
17日前
株式会社アイシン
車両用ドア装置
1か月前
株式会社大林組
障子および障子の組付構造
3日前
株式会社アルファ
ハンドル装置
1か月前
敷島金属工業株式会社
ダイヤル錠
1か月前
株式会社オカムラ
移動間仕切装置
2か月前
続きを見る
他の特許を見る