TOP
|
特許
|
意匠
|
商標
特許ウォッチ
Twitter
他の特許を見る
10個以上の画像は省略されています。
公開番号
2025120667
公報種別
公開特許公報(A)
公開日
2025-08-18
出願番号
2024015644
出願日
2024-02-05
発明の名称
カバン蓋の係止装置
出願人
株式会社榮伸
代理人
個人
主分類
E05B
65/52 20060101AFI20250808BHJP(錠;鍵;窓または戸の付属品;金庫)
要約
【課題】 カバン蓋の係止装置において、ワンタッチで蓋を開閉できると共に、蓋の係止状態において、不用意にロックが外れないようにすること。
【解決手段】 スライダ移動手段10を蓋の平面に交差する方向に回動したとき、係合部8が係止部14から外れると同時に蓋板2を本体1から持ち上げて、本体1の内部を開放する。これにより、一つの動作で、ロック外しと、蓋板2の開閉と同時にできる。
【選択図】図5
特許請求の範囲
【請求項1】
一端が開口をするカバンの本体(1)と、
本体(1)の一端の開口縁に設けた蓋板(2)と、
蓋板(2)の縁に固定される第1部材(3)と、
本体(1)または、本体(1)の補助収容部(4)に固定される第2部材(5)と、を有し、
第1部材(3)と第2部材(5)が係脱自在に係止されるカバン蓋の係止装置において、
第1部材(3)には、一以上の嵌入凹部(6)を有するケーシング(7)と、
その嵌入凹部(6)に少なくとも一部が出入自在に配置された係合部(8)を有し、
ケーシング(7)内で蓋板(2)の平面方向に移動自在に設けられるスライダ(9)と、
ケーシング(7)に軸支されてスライダ(9)に隣接すると共に、一端部が蓋板(2)の縁から外側に露出して、前記平面方向と交差する方向に回動し且つ、その回動に伴い他端部が前記平面方向にスライダ(9)を移動させるスライダ移動手段(10)と、
スライダ(9)を前記平面方向に付勢する付勢手段(11)と、を具備し、
第2部材(5)には、第1部材(3)の嵌入凹部(6)に進入される突部(12)と、 突部(12)に設けた係止部(14)と、を有し、
前記付勢手段(11)に抗して、蓋板(2)を閉じたとき、第2部材(5)の係止部(14)にスライダ(9)の係合部(8)が係止されて、蓋板(2)がロックされるカバン蓋の係止装置。
続きを表示(約 830 文字)
【請求項2】
請求項1に記載のカバン蓋の係止装置において、
前記スライダ移動手段(10)がカム機構からなり、
カム機構は前記一端部に設けた摘み部(10a)と、中間に設けた軸支部(10c)と、他端部に設けられ外周が軸支部(10c)に対して偏心した曲面部(10b)と、
を具備し、
前記曲面部(10b)がスライダ(9)に接し、
摘み部(10a)を回動したときスライダ(9)を前記平面方向に移動させるように構成したカバン蓋の係止装置。
【請求項3】
請求項1に記載のカバン蓋の係止装置において、
前記スライダ移動手段(10)がリンク機構からなり、それが第1リンク(26)と、 第2リンク(27)と、スライダ(9)とで構成され、第1リンク(26)一端が第2リンク(27)の一端に軸支され、第1リンク(26)の中間がケーシング(7)に軸支(28)され、第2リンク(27)の他端がスライダ(9)に軸支され、
第1リンク(26)を軸支(28)回りに回動したときスライダ(9)が前記平面方向に移動するように構成したカバン蓋の係止装置。
【請求項4】
請求項2に記載のカバン蓋の係止装置において、
スライダ移動手段(10)には、摘み部(10a)を本体(1)側に付勢するバネ手段(15)が設けられたカバン蓋の係止装置。
【請求項5】
請求項1~請求項4のいずれかにおいて、
第1部材(3)の嵌入凹部(6)が、本体(1)の高さ方向に離間して少なくとも二つ配置されたカバン蓋の係止装置。
【請求項6】
請求項1~請求項4のいずれかにおいて、
前記第1部材(3)およびまたは、第2部材(5)には、本体(1)の幅方向に離間して少なくとも二つの磁石(16)が配置され、それが第2部材(5)の磁性体(17)に吸着するカバン蓋の係止装置。
発明の詳細な説明
【技術分野】
【0001】
本発明は、カバン本体の開口を閉塞するカバン蓋を、カバン本体に係脱自在に係止する装置に関する。
続きを表示(約 2,000 文字)
【背景技術】
【0002】
従来のランドセルの係止装置は、特許文献1に記載の如く、ランドセル本体と、それに取付けられて、その開口部を覆う蓋部材とを有するランドセルにおいて、蓋部材の端部に係止金具を取り付け、ランドセル本体の底面に錠前装置を設け、両者を係脱自在に係止するものである。
その錠前は、係止金具のつまみを回転することにより、施錠状態と開放状態とに変化させるものである。
【0003】
次に、特許文献2に記載のランドセルは、蓋部材の裏面に蓋の係止部を設け、それに対向した本体側に係合部を設け、両者を磁気力により着脱自在に連結するものである。
【先行技術文献】
【特許文献】
【0004】
特許第5695776号公報
特開2020-187953号公報
【発明の概要】
【発明が解決しようとする課題】
【0005】
特許文献1に記載のランドセルは、施錠の開閉動作をランドセル本体の底面のつまみの回転により、蓋部の係止と解除とを行い、その後に蓋を本体から解放するものである。そのため、蓋の開放のための二つの動作を必要とし、その開放作業が面倒である欠点があった。
また、特許文献2に記載のランドセルは、蓋側の係止部と、本体側の係合部との間を磁気的に引き付け合って係止するものである。そのため、蓋が本体から外れやすく、施錠の確実性に欠ける欠点があった。
そこで、本発明は、一つの動作でロック外しと、蓋開けと、を同時にできる取扱い性の良いカバン蓋の係止装置の提供を課題とする。
【課題を解決するための手段】
【0006】
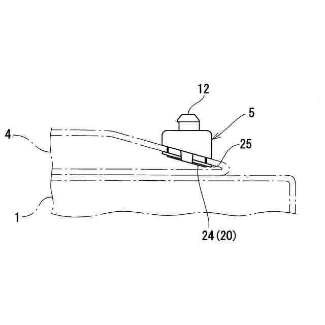
請求項1に記載の本発明は、一端が開口をするカバンの本体1と、
本体1の一端の開口縁に設けた蓋板2と、
蓋板2の縁に固定される第1部材3と、
本体1または、本体1の補助収容部4に固定される第2部材5と、を有し、
第1部材3と第2部材5が係脱自在に係止されるカバン蓋の係止装置において、
第1部材3には、一以上の嵌入凹部6を有するケーシング7と、
その嵌入凹部6に少なくとも一部が出入自在に配置された係合部8を有し、
ケーシング7内で蓋板2の平面方向に移動自在に設けられるスライダ9と、
ケーシング7に軸支されてスライダ9に隣接すると共に、一端部が蓋板2の縁から外側に露出して、前記平面方向と交差する方向に回動し且つ、その回動に伴い他端部が前記平面方向にスライダ9を移動させるスライダ移動手段10と、
スライダ9を前記平面方向に付勢する付勢手段11と、を具備し、
第2部材5には、第1部材3の嵌入凹部6に進入される突部12と、突部12に設けた係止部14と、を有し、
前記付勢手段11に抗して、蓋板2を閉じたとき、第2部材5の係止部14にスライダの係合部8が係止されて、蓋板2がロックされるカバン蓋の係止装置である。
【0007】
請求項2に記載の本発明は、請求項1に記載のカバン蓋の係止装置において、
前記スライダ移動手段10がカム機構からなり、
カム機構は前記一端部に設けた摘み部10aと、中間に設けた軸支部10cと、他端部に設けられ外周が軸支部10cに対して偏心した曲面部10bと、
を具備し、
前記曲面部10bがスライダ9に接し、
摘み部10aを回動したときスライダ9を前記平面方向に移動させるように構成したカバン蓋の係止装置である。
【0008】
請求項3に記載の本発明は、請求項1に記載のカバン蓋の係止装置において、
前記スライダ移動手段10がリンク機構からなり、それが第1リンク26と、第2リンク27と、スライダ9とで構成され、第1リンク26一端が第2リンク27の一端に軸支され、第1リンク26の中間がケーシング7に軸支28され、第2リンク27の他端がスライダ9に軸支され、
第1リンク26を軸支28回りに回動したときスライダ9が前記平面方向に移動するように構成したカバン蓋の係止装置である。
【0009】
請求項4に記載の本発明は、請求項2に記載のカバン蓋の係止装置において、
スライダ移動手段10には、摘み部10aを本体1側に付勢するバネ手段15が設けられたカバン蓋の係止装置である。
【0010】
請求項5に記載の本発明は、請求項1~請求項4のいずれかに記載のカバン蓋の係止装置において、
第1部材3の嵌入凹部6が、本体1の高さ方向に離間して少なくとも二つ配置されたカバン蓋の係止装置である。
(【0011】以降は省略されています)
この特許をJ-PlatPat(特許庁公式サイト)で参照する
関連特許
株式会社榮伸
カバン蓋の係止装置
3か月前
個人
物品保管箱
3か月前
個人
防犯用ドア装置
3か月前
個人
ピンシリンダー錠。
4か月前
個人
ポスト機能付き手提げ金庫
2か月前
個人
顔認証による入室システム
4か月前
株式会社ベスト
軸釣装置
26日前
個人
二重ロック機能付小物入れ
3か月前
株式会社ソリック
ドア装置
1か月前
ミサワホーム株式会社
錠受具
4か月前
三協立山株式会社
開口部装置
3か月前
株式会社アルファ
電気錠
3か月前
個人
無人貸金庫システム
2か月前
リョービ株式会社
ドアクローザ
4か月前
リョービ株式会社
ドアクローザ
4か月前
株式会社セリュール
電子錠、電気錠装置
18日前
株式会社セリュール
電子錠、電気錠装置
18日前
株式会社榮伸
カバン蓋の係止装置
3か月前
積水ハウス株式会社
引き戸
2か月前
トヨタ自動車株式会社
車両
1か月前
株式会社ベスト
開き扉の開閉装置
3か月前
積水ハウス株式会社
引き戸
2か月前
株式会社ベスト
扉及び個室
2か月前
有限会社シティング
引き戸
2か月前
スズキ株式会社
車両用乗員保護装置
3か月前
ミネベアショウワ株式会社
ドア装置
3か月前
美和ロック株式会社
IDキー
4か月前
ミネベアショウワ株式会社
ドア装置
3か月前
朝日電装株式会社
車両用ロック装置
10日前
コイト電工株式会社
蝶番の取付構造
1か月前
株式会社ユニオン
ドアハンドル
2か月前
株式会社LIXIL
建具
2か月前
株式会社アイシン
ドア支持装置
1か月前
株式会社LIXIL
建具
3か月前
株式会社ベスト
軸釣装置の上吊り手段
18日前
株式会社アイシン
操作検出装置
4日前
続きを見る
他の特許を見る