TOP
|
特許
|
意匠
|
商標
特許ウォッチ
Twitter
他の特許を見る
公開番号
2025138103
公報種別
公開特許公報(A)
公開日
2025-09-25
出願番号
2024036938
出願日
2024-03-11
発明の名称
ドアハンドル
出願人
株式会社ユニオン
代理人
個人
,
個人
主分類
E05B
1/06 20060101AFI20250917BHJP(錠;鍵;窓または戸の付属品;金庫)
要約
【課題】ハンドル本体が長尺状であり、上端及び下端だけでドアに支持される場合に、操作時の撓みを抑え、操作感を向上させることができるドアハンドルを提供する。
【解決手段】
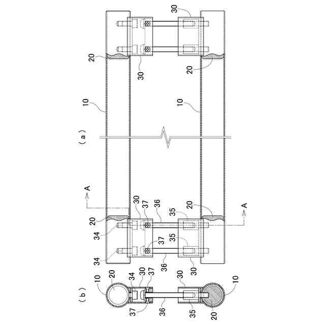
ドアハンドルは、円筒状のハンドル本体10と、一対の蓋体20と、一対の脚部材30とを具備する。ハンドル本体10は、両端が開口しており、一対の第1端部10bに複数の第1軸挿通孔11を有する。一対の第1端部10bは、軸状の複数の締結部材34、35が挿通される。一対の蓋体20は、複数の第1被係合部21をそれぞれ有し、ハンドル本体10の両端開口10aに嵌挿される。複数の第1被係合部21は、ハンドル本体10の長手方向に並ぶように一対の蓋体20に形成され、複数の締結部材34、35と係合される。一対の脚部材30は、複数の締結部材34、35によって、ハンドル本体10の一対の第1端部10bと連結され、ハンドル本体10をドアに固定する。
【選択図】図1
特許請求の範囲
【請求項1】
両端が開口しており、両端部である一対の第1端部(10b)に、軸状の複数の締結部材(34、35)が挿通される複数の第1軸挿通孔(11)を有する円筒状のハンドル本体(10)と、
前記ハンドル本体(10)の長手方向に並ぶように形成され、前記複数の第1軸挿通孔(11)を介し前記複数の締結部材(34、35)と係合される複数の第1被係合部(21)をそれぞれ有し、前記ハンドル本体(10)の両端開口(10a)に嵌挿される一対の蓋体(20)と、
前記複数の締結部材(34、35)によって、前記ハンドル本体(10)の前記一対の第1端部(10b)と連結され、前記ハンドル本体(10)をドアに固定する一対の脚部材(30)
とを具備するドアハンドル。
続きを表示(約 530 文字)
【請求項2】
前記一対の蓋体(20)は、前記複数の被係合部(21)が形成され、前記ハンドル本体(10)の内壁と当接する円柱状の当接部(22)、及び前記当接部(22)の一端面(22a)から前記ハンドル本体(10)の長手方向の中央に向かって突設される柱状の突出部(23)を含み、
両端が開口しており、前記ハンドル本体(10)の内壁に内接し、両端開口(40a)に、前記一対の蓋体(20)の各前記突出部(23)が嵌挿される補強用筒体(40)を更に具備する、請求項1に記載のドアハンドル。
【請求項3】
前記補強用筒体(40)の横断面形状は、多角形形状である、請求項2に記載のドアハンドル。
【請求項4】
前記補強用筒体(40)は、前記複数の締結部材(34、35)とは異なる他の複数の締結部材(38)が挿通される複数の第2軸挿通孔(41)を有し、
前記一対の蓋体(20)の各前記突出部(23)は、前記ハンドル本体(10)の長手方向に並ぶように形成され、前記複数の第2軸挿通孔(41)を介し前記他の複数の締結部材(38)と係合される複数の第2被係合部(23a)を有する、請求項2又は請求項3に記載のドアハンドル。
発明の詳細な説明
【技術分野】
【0001】
本発明は、ドアハンドルに関し、特に、建物の開き戸等のドアに取付けられる長棒状のドアハンドルに関する。
続きを表示(約 1,800 文字)
【背景技術】
【0002】
建物の開き戸等のドアに取付けられる長棒状のドアハンドルとして、特許文献1には、丸棒状のハンドル本体と、一対の脚部材とを具備するドアハンドルが記載されている。ハンドル本体は、上下方向に配され、一対の脚部材は、ハンドル本体の上端近傍、及び下端近傍の二箇所でハンドル本体をドアに固定している。
【0003】
特許文献1においては、ドアハンドルは、ドアの両面に設置され、ドアの片面に設置されるドアハンドルは、1本のボルトによって、一対の脚部材が、ドアの反対面に設置されるドアハンドルの一対の脚部材と連結される。
【先行技術文献】
【特許文献】
【0004】
特開2008-261104号公報
【発明の概要】
【発明が解決しようとする課題】
【0005】
例えばホテルのフロントドア等に取付けられるドアハンドルであれば、デザイン性の向上、及び高級感の演出のために、丸棒状のハンドル本体として、2~3メートルの長尺状のハンドル本体が使用されることがある。そのような長尺状のハンドル本体をドアハンドルに使用する場合には、ハンドル本体を中空筒状として重量の増大を抑えることが好ましい。
【0006】
しかしながら、長尺状のハンドル本体を中空筒状とし、ハンドル本体をドアの上端、及び下端だけでドアに支持し、中央部においては支持しない構造とすると、ドアの開閉の際のドアハンドルの撓みが問題となり得る。人間の手は、微妙な変形、変位を感じ取る優れた感覚を備えており、ドアを開け閉めする際にドアハンドルが変形したり、撓んだりすると、違和感を覚え、ドアハンドルの操作感は低下する。また、ドアハンドルの撓みが目に見える程に大きくなると、ドアを押し開ける際に指がドアと衝突し、怪我をすることも考えられる。また、ドアの開け閉めを繰り返すときドアハンドルが撓むと、ハンドル本体の変形が繰り返されることとなり、ハンドル本体をドアに取付けているボルトやビス等に緩みが生じる原因ともなり得る。
【0007】
本発明は、上記課題に鑑みてなされたものであり、その目的は、ハンドル本体が長尺状であり、上端及び下端だけでドアに支持される場合に、操作時の撓みを抑え、操作感を向上させることができるドアハンドルを提供することにある。
【課題を解決するための手段】
【0008】
本願に開示するドアハンドルは、円筒状のハンドル本体(10)と、一対の蓋体(20)と、一対の脚部材(30)とを具備する。前記ハンドル本体(10)は、両端が開口しており、両端部である一対の第1端部(10b)に複数の第1軸挿通孔(11)を有する。前記複数の第1軸挿通孔(11)は、軸状の複数の締結部材(34、35)が挿通される。前記一対の蓋体(20)は、それぞれ、複数の第1被係合部(21)を有し、前記ハンドル本体(10)の両端開口(10a)に嵌挿される。前記複数の第1被係合部(21)は、前記ハンドル本体(10)の長手方向に並ぶように前記一対の蓋体(20)に形成され、前記複数の第1軸挿通孔(11)を介し前記複数の締結部材(34、35)と係合される。前記一対の脚部材(30)は、前記複数の締結部材(34、35)によって、前記ハンドル本体(10)の前記一対の第1端部(10b)と連結され、前記ハンドル本体(10)をドアに固定する。
【0009】
本願に開示するドアハンドルにおいて、前記一対の蓋体(20)は、円柱状の当接部(22)、及び柱状の突出部(23)を含む。前記当接部(22)は、前記複数の被係合部(21)が形成され、前記ハンドル本体(10)の内壁と当接する。前記突出部(23)は、前記当接部(22)の一端面(22a)から前記ハンドル本体(10)の長手方向の中央に向かって突設される。そして、本願に開示するドアハンドルは、補強用筒体(40)を更に具備する。前記補強用筒体(40)は、両端が開口しており、前記ハンドル本体(10)の内壁に内接し、両端開口(40a)に、前記一対の蓋体(20)の各前記突出部(23)が嵌挿される。
【0010】
本願に開示するドアハンドルにおいて、前記補強用筒体(40)の横断面形状は、多角形形状である。
(【0011】以降は省略されています)
この特許をJ-PlatPat(特許庁公式サイト)で参照する
関連特許
株式会社ユニオン電器
押圧式治療具
1日前
個人
物品保管箱
2か月前
個人
防犯用ドア装置
2か月前
個人
ピンシリンダー錠。
3か月前
個人
顔認証による入室システム
3か月前
個人
ポスト機能付き手提げ金庫
1か月前
個人
二重ロック機能付小物入れ
2か月前
株式会社ニシムラ
ラッチ錠
4か月前
ミサワホーム株式会社
錠受具
3か月前
三協立山株式会社
開口部装置
1か月前
個人
無人貸金庫システム
22日前
リョービ株式会社
ドアクローザ
2か月前
リョービ株式会社
ドアクローザ
2か月前
株式会社アルファ
電気錠
2か月前
積水ハウス株式会社
引き戸
19日前
株式会社榮伸
カバン蓋の係止装置
2か月前
株式会社ベスト
開き扉の開閉装置
1か月前
タキゲン製造株式会社
抜差し蝶番
4か月前
株式会社ベスト
扉及び個室
19日前
美和ロック株式会社
ハンドル装置
4か月前
有限会社シティング
引き戸
29日前
積水ハウス株式会社
引き戸
1か月前
コイト電工株式会社
蝶番の取付構造
8日前
スズキ株式会社
車両用乗員保護装置
1か月前
ミネベアショウワ株式会社
ドア装置
1か月前
ミネベアショウワ株式会社
ドア装置
1か月前
美和ロック株式会社
IDキー
2か月前
株式会社LIXIL
建具
1か月前
株式会社アイシン
ドア支持装置
8日前
株式会社WEST inx
引戸用引手
4か月前
株式会社LIXIL
建具
2か月前
神田工業株式会社
解錠システム
3か月前
株式会社LIXIL
建具
19日前
株式会社ユニオン
ドアハンドル
23日前
株式会社アイシン
車両用ドア装置
16日前
株式会社アイシン
車両用ドア装置
16日前
続きを見る
他の特許を見る