TOP
|
特許
|
意匠
|
商標
特許ウォッチ
Twitter
他の特許を見る
10個以上の画像は省略されています。
公開番号
2025144521
公報種別
公開特許公報(A)
公開日
2025-10-02
出願番号
2025007743
出願日
2025-01-20
発明の名称
車両用ドア装置
出願人
株式会社アイシン
代理人
個人
,
個人
主分類
E05F
11/53 20060101AFI20250925BHJP(錠;鍵;窓または戸の付属品;金庫)
要約
【課題】第2の回動軸線を構成する支軸を軸方向に分割しなくても、当該支軸と車体側リンクとの干渉を避けやすくなる車両用ドア装置を提供する。
【解決手段】ドア装置20は、車体2に対する第1の回動軸線X1とドア5に対する第2の回動軸線X2とを有する第1及び第2のリンクアームを備える。そして、ドア装置20は、これらの第1及び第2のリンクアームにより構成されるリンク機構15の動作に基づいて、そのドア5が開閉動作する。また、第2のリンクアームは、第1の回動軸線X1を有した車体側リンク101と第2の回動軸線X2を有したドア側リンク102とを回動可能に連結した関節リンク110としての構成を有する。そして、ドア装置20は、ドア5が全閉位置に配置される状態において、車体側リンク101とドア側リンク102との中間軸線X3が、第2の回動軸線X2よりも車体2に近い位置に配置される。
【選択図】図14
特許請求の範囲
【請求項1】
車体に対する第1の回動軸線と車両のドアに対する第2の回動軸線とを有する第1及び第2のリンクアームを備え、
前記第1及び第2のリンクアームにより構成されるリンク機構の動作に基づき前記ドアが開閉動作するとともに、
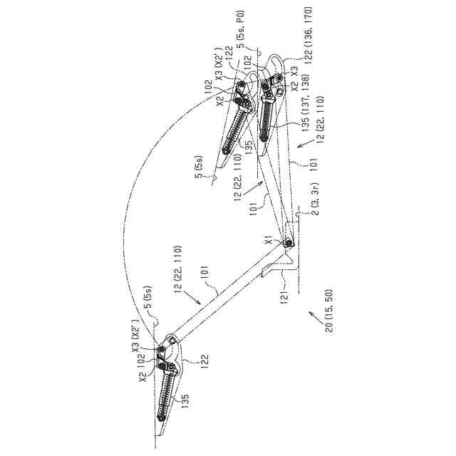
前記第1及び第2のリンクアームの少なくとも何れかは、前記第1の回動軸線を有した車体側リンクと前記第2の回動軸線を有したドア側リンクとを回動可能に連結することにより前記車体側リンク及び前記ドア側リンクの相対回動に基づき前記第1及び第2の回動軸線間の連結長を変更可能に構成された関節リンクであって、
前記ドアが全閉位置に配置される状態において、
前記車体側リンクと前記ドア側リンクとの中間軸線が、前記第2の回動軸線よりも、前記車体に近い位置にある
車両用ドア装置。
続きを表示(約 540 文字)
【請求項2】
前記ドアの開閉動作に基づき前記第2の回動軸線周りに前記ドア側リンクが回動する状態において、
前記中間軸線が、前記第2の回動軸線よりも、前記車体に近い位置にある
請求項1に記載の車両用ドア装置。
【請求項3】
前記中間軸線が、前記第2の回動軸線よりも、前記車体に設けられたドア開口部の開口幅方向における閉側の位置にある
請求項2に記載の車両用ドア装置。
【請求項4】
前記関節リンクは、前記ドアが全閉位置から開動作することにより、前記中間軸線が前記ドアの内側面に近接する方向に向かって、前記第2の回動軸線周りに前記ドア側リンクが回動するとともに、該ドア側リンクが前記ドアに設けられた回動規制部に当接することにより、前記第2の回動軸線周りに前記ドア側リンクの回動が規制される
請求項2又は請求項3に記載の車両用ドア装置。
【請求項5】
前記ドアの内側面に沿って延在する状態で前記ドア側リンクを押圧することにより前記中間軸線が前記ドアの内側面に近接する方向に向かって前記第2の回動軸線周りに前記ドア側リンクを回動付勢する付勢部材を備える
請求項2又は請求項3に記載の車両用ドア装置。
発明の詳細な説明
【技術分野】
【0001】
本発明は、車両用ドア装置に関するものである。
続きを表示(約 3,400 文字)
【背景技術】
【0002】
従来、車体に対する第1の回動軸線と車両のドアに対する第2の回動軸線とを有した第1及び第2のリンクアームを備える車両用ドア装置がある。このような車両用ドア装置は、第1及び第2のリンクアームにより構成されるリンク機構の動作に基づいて、そのドア開口部に設けられたドアが開閉動作する。更に、特許文献1に記載の車両用ドア装置は、一方のリンクアームに、車体に対して第1の回動軸線周りに回転する車体側リンクと、ドアに対して第2の回動軸線周りに回転するドア側リンクと、を有する関節リンクを採用している。関節リンクにおいて、車体側リンクとドア側リンクとは、中間軸線周りに回動可能に連結されている。こうして、上記の車両用ドア装置は、その第1及び第2の回動軸線間の連結長を変更可能とする。そして、これにより、リンク機構の動作に基づき開閉動作するドアについて、その開閉動作の自由度を高めることができる。
【先行技術文献】
【特許文献】
【0003】
特開2023-68618号公報
【発明の概要】
【発明が解決しようとする課題】
【0004】
上記のような車両用ドア装置において、ドアが開閉動作する場合には、車体側リンクが第2の回動軸線を横切る。このため、ドアとドア側リンクとを第2の回動軸線周りに回動可能に連結する支軸は、車体側リンクとの干渉を避けるために第2の回動軸線の延びる方向に分割されている。
【課題を解決するための手段】
【0005】
本発明に係る車両用ドア装置は、車体に対する第1の回動軸線と車両のドアに対する第2の回動軸線とを有する第1及び第2のリンクアームを備え、前記第1及び第2のリンクアームにより構成されるリンク機構の動作に基づき前記ドアが開閉動作するとともに、前記第1及び第2のリンクアームの少なくとも何れかは、前記第1の回動軸線を有した車体側リンクと前記第2の回動軸線を有したドア側リンクとを回動可能に連結することにより前記車体側リンク及び前記ドア側リンクの相対回動に基づき前記第1及び第2の回動軸線間の連結長を変更可能に構成された関節リンクであって、前記ドアの開閉動作に基づき前記第2の回動軸線周りに前記ドア側リンクが回動する状態において、前記車体側リンクと前記ドア側リンクとの中間軸線が、前記第2の回動軸線よりも、前記車体に近い位置にある。
【発明の効果】
【0006】
車両用ドア装置は、第2の回動軸線を構成する支軸を軸方向に分割しなくても、当該支軸と車体側リンクとの干渉を避けやすくなる。
【図面の簡単な説明】
【0007】
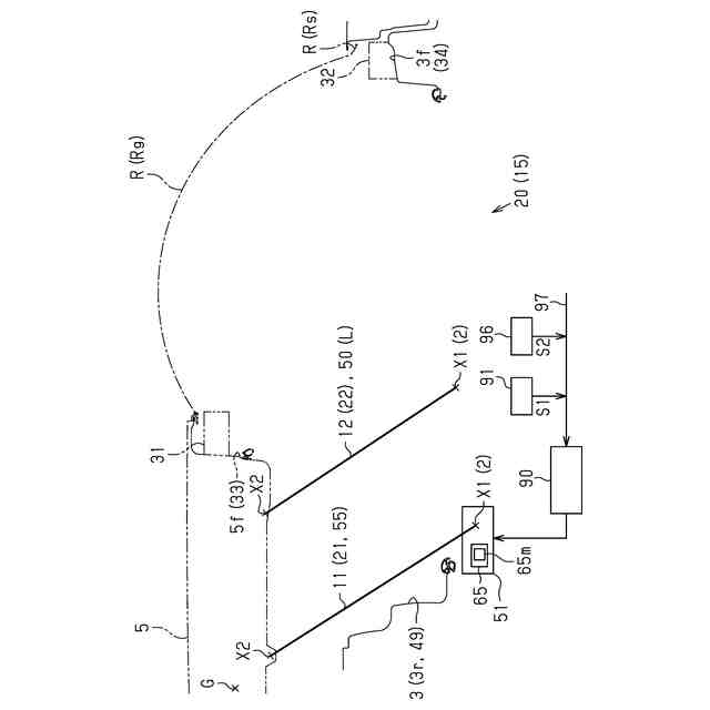
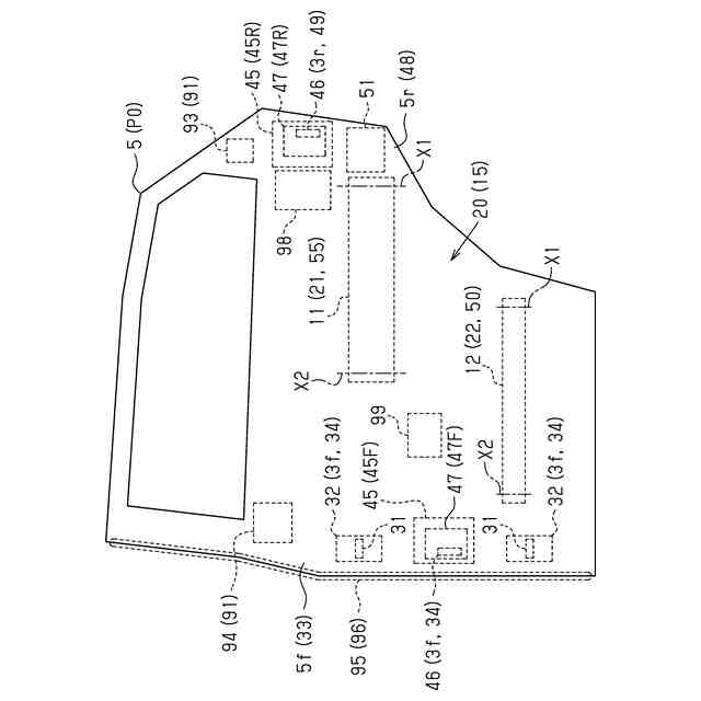
図1は、第1実施形態のドア装置の斜視図である。
図2は、第1実施形態のドア装置の斜視図である。
図3は、第1実施形態のリンク機構を構成する第1及び第2のリンクアームの平面図である。
図4は、第1実施形態のリンク機構を構成する第1及び第2のリンクアームの平面図である。
図5は、第1実施形態のリンク機構を構成する第1及び第2のリンクアームの平面図である。
図6は、第1実施形態のリンク機構を構成する第1及び第2のリンクアームの平面図である。
図7は、第1実施形態のドア側係合部及び車体側係合部の概略構成図である。
図8は、第1実施形態のドア側係合部及び車体側係合部、並びにドア及びドア開口部の斜視図である。
図9は、第1実施形態のドア装置のシステム構成図である。
図10は、第1実施形態のドア装置が設けられたドアの斜視図である。
図11は、第1実施形態の関節リンクの平面図である。
図12は、第1実施形態の関節リンクの平面図である。
図13は、第1実施形態の関節リンクを用いた連結長可変機構の平面図である。
図14は、第1実施形態の関節リンクを用いた連結長可変機構の動作説明図である。
図15は、第1実施形態の関節リンクを用いた連結長可変機構の分解斜視図である。
図16は、第1実施形態の関節リンクを構成する車体側リンク及びドア側リンク、並びに車体ブラケットの斜視図である。
図17は、第1実施形態の車体側リンク及びドア側リンク、並びに車体ブラケットの側面図である。
図18は、第1実施形態のドア側リンク、ドアブラケット、及び付勢部材の側面図である。
図19は、第1実施形態のドア側リンク、ドアブラケット、及び付勢部材の斜視図である。
図20は、第1実施形態のドア側リンク、ドアブラケット、及び付勢部材の側面図である。
図21は、第1実施形態の関節リンクを用いた連結長可変機構のドア近傍における側面図である。
図22は、第1実施形態の関節リンクを用いた連結長可変機構の動作説明図である。
図23は、第1実施形態の関節リンクを用いた連結長可変機構の動作説明図である。
図24は、第1実施形態の関節リンクを用いた連結長可変機構の動作説明図である。
図25は、第1実施形態の関節リンクを用いた連結長可変機構のドア近傍における下面図である。
図26は、第1実施形態のドアブラケットの下壁に設けられたカム溝と車体側リンクに設けられた係合部材との係合状態を示すドアブラケットの部分断面図である。
図27は、第1実施形態のカム溝と係合部材との係合状態を示すドアブラケットの部分断面図である。
図28は、第1実施形態のカム溝と係合部材との係合状態を示すドアブラケットの部分断面図である。
図29は、第2実施形態の関節リンクを用いた連結長可変機構の平面図である。
図30は、第2実施形態の関節リンクを用いた連結長可変機構の分解斜視図である。
図31は、第2実施形態の関節リンクを用いた連結長可変機構の分解斜視図である。
図32は、第2実施形態の関節リンクを用いた連結長可変機構の動作説明図である。
図33は、第2実施形態の関節リンクを用いた連結長可変機構の動作説明図である。
図34は、第2実施形態の関節リンクを用いた連結長可変機構の動作説明図である。
図35は、別例の車体側リンクの形状を示す平面図である。
図36は、別例のシリンダ部材の模式図である。
【発明を実施するための形態】
【0008】
(第1実施形態)
以下、車両用ドア装置に関する第1実施形態を図面に従って説明する。
<リンク機構>
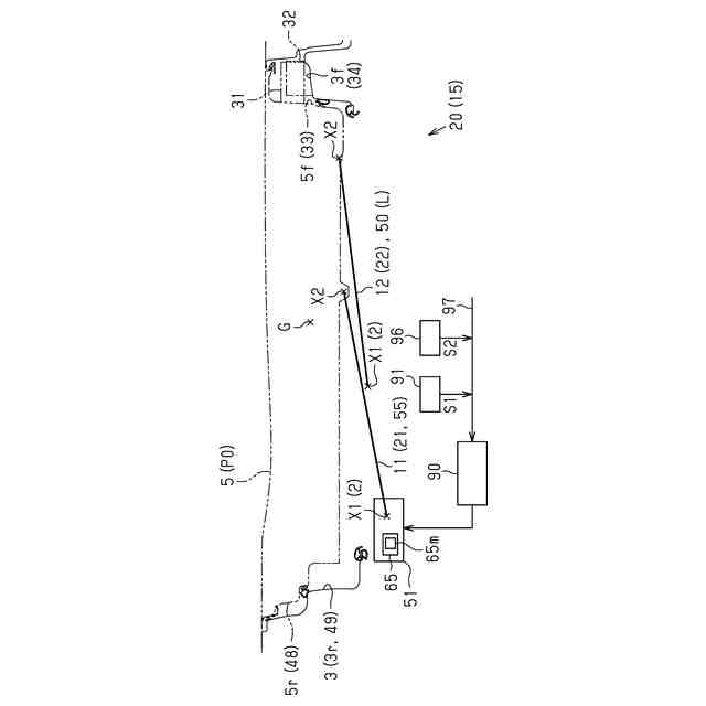
図1及び図2に示すように、本実施形態の車両1は、車体2の側面2sに設けられたドア開口部3を備えている。そして、そのドア開口部3には、このドア開口部3に車両1のドア5を支持する第1のリンクアーム11及び第2のリンクアーム12が設けられている。
【0009】
詳述すると、本実施形態の車両1において、これら第1及び第2のリンクアーム11,12は、それぞれ、車体2に対する第1の回動軸線X1と、ドア5に対する第2の回動軸線X2と、を有している。具体的には、第1のリンクアーム11は、上下方向(各図中、上下方向)に延びる支軸N1aに軸支された状態で車体2に連結されるとともに、上下方向に延びる支軸N1bに軸支された状態でドア5に連結されている。そして、第2のリンクアーム12もまた、上下方向に延びる支軸N2aに軸支された状態で車体2に連結されるとともに、上下方向に延びる支軸N2bに軸支された状態でドア5に連結されている。
【0010】
即ち、図3~図6に示すように、本実施形態の車両1においては、これらの第1及び第2のリンクアーム11,12が四節リンクとしての構成を有したリンク機構15を形成する。そして、本実施形態の車両1は、このリンク機構15の動作に基づいて、そのドア開口部3に支持されたドア5が開閉動作する構成になっている。
(【0011】以降は省略されています)
この特許をJ-PlatPat(特許庁公式サイト)で参照する
関連特許
株式会社アイシン
車両
3日前
株式会社アイシン
車両
3日前
株式会社アイシン
熱交換器
3日前
株式会社アイシン
熱交換器
3日前
株式会社アイシン
キックセンサ
16日前
株式会社アイシン
動力変換装置
3日前
株式会社アイシン
ヒートシンク
16日前
株式会社アイシン
電力変換装置
16日前
株式会社アイシン
車両用駆動装置
3日前
株式会社アイシン
車両用ドア装置
16日前
株式会社アイシン
冷却モジュール
16日前
株式会社アイシン
回転角検出装置
3日前
株式会社アイシン
車両用駆動装置
16日前
株式会社アイシン
車両用駆動装置
18日前
株式会社アイシン
車両用駆動伝達装置
19日前
株式会社アイシン
車両用駆動伝達装置
3日前
株式会社アイシン
車両用駆動伝達装置
18日前
株式会社アイシン
静電容量センサシステム
17日前
株式会社アイシン
車両用のドアロック装置
16日前
株式会社アイシン
ペロブスカイト太陽電池
17日前
株式会社アイシン
バルブ制御装置及びバルブ制御方法
19日前
株式会社アイシン
ペロブスカイト太陽電池の製造方法
4日前
株式会社アイシン
バルブ装置の学習装置及び学習方法
19日前
株式会社アイシン
水性エマルジョン系制振塗料組成物及びその硬化塗膜
16日前
株式会社アイシン
ホール輸送材料およびホール輸送材料を用いた太陽電池
24日前
株式会社アイシン
ホール輸送材料およびホール輸送材料を用いた太陽電池
26日前
株式会社アイシン
ペロブスカイト太陽電池及びペロブスカイト太陽電池の製造方法
1か月前
ミクロエース株式会社
被覆銅材の剥離処理方法、処理装置、処理装置制御部およびプログラム
24日前
個人
物品保管箱
3か月前
個人
防犯用ドア装置
3か月前
個人
ピンシリンダー錠。
4か月前
個人
顔認証による入室システム
4か月前
個人
二重ロック機能付小物入れ
3か月前
個人
ポスト機能付き手提げ金庫
2か月前
株式会社ベスト
軸釣装置
19日前
株式会社ソリック
ドア装置
27日前
続きを見る
他の特許を見る