TOP
|
特許
|
意匠
|
商標
特許ウォッチ
Twitter
他の特許を見る
公開番号
2025165012
公報種別
公開特許公報(A)
公開日
2025-11-04
出願番号
2024068845
出願日
2024-04-22
発明の名称
バルブ制御装置及びバルブ制御方法
出願人
株式会社アイシン
,
マブチモーター株式会社
代理人
弁理士法人真田特許事務所
主分類
F16K
5/04 20060101AFI20251027BHJP(機械要素または単位;機械または装置の効果的機能を生じ維持するための一般的手段)
要約
【課題】ハウジングと弁体との隙間のシール性を効果的に高める。
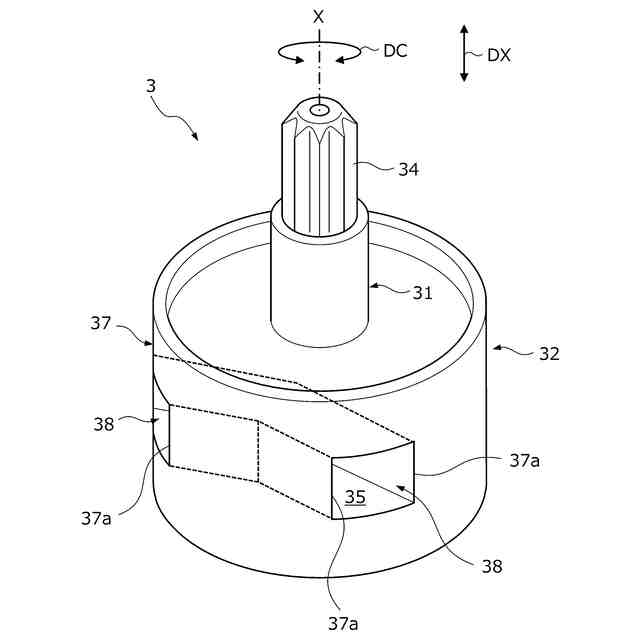
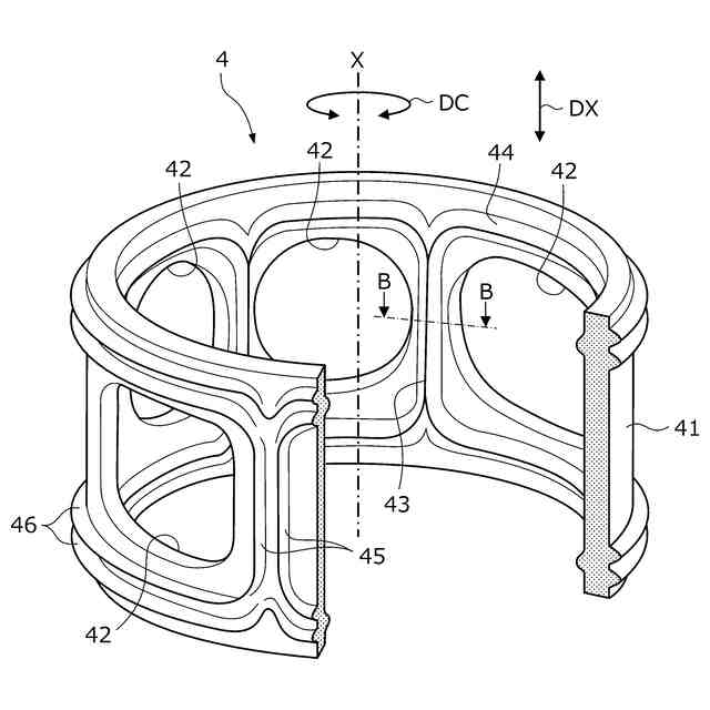
【解決手段】バルブ制御装置1は、弁体3とハウジング2とハウジング2に設けられたシール部材4とを具備するバルブ装置10に適用されている。シール部材4には、弁体3の回転に伴い弁体3に対して摺動するとともに弁体3の回転角度θが所定範囲内のときに弁体3の壁面37の軸方向縁部に乗り上げて壁面37との隙間をシールするリブが設けられている。バルブ制御装置1は、リブの摺動時に弁体3に作用する摺動トルクTsに関する摺動情報Asを取得する取得部11と、リブの軸方向縁部への乗り上げ完了を摺動情報Asに基づいて判定する判定部12と、乗り上げ完了が判定された場合に弁体3の回転を停止させる停止部14と、を備えている。
【選択図】図1
特許請求の範囲
【請求項1】
弁体と、ハウジングと、前記弁体及び前記ハウジングの一方に設けられたシール部材と、を具備するバルブ装置のバルブ制御装置であって、
前記シール部材には、前記弁体の回転に伴い前記弁体及び前記ハウジングの他方に対して摺動するとともに前記弁体の回転角度が所定範囲内のときに前記他方の壁面の軸方向縁部に乗り上げて前記壁面との隙間をシールするリブが設けられており、
前記バルブ制御装置は、
前記リブの摺動時に前記弁体に作用する摺動トルクに関する摺動情報を取得する取得部と、
前記リブの前記軸方向縁部への乗り上げ完了を前記摺動情報に基づいて判定する判定部と、
前記乗り上げ完了が判定された場合に前記弁体の回転を停止させる停止部と、を備えた
ことを特徴とする、バルブ制御装置。
続きを表示(約 1,300 文字)
【請求項2】
前記停止部は、前記乗り上げ完了が判定されてから前記弁体が所定角度又は所定時間だけ回転した時点で、前記弁体の回転を停止させる
ことを特徴とする、請求項1に記載のバルブ制御装置。
【請求項3】
前記判定部は、前記摺動情報に基づいて、前記摺動トルクが上昇し始めた時点で前記リブの前記軸方向縁部への乗り上げ開始を判定し、前記乗り上げ開始の判定後に前記摺動トルクの下降を検出した時点で前記乗り上げ完了を判定する
ことを特徴とする、請求項1または2に記載のバルブ制御装置。
【請求項4】
前記弁体の回転を停止させるときの理論上の前記回転角度である目標角度を記憶する記憶部を更に備え、
前記停止部は、前記乗り上げ開始が判定されていない場合、前記弁体又は前記弁体を回転させる回転軸の実回転角度が前記記憶部に記憶された前記目標角度になった時点で、前記弁体の回転を停止させ、前記乗り上げ開始が判定され且つ前記乗り上げ完了が判定されていない場合には前記目標角度に所定の角度を加えた角度となった時点で前記弁体の回転を停止させる
ことを特徴とする、請求項3に記載のバルブ制御装置。
【請求項5】
前記取得部は、前記リブと前記壁面とが接触していない定常時に前記弁体に作用する定常トルクに関する定常情報を取得し、
前記判定部は、前記摺動情報及び前記定常情報に基づいて前記摺動トルクが前記定常トルクよりも大きいことを確認してから、前記摺動情報に基づく前記乗り上げ完了の判定を実施する
ことを特徴とする、請求項1または2に記載のバルブ制御装置。
【請求項6】
前記判定部は、前記弁体又は前記弁体を回転させる回転軸の実回転角度が前記所定範囲内であることを確認してから、前記摺動情報に基づく前記乗り上げ完了の判定を実施する
ことを特徴とする、請求項1または2に記載のバルブ制御装置。
【請求項7】
前記取得部は、前記リブが前記他方に対して摺動するときに前記弁体の駆動に要する電流値を前記摺動情報として取得し、
前記判定部は、前記電流値の微分値が正の値から負の値に変化した時点で前記乗り上げ完了を判定する
ことを特徴とする、請求項1または2に記載のバルブ制御装置。
【請求項8】
弁体と、ハウジングと、前記弁体及び前記ハウジングの一方に設けられたシール部材と、を具備するバルブ装置のバルブ制御方法であって、
前記シール部材には、前記弁体の回転に伴い前記弁体及び前記ハウジングの他方に対して摺動するとともに前記弁体の回転角度が所定範囲内のときに前記他方の壁面の軸方向縁部に乗り上げて前記壁面との隙間をシールするリブが設けられており、
前記バルブ制御方法は、
前記リブの摺動時に前記弁体に作用する摺動トルクに関する摺動情報を取得し、
前記リブの前記軸方向縁部への乗り上げ完了を前記摺動情報に基づいて判定し、
前記乗り上げ完了が判定された場合に前記弁体の回転を停止させる
ことを特徴とする、バルブ制御方法。
発明の詳細な説明
【技術分野】
【0001】
本件は、ハウジングに対する弁体の回転位置によって流路を切り替えるバルブ装置の制御装置及び制御方法に関する。
続きを表示(約 1,800 文字)
【背景技術】
【0002】
従来、ハウジングに対して回転可能に設けられた弁体の回転角度(回転位置)に応じて流路の連通状態を切り替えるバルブ装置が知られている。例えば特許文献1には、バルブハウジングに設けられた複数のポートに対してステムシェル(弁体に相当)を回転させることで、クーラントの流路を選択的に結合させるマルチポートバルブが開示されている。このマルチポートバルブでは、ポートとステムシェルとの間にポートシール(シール部材)を配置することで、両者の隙間をシールするようにしている。
【先行技術文献】
【特許文献】
【0003】
特許第6588646号公報
【発明の概要】
【発明が解決しようとする課題】
【0004】
特許文献1に記載されるように、ハウジングと弁体との隙間のシール性を高めるうえでは、ハウジング及び弁体のいずれか一方にシール部材(例えばパッキン)を設けることが有効である。この場合、ハウジング及び弁体の一方に設けたシール部材に、リブとも呼ばれる凸条を設け、このリブをハウジング及び弁体の他方の壁面に当接させることが更に有効である。しかしながら、リブが上記の壁面に確実に当接した状態(リブが壁面に乗り上げた状態)とならないと、ハウジングと弁体との隙間のシール性を有効に高められない虞がある。
【0005】
本件は、このような課題に鑑み案出されたものであり、ハウジングと弁体との隙間のシール性を効果的に高めることを目的の一つとする。なお、この目的に限らず、後述する発明を実施するための形態に示す各構成により導かれる作用効果であって、従来の技術によっては得られない作用効果を奏することも本件の他の目的である。
【課題を解決するための手段】
【0006】
本件は、以下に開示する態様(適用例)として実現でき、上記の課題の少なくとも一部を解決する。態様2~7の各態様は、いずれもが付加的に適宜選択されうる態様であって、いずれもが省略可能な態様である。態様2~7の各態様は、いずれもが本件にとって必要不可欠な態様や構成を開示するものではない。
【0007】
態様1.開示のバルブ制御装置は、弁体と、ハウジングと、前記弁体及び前記ハウジングの一方に設けられたシール部材と、を具備するバルブ装置の制御装置である。前記シール部材には、前記弁体の回転に伴い前記弁体及び前記ハウジングの他方に対して摺動するとともに前記弁体の回転角度が所定範囲内のときに前記他方の壁面の軸方向縁部に乗り上げて前記壁面との隙間をシールするリブが設けられている。前記バルブ制御装置は、前記リブの摺動時に前記弁体に作用する摺動トルクに関する摺動情報を取得する取得部と、前記リブの前記軸方向縁部への乗り上げ完了を前記摺動情報に基づいて判定する判定部と、前記乗り上げ完了が判定された場合に前記弁体の回転を停止させる停止部と、を備えたことを特徴とする。
【0008】
態様2.上記の態様1において、前記停止部は、前記乗り上げ完了が判定されてから前記弁体が所定角度又は所定時間だけ回転した時点で、前記弁体の回転を停止させることが好ましい。
【0009】
態様3.上記の態様1または2において、前記判定部は、前記摺動情報に基づいて、前記摺動トルクが上昇し始めた時点で前記リブの前記軸方向縁部への乗り上げ開始を判定し、前記乗り上げ開始の判定後に前記摺動トルクの下降を検出した時点で前記乗り上げ完了を判定することが好ましい。
【0010】
態様4.上記の態様3において、前記バルブ制御装置は、前記弁体の回転を停止させるときの理論上の前記回転角度である目標角度を記憶する記憶部を更に備えることが好ましい。また、前記停止部は、前記乗り上げ開始が判定されていない場合、前記弁体又は前記弁体を回転させる回転軸の実回転角度が前記記憶部に記憶された前記目標角度になった時点で、前記弁体の回転を停止させ、前記乗り上げ開始が判定され且つ前記乗り上げ完了が判定されていない場合には前記目標角度に所定の角度を加えた角度となった時点で前記弁体の回転を停止させることが好ましい。
(【0011】以降は省略されています)
この特許をJ-PlatPat(特許庁公式サイト)で参照する
関連特許
株式会社アイシン
車両
6日前
株式会社アイシン
車両
6日前
株式会社アイシン
熱交換器
6日前
株式会社アイシン
熱交換器
6日前
株式会社アイシン
操作検出装置
今日
株式会社アイシン
ヒートシンク
19日前
株式会社アイシン
動力変換装置
6日前
株式会社アイシン
キックセンサ
19日前
株式会社アイシン
電力変換装置
19日前
株式会社アイシン
車両用駆動装置
21日前
株式会社アイシン
冷却モジュール
19日前
株式会社アイシン
車両用ドア装置
19日前
株式会社アイシン
車両用駆動装置
19日前
株式会社アイシン
車両用駆動装置
6日前
株式会社アイシン
回転角検出装置
6日前
株式会社アイシン
車両用駆動伝達装置
6日前
株式会社アイシン
車両用駆動伝達装置
21日前
株式会社アイシン
車両用駆動伝達装置
22日前
株式会社アイシン
車両用のドアロック装置
19日前
株式会社アイシン
ペロブスカイト太陽電池
20日前
株式会社アイシン
静電容量センサシステム
20日前
株式会社アイシン
バルブ制御装置及びバルブ制御方法
22日前
株式会社アイシン
ペロブスカイト太陽電池の製造方法
7日前
株式会社アイシン
バルブ装置の学習装置及び学習方法
22日前
株式会社アイシン
水性エマルジョン系制振塗料組成物及びその硬化塗膜
19日前
株式会社アイシン
ホール輸送材料およびホール輸送材料を用いた太陽電池
29日前
株式会社アイシン
ホール輸送材料およびホール輸送材料を用いた太陽電池
27日前
株式会社アイシン
ペロブスカイト太陽電池及びペロブスカイト太陽電池の製造方法
1か月前
ミクロエース株式会社
被覆銅材の剥離処理方法、処理装置、処理装置制御部およびプログラム
27日前
個人
留め具
1か月前
個人
鍋虫ねじ
3か月前
個人
紛体用仕切弁
3か月前
個人
回転伝達機構
3か月前
個人
ホース保持具
7か月前
個人
トーションバー
7か月前
個人
差動歯車用歯形
5か月前
続きを見る
他の特許を見る