TOP
|
特許
|
意匠
|
商標
特許ウォッチ
Twitter
他の特許を見る
10個以上の画像は省略されています。
公開番号
2025051159
公報種別
公開特許公報(A)
公開日
2025-04-04
出願番号
2023160118
出願日
2023-09-25
発明の名称
トーションバー
出願人
個人
代理人
主分類
F16F
1/14 20060101AFI20250328BHJP(機械要素または単位;機械または装置の効果的機能を生じ維持するための一般的手段)
要約
【課題】構造の簡素化と省スペース化を図り、汎用性の高いトーションバーを提供する。
【解決手段】周方向の捩れ弾性力を有する内杆と、内杆を内包し、周方向の捩れ弾性力を有する外杆と、軸方向の中央部で内杆と外杆とを固着して連結する連結部を設け、内杆と外杆の軸方向両端部に、弾性力を付与する対象物との連結部を設ける。内杆と外杆との間で且つ軸方向端部側に、内杆と外杆の半径方向の相対移動を規制しながら軸周方向の相対回動を許容する規制部を設ける。
【選択図】図1
特許請求の範囲
【請求項1】
周方向の捩れ弾性力を有する内杆と、該内杆を内包し、周方向の捩れ弾性力を有する外杆と、軸方向の中央部で前記内杆と前記外杆とを固着して連結する連結部を設け、前記内杆と前記外杆の軸方向両端部に、弾性力を付与する対象物との連結部を設けたことを特徴とするトーションバー。
続きを表示(約 170 文字)
【請求項2】
前記内杆と外杆との間で且つ軸方向端部側に、該内杆と外杆の半径方向の相対移動を規制しながら軸周方向の相対回動を許容する規制部を設けたことを特徴とする請求項1に記載のトーションバー。
【請求項3】
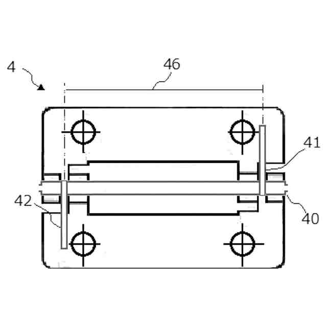
前記規制部を、前記外杆を位置決め支持する軸支部の直近に設けたことを特徴とする請求項2に記載のトーションバー。
発明の詳細な説明
【技術分野】
【0001】
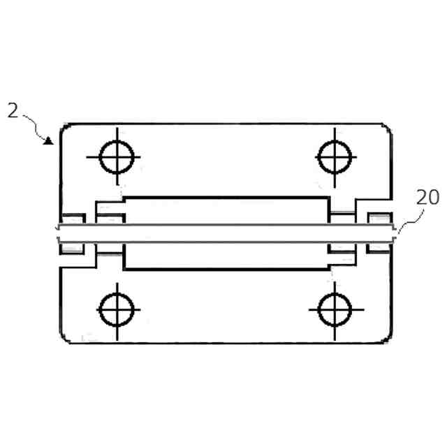
本発明は、多重軸構成のトーションバーに関するものである。
続きを表示(約 1,900 文字)
【背景技術】
【0002】
四輪車では左右の荷重の差がストローク差となり、過大なストローク差は車体を傾け操縦安定性を損じる。原因となるストローク差を制限しスポーツ走行の性能を高めながら柔らかい乗り心地を温存できる機構として、スタビライザー付き独立懸架サスペンションがある。スタビライザーはトーションバーの別名である。それを簡略化したものがトーションビーム式サスペンションであり、トーションビーム式サスペンションは現在四輪乗用車の後輪用としては最も使われている方式である。(特許文献1)トーションビーム式サスペンションは、離間した二点のそれぞれにコイルばねを有するサスペンション機構を設け、二つのサスペンション機構をトーションビームで連結する構造であるため、離間した二点の荷重を夫々に受けとめる、又は弾性力を夫々に与えるサスペンション機構と、離間した二点の位相差に抵抗するスタビライザー機能とを有したものであるので、独立懸架サスペンションよりいくらか簡略化されてはいるものの、依然として大きな配置空間を必要とする。
【0003】
また、車両の後部座席に座した搭乗者が使用する後付けのテーブルが知られている。それらはシートバックテーブル等の商品名から分かるように、座席背もたれに取付けるだけの簡易な構造であり、最近のアウトドア、車中泊などのニーズに応えられる本格的な耐荷重のテーブルを提供するには不十分である。耐荷重が高いテーブルを、使用する車種に関わらず単一の固定構造で固定するためには、前座席の背凭れ部と後座席の床面との間で弾性的に突っ張り支持することが有効であるが、この固定装置を後座席に座す搭乗者の足元で邪魔にならないように、且つ比較的強い固定力を持つように構成するのは困難であった。(特許文献2)
【先行技術文献】
【特許文献】
【0004】
特許第6014136号公報
意匠第号1752187公報
【発明の概要】
【発明が解決しようとする課題】
【0005】
本発明は、離間した二点の荷重を夫々に受けとめる、又は弾性力を夫々に与えるサスペンション機構と、離間した二点の位相差に抵抗するスタビライザー機能とを単一のトーションバーを用いて構成することにより、構造の簡素化と省スペース化を図り、汎用性の高いトーションバーを提供することを課題とする。
【課題を解決するための手段】
【0006】
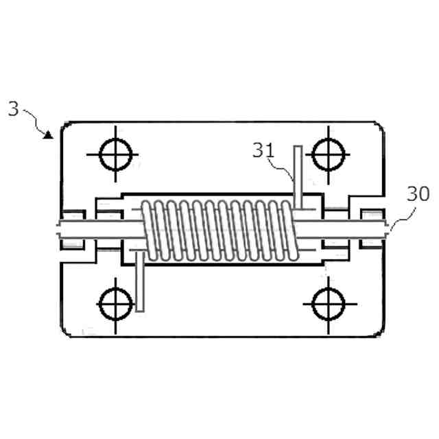
上記課題を解決するため、本発明のトーションバーは、軸周方向の捩れ弾性力を有する内杆と、該内杆を内包し、軸周方向の捩れ弾性力を有する外杆と、軸方向の中央部で前記内杆と前記外杆とを固着して連結する連結部を設け、前記内杆と前記外杆の軸方向両端部に、弾性力を付与する対象物との連結部を設けたことを第1の特徴とする。
【0007】
また、前記内杆と外杆との間で且つ軸方向端部側に、該内杆と外杆の半径方向の相対移動を規制しながら軸周方向の相対回動を許容する規制部を設けたことを第2の特徴とする。
【0008】
そして、前記規制部を、前記外杆を位置決め支持する軸支部の直近に設けたことを第3の特徴とする。
【発明の効果】
【0009】
本願発明のトーションバーは、軸周方向の捩れ弾性力を有する内杆と、該内杆を内包し、軸周方向の捩れ弾性力を有する外杆と、軸方向の中央部で前記内杆と前記外杆とを固着して連結する連結部を設け、前記内杆と前記外杆の軸方向両端部に、弾性力を付与する対象物との連結部を設けたことにより、離間した二点に荷重を与える、又は受け止めるための弾性力と、当該離間した二点の位相差に抵抗する弾性力とを有する機構を、単一のトーションバーの軸回りの構成で完結することができ、同機構の構成の簡素化と省スペース化を実現できると共に、汎用性の高いトーションバーを提供することができる。
【0010】
また、前記内杆と外杆との間で且つ軸方向端部側に、該内杆と外杆の半径方向の相対移動を規制しながら軸周方向の相対回動を許容する規制部を設けたので、軸方向の断面視において、内杆と外杆、中央に位置する連結部、及び軸方向端部側に位置する規制部とで閉じた矩形状を形成することができ、トーションバーとしての十分な捩じれの許容と、半径方向の歪みを規制した強固な軸構成の両立を図ることができる。
(【0011】以降は省略されています)
この特許をJ-PlatPat(特許庁公式サイト)で参照する
関連特許
個人
留め具
23日前
個人
鍋虫ねじ
2か月前
個人
紛体用仕切弁
2か月前
個人
ホース保持具
6か月前
個人
回転伝達機構
3か月前
個人
差動歯車用歯形
4か月前
個人
トーションバー
7か月前
個人
給排気装置
1か月前
個人
ジョイント
1か月前
株式会社不二工機
電磁弁
5か月前
個人
ナット
1日前
個人
ナット
1か月前
個人
地震の揺れ回避装置
3か月前
株式会社不二工機
電磁弁
4か月前
個人
吐出量監視装置
2か月前
カヤバ株式会社
ダンパ
4か月前
兼工業株式会社
バルブ
2日前
カヤバ株式会社
ダンパ
4か月前
カヤバ株式会社
緩衝器
4か月前
柿沼金属精機株式会社
分岐管
2か月前
カヤバ株式会社
緩衝器
29日前
カヤバ株式会社
緩衝器
4か月前
株式会社三協丸筒
枠体
7か月前
株式会社三五
ドライブシャフト
15日前
個人
固着具と固着具の固定方法
5か月前
個人
固着具と固着具の固定方法
7か月前
株式会社不二工機
電動弁
1か月前
株式会社ノーリツ
分配弁
6か月前
株式会社ノーリツ
分配弁
1か月前
株式会社ノーリツ
分配弁
6か月前
株式会社ノーリツ
分配弁
6か月前
株式会社ニフコ
クリップ
1か月前
個人
固着具と固着具の固定方法
5か月前
個人
固着具と固着具の固定方法
5か月前
株式会社奥村組
制振機構
1か月前
株式会社奥村組
制振機構
1か月前
続きを見る
他の特許を見る