TOP
|
特許
|
意匠
|
商標
特許ウォッチ
Twitter
他の特許を見る
10個以上の画像は省略されています。
公開番号
2025056683
公報種別
公開特許公報(A)
公開日
2025-04-08
出願番号
2023177873
出願日
2023-09-26
発明の名称
固着具と固着具の固定方法
出願人
個人
代理人
主分類
F16B
37/04 20060101AFI20250331BHJP(機械要素または単位;機械または装置の効果的機能を生じ維持するための一般的手段)
要約
【課題】量産化に適した熱可塑性樹脂だけでなく熱硬化性樹脂でできた成形品部材に設けられた孔やカーボン(炭素基材)に設けられた孔に固定できる固着具と固着具の固定方法を提供する。
【解決手段】本発明の固着具1は、短い円柱状の本体2に端面aを有する外側周面上に設けられてローレット(凹凸条)を有する頭部3、小径部4、外側周面上に設けられ方形網目のローレット(凹凸条)を有する栓体部5、および後端部6を有して設けられている。頭部3は、後述する熱可塑性樹脂でできた成形品部材の孔径と同じ外径で加工されている。栓体部5は、小径部4に接する側を最大外径とした円錐台形状となっていて後端部6に向かって外径を小さくしている。この円錐台形状は勾配の角度が4度となっている。さらに、栓体部5には溝7が設けられている。
【選択図】図1
特許請求の範囲
【請求項1】
素材に設けられた孔に加熱・加圧されて固定されるナット状の金属製の固着具であって、
円柱状の本体に上記孔の孔径と同じ外径の頭部と、
この頭部に隣接して前記円柱状の本体の外側周面上に多数の凹凸条を有し、前記頭部に接する側を最大外径として円錐台形状に所定の勾配で外径が小さくなる栓体部と、
この栓体部の外側周面上に設けられた溝と、
を具備したことを特徴とする固着具。
続きを表示(約 2,100 文字)
【請求項2】
合成樹脂の成形品部材に設けられた孔、または炭素基材に設けられた孔に加熱・加圧されて固定されるナット状の金属製の固着具であって、
円柱状の本体に上記孔の孔径と同じ外径の頭部と、
この頭部に隣接して前記円柱状の本体の外側周面上に多数の凹凸条を有し、前記頭部に接する側を最大外径として円錐台形状に所定の勾配で外径が小さくなる栓体部と、
この栓体部の外側周面上に設けられた溝と、
を具備したことを特徴とする固着具。
【請求項3】
素材に設けられた孔に加熱・加圧されて固定されるナット状の金属製の固着具であって、
円柱状の本体に上記孔の孔径と同じ外径の頭部と、
この頭部に隣接して前記円柱状の本体の外側周面上に多数の凹凸条を有し、前記頭部に接する側を最大外径として円錐台形状に所定の勾配で外径が小さくなる第1の栓体部と、
この第1の栓体部に隣接して設けられた溝と、
この溝に隣接して前記円柱状の本体の外側周面上に多数の凹凸条を有し、前記溝に接する側を最大外径として円錐台形状に所定の勾配で外径が小さくなる第2の栓体部と、
を具備したことを特徴とする固着具。
【請求項4】
合成樹脂の成形品部材に設けられた孔、または炭素基材に設けられた孔に加熱・加圧されて固定されるナット状の金属製の固着具であって、
円柱状の本体に上記孔の孔径と同じ外径の頭部と、
この頭部に隣接して前記円柱状の本体の外側周面上に多数の凹凸条を有し、前記頭部に接する側を最大外径として円錐台形状に所定の勾配で外径が小さくなる第1の栓体部と、
この第1の栓体部に隣接して設けられた溝と、
この溝に隣接して前記円柱状の本体の外側周面上に多数の凹凸条を有し、前記溝に接する側を最大外径として円錐台形状に所定の勾配で外径が小さくなる第2の栓体部と、
を具備したことを特徴とする固着具。
【請求項5】
熱可塑性樹脂の成形品部材に設けられた孔に加熱・加圧されて固定されるナット状の金属製の固着具の固定方法であって、
上記固着具は、円柱状の本体に上記孔の孔径と同じ外径の頭部と、この頭部に隣接して前記円柱状の本体の外側周面上に多数の凹凸条を有し、前記頭部に接する側を最大外径として円錐台形状に所定の勾配で外径が小さくなる栓体部と、この栓体部の外側周面上に設けられた溝とを有し、
上記熱可塑性樹脂の成形品部材は、上部に第1の孔と、底部に前記第1の孔の内径より小さい内径の第2の孔とからなる2段孔を有し、
前記2段孔に前記固着具が挿入された際、前記固着具の頭部が加熱・加圧されて前記固着具が前記2段孔に固定されることを特徴とする固着具の固定方法。
【請求項6】
合成樹脂の成形品部材に設けられた孔に加熱・加圧されて固定されるナット状の金属製の固着具であって、
上記固着具は、円柱状の本体に上記孔の孔径と同じ外径の頭部と、この頭部に隣接して前記円柱状の本体の外側周面上に多数の凹凸条を有し、前記頭部に接する側を最大外径として円錐台形状に所定の勾配で外径が小さくなる栓体部と、この栓体部の外側周面上に設けられた溝とを有し、
上記合成樹脂の成形品部材に設けられた孔に熱可塑性樹脂のリングが置かれた後、前記孔に前記固着具が挿入された際、前記固着具の頭部が加熱・加圧され前記固着具の栓体部により前記リングが溶融されて前記固着具が前記孔に固定されることを特徴とする固着具の固定方法。
【請求項7】
炭素基材に設けられた孔に加熱・加圧されて固定されるナット状の金属製の固着具であって、
上記固着具は、円柱状の本体に上記孔の孔径と同じ外径の頭部と、この頭部に隣接して前記円柱状の本体の外側周面上に多数の凹凸条を有し、前記頭部に接する側を最大外径として円錐台形状に所定の勾配で外径が小さくなる栓体部と、この栓体部の外側周面上に設けられた溝とを有し、
上記炭素基材に設けられた孔に熱可塑性樹脂のリングが置かれた後、前記孔に前記固着具が挿入された際、前記固着具の頭部が加熱・加圧され前記固着具の栓体部により前記リングが溶融されて前記固着具が前記孔に固定されることを特徴とする固着具の固定方法。
【請求項8】
上記素材は、熱可塑性樹脂、熱硬化性樹脂、炭素基材、ポリカーボネート、木材、ガラス、陶器のいずれか1つであることを特徴とする請求項1又は請求項3に記載の固着具。
【請求項9】
上記リングは、熱可塑性樹脂または熱可塑性接着剤であって常温で固着具を固定することを特徴とする請求項6又は請求項7に記載の固着具。
【請求項10】
上記栓体部の勾配は、0.1度から10度であることを特徴とする請求項1又は請求項2に記載の固着具。
(【請求項11】以降は省略されています)
発明の詳細な説明
【技術分野】
【0001】
この発明は、量産化に適した合成樹脂の成形品部材やカーボン(炭素基材)に嵌め込み固定して使用するのに適した固着具と固着具の固定方法に関する。
続きを表示(約 2,500 文字)
【背景技術】
【0002】
従来、合成樹脂の成形品からなる部材にねじ孔を形成してボルトなどをねじ込み固定すると、引張り、ねじり、振動その他の外力を受けたとき、あるいはボルトなどを反覆して着脱したときにねじ孔が変形し、または破壊して使用できなくなる。
そこで、合成樹脂等の成形品部材に設けられた孔に対して、嵌め込み固定してボルトなどを安定よく固定しておくことができると共に反覆着脱に耐えるようにしたナット状の金属製固着具(インサート)が実用化されている。さらに、このような固着具が成形品部材の孔に喰い込んで充分な強度で固定されるように固着具の外側周面にローレット状その他の凹凸を設ける方法が提案されている(例えば特許文献1、2)。
【0003】
このような固着具を成形品部材に嵌め込む際は、成形品部材に設けられたボス孔に固着具を加熱(200℃前後)しながら加圧して嵌め込んでいる。このような合成樹脂の成形品部材は熱可塑性樹脂であるからできることである。素材の合成樹脂が熱可塑性樹脂でなく熱硬化性樹脂の成形品部材やカーボン(炭素基材)などは加熱(200℃前後)しても溶けないのであるからこのような構成で固着具を嵌め込み固定するのは無理なことである。
そこで本発明者は、合成樹脂として熱可塑性樹脂だけでなく熱硬化性樹脂でできた成形品部材に設けられた孔やカーボン(炭素基材)に設けられた孔に固定できる固着具と固着具の固定方法に関して本年7月10日に出願した。特願2023-133165
【0004】
しかしながら、上述した固着具は固着具後端部に熱可塑性樹脂が接着剤等で取り付けられている。これでは、固着具に熱可塑性樹脂を取り付ける手間がかかって量産化に向いていないという課題があった。
【先行技術文献】
【特許文献】
【0005】
特開昭50-85756号公報
特開昭58-124809号公報
【発明の概要】
【発明が解決しようとする課題】
【0006】
上記したように、特願2023-133165で出願した固着具は固着具後端部に熱可塑性樹脂を接着剤等で取り付けるため固着具に熱可塑性樹脂を取り付ける手間がかかって量産化に向いていないという課題があった。この発明の目的は、量産化に適した熱可塑性樹脂だけでなく熱硬化性樹脂でできた成形品部材に設けられた孔やカーボン(炭素基材)に設けられた孔に固定できる固着具と固着具の固定方法を提供することである。
【課題を解決するための手段】
【0007】
そこで、本発明は、素材に設けられた孔に加熱・加圧されて固定されるナット状の金属製の固着具であって、円柱状の本体に上記孔の孔径と同じ外径の頭部と、この頭部に隣接して前記円柱状の本体の外側周面上に多数の凹凸条を有し、前記頭部に接する側を最大外径として円錐台形状に所定の勾配で外径が小さくなる栓体部と、この栓体部の外側周面上の中央に設けられた溝とを具備したものである。
また、本発明は、熱可塑性樹脂の成形品部材に設けられた孔に加熱・加圧されて固定されるナット状の金属製の固着具の固定方法であって、上記固着具は、円柱状の本体に上記孔の孔径と同じ外径の頭部と、この頭部に隣接して前記円柱状の本体の外側周面上に多数の凹凸条を有し、前記頭部に接する側を最大外径として円錐台形状に所定の勾配で外径が小さくなる栓体部と、この栓体部の外側周面上に設けられた溝とを有し、上記熱可塑性樹脂の成形品部材は、上部に第1の孔と、底部に前記第1の孔の内径より小さい内径の第2の孔とからなる2段孔を有し、前記2段孔に前記固着具が挿入された際、前記固着具の頭部が加熱・加圧されて前記固着具が前記2段孔に固定されるようにしたものである。
【発明の効果】
【0008】
本発明は、量産化に適した熱可塑性樹脂だけでなく熱硬化性樹脂でできた成形品部材に設けられた孔やカーボン(炭素基材)に設けられた孔に固定できる固着具と固着具の固定方法を提供することが可能となる。
【図面の簡単な説明】
【0009】
本発明の実施の形態に係る第1実施例が適用可能な固着具の一例を示す片側断面図。
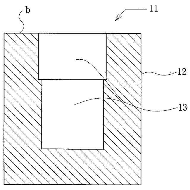
第1実施例が適用可能な成形品部材の形状を示す断面図。
固着具が成形品部材の孔に仮置きされた状態を示す図。
固着具が成形品部材の孔に固定された状態を示す図。
第2実施例に用いられるリングの断面図。
第2実施例が適用可能な成形品部材の形状を示す断面図。
第2実施例が適用可能なリングと成形品部材の形状を示す断面図。
第2実施例における固着具が成形品部材の孔に仮置きされた状態を示す図。
第2実施例における固着具が成形品部材の孔に固定された状態を示す図。
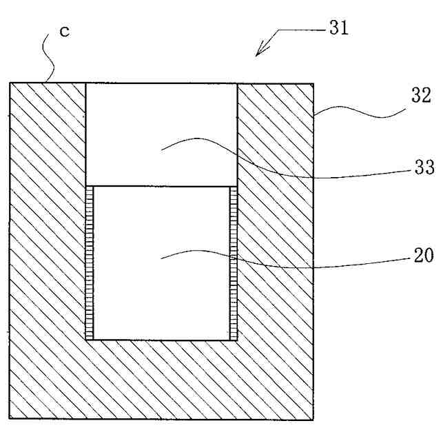
第3実施例が適用可能なカーボン(炭素基材)の形状を示す断面図。
【発明を実施するための形態】
【0010】
以下、図面を参照して、この発明の実施の形態について詳細に説明する。
図1は、この発明の第1実施例に係るインサートと呼ばれる固着具1を示す片側断面図である。すなわち、この固着具1は、短い円柱状の本体2に端面aを有する外側周面上に設けられてローレット(凹凸条)を有する頭部3、小径部4、外側周面上に設けられ方形網目のローレット(凹凸条)を有する栓体部5、および後端部6を有して設けられている。
頭部3は、後述する熱可塑性樹脂でできた成形品部材の孔径と同じ外径で加工されている。この頭部は固着具の大きさに応じて成形品部材の孔径より所定値小さくしても良い。
また、栓体部5は、小径部4に接する側を最大外径とした円錐台形状となっていて後端部6に向かって外径を小さくしている。そのため本実施例では勾配の角度が4度となっている。この勾配の角度は固着具の大きさや材質に応じて0.1度~10度の範囲で加工される。
(【0011】以降は省略されています)
この特許をJ-PlatPat(特許庁公式サイト)で参照する
関連特許
個人
留め具
18日前
個人
鍋虫ねじ
2か月前
個人
紛体用仕切弁
2か月前
個人
回転伝達機構
2か月前
個人
差動歯車用歯形
4か月前
個人
給排気装置
25日前
個人
ジョイント
1か月前
個人
ナット
1か月前
株式会社不二工機
電磁弁
4か月前
個人
地震の揺れ回避装置
3か月前
個人
吐出量監視装置
2か月前
カヤバ株式会社
ダンパ
4か月前
柿沼金属精機株式会社
分岐管
2か月前
カヤバ株式会社
緩衝器
3か月前
カヤバ株式会社
緩衝器
3か月前
カヤバ株式会社
緩衝器
24日前
カヤバ株式会社
ダンパ
4か月前
株式会社三五
ドライブシャフト
10日前
株式会社奥村組
制振機構
1か月前
株式会社奥村組
制振機構
1か月前
株式会社ニフコ
クリップ
29日前
アズビル株式会社
回転弁
1か月前
株式会社フジキン
ボールバルブ
4か月前
株式会社不二工機
電磁弁
2か月前
株式会社タカギ
水栓装置
2か月前
株式会社不二工機
電動弁
25日前
株式会社ノーリツ
分配弁
29日前
個人
ワンウェイベアリング
3か月前
株式会社オンダ製作所
識別リング
3か月前
株式会社有恒商会
伸縮継手
3か月前
株式会社不二越
転がり軸受
2か月前
株式会社ケアコム
取付器具
3か月前
アイホン株式会社
電気機器
1か月前
アマテイ株式会社
釘
3日前
株式会社ノナガセ
免震装置
11日前
個人
誘導電流活用式差動制限装置
29日前
続きを見る
他の特許を見る