TOP
|
特許
|
意匠
|
商標
特許ウォッチ
Twitter
他の特許を見る
公開番号
2025135645
公報種別
公開特許公報(A)
公開日
2025-09-19
出願番号
2024033498
出願日
2024-03-06
発明の名称
ジョイント
出願人
個人
代理人
個人
主分類
F16G
15/04 20060101AFI20250911BHJP(機械要素または単位;機械または装置の効果的機能を生じ維持するための一般的手段)
要約
【課題】強度の低下を抑制しつつ外観が良いジョイントを提供する。
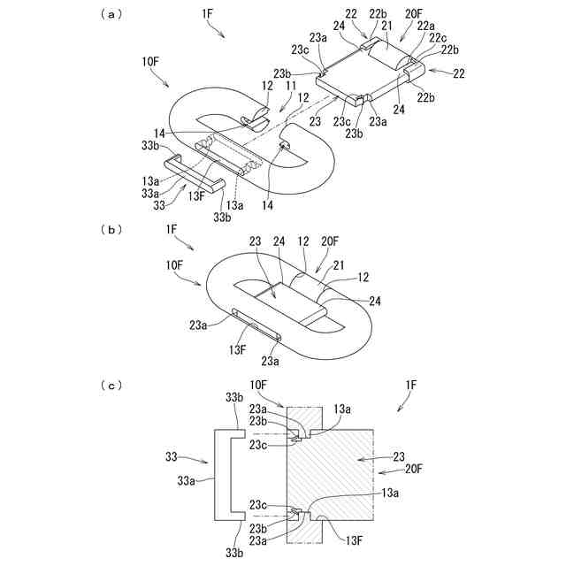
【解決手段】開口部11を有する環状のジョイント本体10と、閉鎖部材20とを具備しているジョイント1であり、ジョイント本体10には、開口部11とは反対側の部位に設けられている取付部13と、開口部11を間にした二つの端面12それぞれから凹んでいる第一凹部14a及び第一凹部14aから凹んでいる第二凹部14b、を有している連結凹部14と、を備え、閉鎖部材20には、開口部11に挿入されている棒状の閉鎖部21と、閉鎖部21の両端からそれぞれ突出している第一凸部22a及び第一凸部22aから突出している第二凸部22b、を有している連結凸部22と、閉鎖部21から延出しており先端が取付部13に取付けられている梁部23と、第一凸部22aと梁部23とを繋いでいる補強片24と、を備える。
【選択図】図1
特許請求の範囲
【請求項1】
開口部を有している環状のジョイント本体と、該ジョイント本体に取付けられており前記開口部を閉鎖している閉鎖部材と、を具備しているジョイントであって、
前記ジョイント本体は、
環状の中心を間にして前記開口部とは反対側の部位に設けられている取付部と、
前記開口部を間にした二つの端面それぞれから凹んでおり前記開口部と前記取付部とを結んだ方向へ貫通している第一凹部、及び、該第一凹部における前記端面よりも離れた部位から凹んでおり少なくとも前記取付部とは反対側へ開放されている第二凹部、を有している連結凹部と、を備え、
前記閉鎖部材は、
前記ジョイント本体の二つの前記端面同士を繋ぐように前記開口部に挿入されており、外表面が前記ジョイント本体における前記連結凹部が設けられている部位の外表面の延長面と一致している棒状の閉鎖部と、
該閉鎖部の両端からそれぞれ突出しており前記第一凹部に挿入されている第一凸部、及び、該第一凸部から突出しており前記第二凹部に挿入されている第二凸部、を有している連結凸部と、
前記閉鎖部から前記取付部へ延出していると共に先端が該取付部に取付けられている梁部と、
前記第一凸部と前記梁部とを繋いでおり、前記第一凸部と同一面上に設けられている補強片と、を備えている
ことを特徴とするジョイント。
発明の詳細な説明
【技術分野】
【0001】
本発明は、チェーンやロープを繋ぐためのジョイントに関するものである。
続きを表示(約 2,000 文字)
【背景技術】
【0002】
チェーンやロープを繋ぐためのジョイントとして、金属棒を環状に湾曲させて、二つの端面同士の間に開口部を形成したもの(所謂「ワリカン」)が知られている。このワリカンを使用してチェーンを繋ぐ場合は、開口部からチェーンの輪を通した上で、二つの端面同士が対面するように接近させて開口部が閉じられるように変形させた後、端面同士を溶接して接合することによりチェーンを繋ぐことができる。
【0003】
しかしながら、ワリカンを使用する場合、溶接する必要があると共に、溶接後に溶接ビードを磨く必要があり、手間がかかるという問題があった。
【0004】
ところで、開口部を有しているC字型の本体と、開口部を閉鎖するように本体に取付けられているT字型の閉鎖部材と、を備えたジョイントが提案されている(特許文献1)。詳述すると、本体には、開口部を間にした両側の端部それぞれに外方へ突出した凸部が設けられていると共に、本体において開口部とは反対側の部位(C字型の中間部)で凹んでいる取付凹部が設けられている。一方、閉鎖部材には、本体の凸部が挿入される凹部を両端に有し開口部を閉鎖している棒状の閉鎖部が設けられていると共に、閉鎖部における中央から取付凹部内へ延出している棒状の梁部が設けられている。
【0005】
この特許文献1の技術によれば、本体の凸部と閉鎖部材の凹部との係合により、繋がれたチェーンによって本体が引っ張られた時に開口部の開きが阻止されると共に、本体の取付凹部に閉鎖部材の梁部の先端を挿入してピンで取付けることにより、本体からの閉鎖部材の抜けが阻止される。これにより、ワリカンと比較して、溶接する必要がなく、チェーンを容易に繋ぐことが可能である。
【0006】
しかしながら、特許文献1の技術では、閉鎖部材の凹部が、本体の端部において突出している凸部を挿入させるものであるため、必然的に閉鎖部材における閉鎖部の外径が本体の端部の外径よりも大きくなっており、本体から閉鎖部材の閉鎖部が外方に突出している。そのため、本体から突出している閉鎖部が他の部材に引っ掛かる問題があると共に、ジョイントの外観が悪いという問題があった。
【0007】
そこで、本体においては、端部から所定範囲の外径を他の部位の外径よりも小さくすると共に、その端部の先端に他の部位の外径よりも小さく突出する凸部を設けた上で、閉鎖部材においては、閉鎖部の外径を本体における他の部位の外径と同じ大きさにすると共に凸部が挿入される凹部を設けることで、本体よりも閉鎖部が突出しないようにすることを想到し得る。しかしながら、この場合、凸部を設けた部位の外径が、元の外径よりも小さいため、繋いだチェーンにより引っ張られた時の強度が低下してしまうという問題がある。
【先行技術文献】
【特許文献】
【0008】
実全昭51-141760号公報
【発明の概要】
【発明が解決しようとする課題】
【0009】
そこで、本発明は、上記の実情に鑑み、強度の低下を抑制しつつ外観が良いジョイントの提供を課題とするものである。
【課題を解決するための手段】
【0010】
上記の課題を解決するために、本発明にかかるジョイントは、
「開口部を有している環状のジョイント本体と、該ジョイント本体に取付けられており前記開口部を閉鎖している閉鎖部材と、を具備しているジョイントであって、
前記ジョイント本体は、
環状の中心を間にして前記開口部とは反対側の部位に設けられている取付部と、
前記開口部を間にした二つの端面それぞれから凹んでおり前記開口部と前記取付部とを結んだ方向へ貫通している第一凹部、及び、該第一凹部における前記端面よりも離れた部位から凹んでおり少なくとも前記取付部とは反対側へ開放されている第二凹部、を有している連結凹部と、を備え、
前記閉鎖部材は、
前記ジョイント本体の二つの前記端面同士を繋ぐように前記開口部に挿入されており、外表面が前記ジョイント本体における前記連結凹部が設けられている部位の外表面の延長面と一致している棒状の閉鎖部と、
該閉鎖部の両端からそれぞれ突出しており前記第一凹部に挿入されている第一凸部、及び、該第一凸部から突出しており前記第二凹部に挿入されている第二凸部、を有している連結凸部と、
前記閉鎖部から前記取付部へ延出していると共に先端が該取付部に取付けられている梁部と、
前記第一凸部と前記梁部とを繋いでおり、前記第一凸部と同一面上に設けられている補強片と、を備えている」
ことを特徴とする。
(【0011】以降は省略されています)
この特許をJ-PlatPat(特許庁公式サイト)で参照する
関連特許
個人
留め具
19日前
個人
鍋虫ねじ
2か月前
個人
ホース保持具
6か月前
個人
回転伝達機構
2か月前
個人
紛体用仕切弁
2か月前
個人
トーションバー
7か月前
個人
差動歯車用歯形
4か月前
個人
ジョイント
1か月前
個人
給排気装置
26日前
株式会社不二工機
電磁弁
4か月前
個人
ボルトナットセット
7か月前
個人
地震の揺れ回避装置
3か月前
株式会社不二工機
電磁弁
5か月前
個人
ナット
1か月前
個人
吐出量監視装置
2か月前
柿沼金属精機株式会社
分岐管
2か月前
カヤバ株式会社
緩衝器
3か月前
カヤバ株式会社
緩衝器
3か月前
カヤバ株式会社
緩衝器
7か月前
カヤバ株式会社
ダンパ
4か月前
カヤバ株式会社
ダンパ
4か月前
カヤバ株式会社
緩衝器
25日前
株式会社三協丸筒
枠体
7か月前
株式会社不二工機
電動弁
26日前
株式会社ノーリツ
分配弁
1か月前
日東精工株式会社
樹脂被覆ねじ
7か月前
個人
固着具と固着具の固定方法
6か月前
株式会社タカギ
水栓装置
2か月前
株式会社フジキン
ボールバルブ
4か月前
個人
固着具と固着具の固定方法
5か月前
個人
固着具と固着具の固定方法
5か月前
株式会社三五
ドライブシャフト
11日前
株式会社ニフコ
クリップ
1か月前
日東電工株式会社
断熱材
6か月前
株式会社不二工機
電動弁
7か月前
株式会社ノーリツ
分配弁
5か月前
続きを見る
他の特許を見る