TOP
|
特許
|
意匠
|
商標
特許ウォッチ
Twitter
他の特許を見る
10個以上の画像は省略されています。
公開番号
2025147517
公報種別
公開特許公報(A)
公開日
2025-10-07
出願番号
2024047793
出願日
2024-03-25
発明の名称
給排気装置
出願人
個人
代理人
個人
主分類
F16K
24/00 20060101AFI20250930BHJP(機械要素または単位;機械または装置の効果的機能を生じ維持するための一般的手段)
要約
【課題】食品等の被収納物を収納する収納袋に給排気弁用の穴がなくても給排気弁を取り付け、収納袋内を真空にでき、大気圧状態に戻すことができる給排気装置を提供することを課題とする。
【解決手段】収納袋に脱着可能に固定される給排気弁と、給排気弁の上端開口部をガイドとする穴明け具とを備えた給排気装置であって、給排気弁は、収納袋の表面側に着設可能な円環状の上フランジ部を有する表面側構造部と、収納袋の裏面側に着設可能な、円環状の下フランジ部を有する裏面側構造部と、表面側構造部内に形成された弁室内に、弁座部に押付又は離隔可能な円板状の弁体、弁蓋部の下面と弁体の上面との間に介装させた、伸長方向に付勢力を有するコイルスプリング、及び、コイルスプリングの内側に貫入された弁棒を有する弁作動部と、を備え、螺合により給排気装置を収納袋に気密接触かつ脱着可能に固定可能とする給排気装置により課題解決ができた。
【選択図】 図2
特許請求の範囲
【請求項1】
給排気弁用穴が設けられていない密閉可能な収納袋の排気又は給気を可能とする、非通気性の材料からなる給排気装置であって、
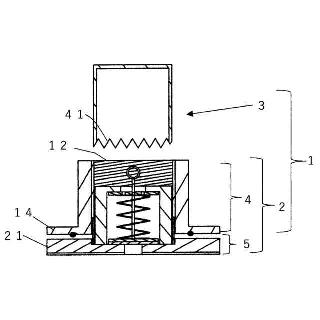
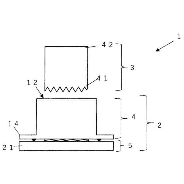
前記給排気装置は、前記収納袋に脱着可能に固定される給排気弁と、前記給排気弁の上端開口部をガイドとする、下端に刃を有する穴明け具とを備え、
前記給排気弁は、
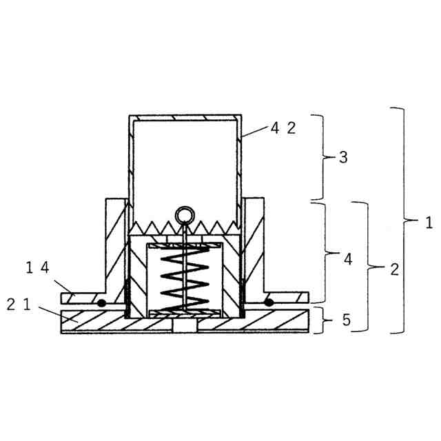
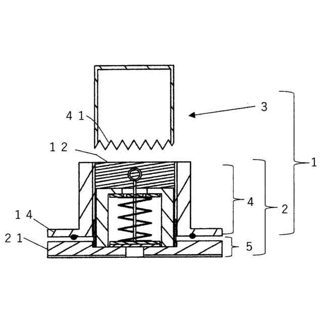
略円筒状の弁周壁部の上端部に設けた前記上端開口部、前記弁周壁部の下端部に設けた、前記収納袋の表面側に接する円環状の上フランジ部、並びに、前記弁周壁部の内部に、空気を遮断又は流動させる、弁体及びコイルスプリングを有する弁作動部を内設した弁室を有し、前記収納袋の表面側に着設可能な表面側構造部と、
前記上フランジ部に対向させ、前記収納袋の裏面側に接する円環状の下フランジ部、並びに、前記下フランジ部の半径方向で内側に空気を流動させる空気孔、及び、前記弁室の底面となる弁座を形成した弁座部を有し、前記収納袋の裏面側に着設可能な裏面側構造部とを備え、
前記穴明け具を前記上端開口部に押し込むことにより前記収納袋への給排気弁用穴加工が可能で、前記表面側構造部と前記裏面側構造部とを螺合により前記収納袋に気密接触かつ脱着可能に固定できることを特徴とする給排気装置。
続きを表示(約 1,400 文字)
【請求項2】
給排気弁用穴が設けられていない密閉可能な収納袋の排気又は給気を可能とする、非通気性の材料からなる給排気装置であって、
前記給排気装置は、前記収納袋に脱着可能に固定される給排気弁と、前記給排気弁の上端開口部をガイドとする穴明け具とを備え、
前記給排気弁は、前記収納袋の表面側に着設可能な表面側構造部と、前記収納袋の裏面側に着設可能な裏面側構造部と、を備え、
前記表面側構造部は、
弁室の周壁を形成する弁周壁部と、
前記弁周壁部を前記弁室より上方に延在させた延在部分に設けた、略円筒状の前記穴明け具を嵌入可能な前記上端開口部と、
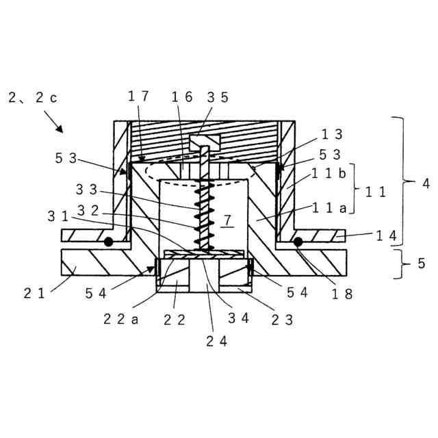
前記弁室の上壁を形成する、上面に前記穴明け具の下端部が当接可能な平面状の当接面を形成し、弁棒用孔及び空気孔を形成した円板状の弁蓋部と、
前記弁周壁部の下端部に半径方向で外側に設けられ、前記収納袋の表面に気密接触させる円環状の上フランジ部と、を備え、
前記裏面側構造部は、
前記上フランジ部に対向させて前記収納袋の裏面に気密接触させる円環状の下フランジ部と、
前記下フランジ部より半径方向で内側に設けられ、前記弁室の底壁を形成する、内側に空気孔を形成した円環状の弁座部と、を備え、
前記弁座部に押付又は離隔可能な円板状の弁体、前記弁蓋部の下面と前記弁体の上面との間に介装させた、伸長方向に付勢力を有するコイルスプリング、及び、前記弁体に下端部を連結され、前記コイルスプリングの内側に貫入され、前記弁棒用孔を挿通され前記上端開口部から突出可能な弁棒とを有する、前記弁室内に内設される弁作動部と、を備え、
前記穴明け具を前記上端開口部に押し込むことにより前記収納袋への給排気弁用穴加工が可能で、
前記表面側構造部の前記上フランジ部と前記裏面側構造部の前記下フランジ部とは螺合により前記収納袋に気密接触かつ脱着可能に固定でき、円環状の前記座面部と一体化した部位を螺合により前記座面部が前記弁室の底壁を形成するように配設可能とし、
前記コイルスプリングの付勢力により前記弁体を前記弁座部に押付可能とし、前記上端開口部に嵌入される真空手段の吸引により、又は、前記弁棒を上方に移動させることにより、前記弁体を前記弁座部から離隔可能とすることを特徴とする給排気装置。
【請求項3】
前記弁蓋部の形態が、前記弁周壁部と前記弁蓋部とが一体化された弁蓋第一形態、あるいは、前記弁蓋部が、前記弁周壁部から半径方向で内側に円周方向全周に亘って突設された、前記当接面を形成する円環状で顎状の第一弁蓋部と、円環状の前記第一弁蓋部の下面に当接する、前記弁棒用孔及び前記空気孔を形成した円板状の第二弁蓋部とに分割された弁蓋第二形態であることを特徴とする請求項2に記載の給排気装置。
【請求項4】
少なくとも前記弁座部の下面に、前記弁座部の内周縁から半径方向で外周縁まで連通する溝部を設けたことを特徴とする請求項1又は2に記載の給排気装置。
【請求項5】
前記穴明け具が、前記上部開口部に嵌入可能な円筒状部位を有し、前記円筒状部位の下端部に、先端が尖った鋭角の三角形の刃を円周方向に全周に亘って複数設け、前記刃は先端にいくほど肉厚を薄くし、前記円筒状部位の上端部に押下げ又は旋回操作を可能とする操作部位を設けたことを特徴とする請求項1又は2に記載の給排気装置。
発明の詳細な説明
【技術分野】
【0001】
本発明は、食品等の被収納物を出し入れする開口部を封止するチャック部がある収納袋に給排気弁用の穴がなくても、収納袋内を真空状態にすることができ、被収納物が真空状態で収納されている収納袋内を大気圧状態に戻すことができる給排気装置に関する。
続きを表示(約 3,000 文字)
【背景技術】
【0002】
特許文献1には、上蓋、中蓋、下蓋を含み、前記下蓋が真空圧縮袋の内部にあり、前記上蓋が真空圧縮袋の外部にあり、前記中蓋の内部に吸気パイプが設置され、前記吸気パイプの上部が挿入口であり、前記吸気パイプの下部に固定カバーが設置され、前記固定カバーと前記吸気パイプとが内部に配置される固定桶が形成され、前記下蓋の上部に穴凸部が設置され、前記穴凸部の底部に設置されている吸気スペーサが吸気口の上方を覆い、前記下蓋と前記中蓋とが、前記穴凸部が前記固定桶に挿入されて固定・連接され、前記上蓋に穴あけ装置が設置され、前記穴あけ装置の先端が下蓋の前記穴凸部に挿入され、前記下蓋の底部に複数の導通スペーサが設置され、隣接する前記導通スペーサの間に前記吸気口とつながっている前記導通桶が形成される真空圧縮袋の吸気弁が開示されている。
【0003】
特許文献2には、可撓性及び非通気性を有する軟質部材からなる2枚の薄厚シートが重ね合わされた状態で、前記薄厚シートの周縁部に被収納物を挿入出可能な開口部を形成した袋状の圧縮収納袋であって、前記圧縮収納袋は、前記開口部を形成した部位の2枚の前記薄厚シートにそれぞれ融着された、前記開口部と同じ長さの凸状部と、前記凸状部を嵌装可能な凹状溝部とを有して前記開口部の封止を可能にする、可撓性及び非通気性を有する軟質部材からなるチャック部と、前記薄厚シートの所定の位置に設けた、空気を流出入可能な孔の周縁部に気密接着で固定した、前記薄厚シートから突出状態で排気又は給気可能な、可撓性及び非通気性を有する軟質部材からなる排気・給気弁体部と、を備え、前記排気・給気弁体部は、上端部に半径方向で厚みのある円形状の開口部を形成し、下端部に前記薄厚シートに気密接着した平円環状のフランジ部を有する、略円筒状の円筒状枠体部と、前記円筒状枠体部の内周壁部に、前記薄厚シート表面から離隔した高さで、かつ前記円筒状枠体部の外周面から指で摘まめる高さの部位に円周方向に沿って一体的に突設された、平面視で円環状の天井部支持部、及び、前記天井部支持部が形成する穴を半径方向で覆う、前記天井部支持部と一体的に形成され円周方向に沿って所定の範囲に切目を設けた天井部を有する弁体部と、を備え、前記弁体部は、半径方向の挟圧により変形させて空気を流動可能に開状態にでき、前記挟圧の解放により元の形状に復帰して空気の流動を遮断可能に閉状態に可変できる圧縮収納袋が開示されている。
【0004】
特許文献3には、収納物を出し入れする開口を開閉するファスナー付きの袋体に取り付けた状態で使用され、前記袋体の内部から外部への空気の流出を可能にしながら、前記袋体の外部から内部への空気の流入を防止する逆流防止機能を有する脱気弁であって、排気孔が中央部又は中央部近傍に形成された底板及び前記底板の端縁から立起する側板からなる基体と、凹凸嵌合部が中央下面に形成されるとともに、排気孔が形成され、前記基体の上端部に取り付けられる蓋体と、前記蓋体の凹凸嵌合部に嵌合する凹凸嵌合部が中央上面に形成された、可撓性を有する円盤状の開閉弁部を有する弁体とを備え、前記蓋体の凹凸嵌合部に前記弁体の凹凸嵌合部を嵌合させ、前記蓋体を前記基体の上端部に取り付けた状態では、前記弁体の開閉弁部が前記底板の排気孔の周囲に上方から当接して弾性変形した状態となり、前記開閉弁部により前記底板の排気孔が塞がれることを脱気弁が開示されている。
【0005】
特許文献4には、外層シートと、マットと、マット内に充填された緩衝体との組み合わせにバルブを有する宅配便用物品梱包袋であって、前記外層シートは、マットの表面保護カバーであり、前記マットは、2つ折りに折曲して少なくとも1面が開放されたホルダーを形成するものであり、マット内には緩衝体が充填され、前記緩衝体は、マット内の空気が抜き取られてマットの容積が減少したときに、ホルダーに格納された物品の形状になじんで充填密度が増大し、物品の表面形状を象って固化し、外部から受ける衝撃を緩和させる機能を有するものであり、前記バルブは、逆止弁と吸気弁との組み合せであり、前記逆止弁は、マット内の脱気に際し、ポンプの吸引力が作用したときに開弁し、脱気後は閉弁してマット内への外気の導入を阻止するものであり、前記吸気弁は、押しボタン操作により開弁し、脱気されたマット内への外気の導入を可能にするものであり、逆止弁と吸気弁とは、マットに取付けられた弁箱内に組み込まれ、弁箱は、ポンプまたはポンプに接続されたホースの吸い口に装着されたカプラーと脱着可能に結合される宅配便用物品梱包袋が開示されている。
【0006】
特許文献5には、上部を開口し下部に可動の底部とを有する円筒状の給排気部と、該給排気部の外側に可撓性を有する連結バンドを介して連結した栓部とから成り、袋体内に空気を注入、排出するための空気栓であって、前記栓部は、前記連結バンドに連結する円板状の頂面部と、該頂面部の裏面に設け封止時に前記給排気部内に挿入する円筒部と、前記頂面部の前記連結バンドからの接続個所に対して前記頂面部から直角方向であって、前記頂面部の表面と平行するように両側に耳状に張り出した一対の摘み片とを備えることを特徴とする空気栓が開示されている。
【先行技術文献】
【特許文献】
【0007】
実用新案登録第3195835号公報
特許第7343726号公報
実用新案登録第3173542号公報
特開2010-132323号公報
特開2017-46949号公報
【発明の概要】
【発明が解決しようとする課題】
【0008】
特許文献1の考案は、穴あけ装置は中蓋の内部に設けられており、下側に給気スペーサがあるので収納袋に穴を開けることが困難であるという問題があった。また、チャック部で開口部を封止された真空状態で収納物と収納袋とが密着状態のチャック部が指で開けることが極めて困難になるという問題もあった。
【0009】
特許文献2の発明は、指で摘むために排気・給気弁体部を柔らかい材質で製造しなればならないため、製造面で硬めの材質に比較して、三次元プリンターで製造しにくいという問題があった。また、排気・給気弁体部がある収納袋の形態で市場に流通させることができるが、排気・給気弁体部用穴がない収納袋には使用できないので排気・給気弁体部単体で市場に流通させることができないという問題があった。また、収納袋を繰り返し使用できるが、接着で固定している排気・給気弁体部を取り外せないので給排気弁単体では繰り返し使用できないという問題もあった。
【0010】
特許文献3の考案は、袋内の空気を吸いだして真空状態にした後に袋を開封するときに、真空で2枚のシートが密着した部位を開くのは特に指の力が弱い高齢者や子供にとって無理で困難であるという問題があった。この場合にはハサミ等で袋を切断して被収納物を取り出すので袋の再利用ができないという問題があった。また、開口部を封止するチャック部があるが給排気弁用の穴がない収納袋には使用できないという問題があった。
(【0011】以降は省略されています)
この特許をJ-PlatPat(特許庁公式サイト)で参照する
関連特許
個人
留め具
21日前
個人
鍋虫ねじ
2か月前
個人
回転伝達機構
3か月前
個人
紛体用仕切弁
2か月前
個人
差動歯車用歯形
4か月前
個人
ジョイント
1か月前
個人
給排気装置
28日前
個人
ナット
1か月前
株式会社不二工機
電磁弁
4か月前
個人
地震の揺れ回避装置
3か月前
個人
吐出量監視装置
2か月前
カヤバ株式会社
ダンパ
4か月前
柿沼金属精機株式会社
分岐管
2か月前
カヤバ株式会社
緩衝器
4か月前
カヤバ株式会社
緩衝器
4か月前
カヤバ株式会社
緩衝器
27日前
兼工業株式会社
バルブ
今日
カヤバ株式会社
ダンパ
4か月前
株式会社ニフコ
クリップ
1か月前
個人
固着具と固着具の固定方法
5か月前
株式会社不二工機
電動弁
28日前
株式会社フジキン
ボールバルブ
4か月前
株式会社不二工機
電磁弁
2か月前
株式会社三五
ドライブシャフト
13日前
個人
固着具と固着具の固定方法
5か月前
株式会社ノーリツ
分配弁
1か月前
株式会社奥村組
制振機構
1か月前
株式会社奥村組
制振機構
1か月前
個人
固着具と固着具の固定方法
5か月前
アズビル株式会社
回転弁
1か月前
株式会社タカギ
水栓装置
2か月前
株式会社不二越
転がり軸受
2か月前
株式会社ノナガセ
免震装置
14日前
アイホン株式会社
電気機器
1か月前
個人
ワンウェイベアリング
3か月前
井関農機株式会社
作業車両
4か月前
続きを見る
他の特許を見る