TOP
|
特許
|
意匠
|
商標
特許ウォッチ
Twitter
他の特許を見る
公開番号
2025093776
公報種別
公開特許公報(A)
公開日
2025-06-24
出願番号
2023209643
出願日
2023-12-12
発明の名称
ダンパ
出願人
カヤバ株式会社
代理人
個人
主分類
F16F
9/34 20060101AFI20250617BHJP(機械要素または単位;機械または装置の効果的機能を生じ維持するための一般的手段)
要約
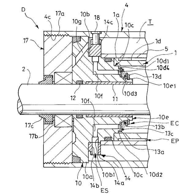
【課題】高速で収縮しても安定した減衰力を発生可能なダンパを提供する。
【解決手段】本発明のダンパDは、シリンダ1と、シリンダ1内に挿入されるロッド2と、シリンダ1内を伸側室R1と圧側室R2とに区画するピストン3と、タンクTを形成する外筒4と、シリンダ嵌合部10dと、伸側室R1に面する環状端部10d1と、外筒4の一端の内周に嵌合する外筒嵌合部10aとを有して、シリンダ1内に挿通されるロッド2を支持する環状のロッドガイド10と、チェックバルブECとを備え、チェックバルブECは、環状端部10d1に開口してタンクTに連通される複数のポート10fと、環状であって環状端部10d1に対して軸方向へ遠近可能であって各ポート10fのそれぞれを開閉可能な弁体13aと、弁体13aを環状端部10d1に向けて付勢するばね13cとを備え、タンクTから伸側室R1へ向かう液体の流れのみを許容する。
【選択図】図4
特許請求の範囲
【請求項1】
シリンダと、
前記シリンダ内に軸方向へ移動可能に挿入されるロッドと、
前記シリンダ内に移動可能に挿入されるとともに前記ロッドに連結されて前記シリンダ内を伸側室と圧側室とに区画するピストンと、
前記シリンダを覆って前記シリンダの外周に液体を貯留するタンクを形成する外筒と、
前記シリンダの一端の内周に嵌合するシリンダ嵌合部と、前記シリンダ嵌合部の前記伸側室に面する端部であって前記ロッドの周囲を取り囲む環状端部と、前記外筒の一端の内周に嵌合する外筒嵌合部とを有して、前記ロッドを支持する環状のロッドガイドと、
前記ロッドガイドに設けられて前記タンクから前記伸側室へ向かう液体の流れのみを許容するチェックバルブとを備え、
前記チェックバルブは、
一端が前記環状端部に周方向に沿って並んで開口してそれぞれ前記タンクに連通される複数のポートと、
前記環状端部に対して軸方向へ遠近可能であって各ポートのそれぞれを開閉可能な環状の弁体と、
前記弁体を前記環状端部に向けて付勢するばねとを有する
ことを特徴とするダンパ。
続きを表示(約 1,000 文字)
【請求項2】
前記チェックバルブは、
前記ロッドガイドの前記外筒嵌合部と前記シリンダ嵌合部との間の外周に嵌合されて前記外筒内に収容される環状のカラーと、
前記ロッドガイドと前記カラーとの間に周方向に沿って形成される環状通路とを有し、
各ポートの他端のそれぞれが前記環状通路に通じ、
前記カラーは、外周の一部に設けた切欠と、前記切欠から開口して前記環状通路に連通される複数のカラーポートとを有する
ことを特徴とする請求項1に記載のダンパ。
【請求項3】
前記チェックバルブは、
前記ロッドガイドの前記外筒嵌合部と前記シリンダ嵌合部との間の外周に嵌合されて前記外筒内に収容される環状のカラーと、
前記ロッドガイドと前記カラーとの間に周方向に沿って形成される環状通路とを備え、
各ポートの他端のそれぞれが前記環状通路に通じ、
前記カラーは、前記タンク内に収容されるとともに基端が前記カラーに嵌合される複数の吸込パイプ内を前記環状通路に連通する内部通路を有する
ことを特徴とする請求項1に記載のダンパ。
【請求項4】
前記ロッドガイドは、前記環状端部から軸方向へ向けて突出する筒状のバルブ装着部と、前記バルブ装着部の外周側に開口する各ポートのそれぞれの外周を取り囲む環状弁座とを有し、
前記弁体は、前記バルブ装着部の外周に摺接する
ことを特徴とする請求項1に記載のダンパ。
【請求項5】
前記シリンダの外周側に配置されて前記シリンダとの間に前記伸側室に連通される伸側通路を形成する第1筒と、
前記シリンダの外周側に配置されて前記シリンダとの間に前記圧側室に連通される圧側通路を形成する第2筒と、
前記伸側通路を介して前記伸側室から前記タンクへ向かう液体の流れに対して抵抗を与える伸側減衰バルブと、
前記圧側通路を介して前記圧側室から前記タンクへ向かう液体の流れに対して抵抗を与える圧側減衰バルブと、
前記シリンダの他端と第2筒とに嵌合するバルブケースとを備え、
前記ロッドガイドは、前記シリンダ嵌合部と前記外筒嵌合部との間に前記第1筒に嵌合する第1筒嵌合部を有し、
前記第1筒と前記第2筒とが前記ロッドガイドと前記バルブケースとによって挟持される
ことを特徴とする請求項1から4のいずれか一項に記載のダンパ。
発明の詳細な説明
【技術分野】
【0001】
本発明は、ダンパに関する。
続きを表示(約 2,200 文字)
【背景技術】
【0002】
従来、この種のダンパは、設置対象に利用されて設置対象の振動を抑制する目的で使用される。ダンパとしては、たとえば、鉄道車両に車体の進行方向に対して左右方向の振動を抑制すべく、車体と台車との間に介装されて使用されるものが知られている。
【0003】
このようなダンパは、たとえば、シリンダと、シリンダを覆ってシリンダとの間にタンクを形成する外筒と、シリンダ内に摺動自在に挿入されてシリンダ内をロッド側室とピストン側室とに区画するピストンと、シリンダ内に挿入されてピストンに連結されるロッドと、シリンダの一端とアウターチューブの一端とを閉塞するとともに内周にロッドが挿通されるロッドガイドと、シリンダの他端を閉塞するバルブケースと、アウターチューブの他端を閉塞するボトムキャップと、ピストンに設けられて伸側室から圧側室へ向かう作動油の流れに抵抗を与える伸側減衰バルブと、バルブケースに設けられて圧側室からタンクへ向かう作動油の流れに抵抗を与える圧側減衰バルブと、ロッドガイドに設けられてタンクから伸側室へ向かう作動油の流れのみを許容する伸側のチェックバルブと、バルブケースに設けられてタンクから圧側室へ向かう作動油の流れのみ許容する圧側のチェックバルブとを備えている(たとえば、特許文献1参照)。そして、ロッドガイドに設置された伸側チェックバルブは、円環状のロッドガイドの外周から開口して径方向へ延びて、ロッドガイド内に設けられたタンクから伸側室へ通じる通路の途中に連通される弁孔内に収容されている。
【先行技術文献】
【特許文献】
【0004】
特開平11-344068号公報
【発明の概要】
【発明が解決しようとする課題】
【0005】
従来のダンパでは、収縮作動を呈すると、圧側室から減衰バルブを通じてタンクへ作動油が移動する際に減衰バルブによって作動油の流れに抵抗を与えて収縮作動を妨げる減衰力を発生するとともに、伸側のチェックバルブが開弁してピストンの移動によって拡大する伸側室にタンクから作動油が供給される。
【0006】
このように従来のダンパでは、収縮作動時にはロッドガイドに設けられた伸側のチェックバルブを通じて伸側室へ作動油が供給されるため、ダンパが高速で収縮する場合には伸側チェックバルブを大流量の作動油が流れることになる。ところが、内周にロッドが挿通されるロッドガイドに伸側のチェックバルブが設けられており、ロッドガイドの内外径差を大きくするとロッドが小径化して強度不足を招くか、外筒が大径化してダンパの鉄道車両等への搭載性が悪化することから、ロッドガイドの内外径差を大きくするのに限界があるため、従来のチェックバルブの構造では大流量を許容する伸側のチェックバルブを実現するのが難しい。
【0007】
よって、従来のダンパでは、伸側のチェックバルブの大流量化が難しく、ダンパが高速で収縮作動を呈すると、伸側チェックバルブが抵抗になってタンクから伸側室へ作動油を供給しづらくなって伸側室内が減圧されて大気圧以下になってしまう可能性が指摘されている。作動油内に気泡が生じて安定した減衰力の発生ができなくなったり、シリンダ内に外部の気体が吸い込まれたりする心配が生じる。
【0008】
そこで、本発明は、高速で収縮しても安定した減衰力を発生可能なダンパの提供を目的としている。
【課題を解決するための手段】
【0009】
前記した目的を達成するため、本発明のダンパは、シリンダと、シリンダ内に軸方向へ移動可能に挿入されるロッドと、シリンダ内に移動可能に挿入されるとともにロッドに連結されてシリンダ内を伸側室と圧側室とに区画するピストンと、シリンダを覆ってシリンダの外周に液体を貯留するタンクを形成する外筒と、シリンダの一端の内周に嵌合するシリンダ嵌合部と、シリンダ嵌合部の伸側室に面する端部であってロッドの周囲を取り囲む環状端部と、外筒の一端の内周に嵌合する外筒嵌合部とを有して、ロッドを支持する環状のロッドガイドと、タンクから伸側室へ向かう液体の流れのみを許容するチェックバルブとを備え、チェックバルブは、一端が環状端部に周方向に沿って並んで開口してそれぞれタンクに連通される複数のポートと、環状端部に対して軸方向へ遠近可能であって各ポートのそれぞれを開閉可能な環状の弁体と、弁体を環状端部に向けて付勢するばねとを備える。
。
【0010】
このように構成されたダンパでは、チェックバルブがロッドガイドのロッドの周囲を取り囲む環状端部に周方向に並んで開口する複数のポートを備えており、ポートの開口端を環状端部に遠近する環状の弁体で開閉するので、小さなロッドガイドに複数のポートを効率的に配置して全ポートの合計流路面積を大きく確保でき、タンクから伸側室へ向かう液体の流量が多くても、然程抵抗を与えずにタンクから伸側室への液体の移動を許容できる。また、弁体がロッドガイド内ではなく伸側室内に設置され、全ポートを1つの弁体で開閉できるので、ロッドガイドの大型化、ロッド外径の小型化や外筒内径の大型化を招くこともない。
(【0011】以降は省略されています)
この特許をJ-PlatPat(特許庁公式サイト)で参照する
関連特許
カヤバ株式会社
緩衝器
1か月前
カヤバ株式会社
緩衝器
1か月前
カヤバ株式会社
減圧弁
1か月前
カヤバ株式会社
防水構造
1か月前
カヤバ株式会社
ミキサ車
1か月前
カヤバ株式会社
ミキサ車
1か月前
カヤバ株式会社
ミキサ車
1か月前
カヤバ株式会社
展開デッキ
1か月前
カヤバ株式会社
ギヤポンプ
1か月前
カヤバ株式会社
ギヤポンプ
1か月前
カヤバ株式会社
ギヤポンプ
1か月前
カヤバ株式会社
電動ポンプ
1か月前
カヤバ株式会社
電動ポンプ
20日前
カヤバ株式会社
苗木植付装置
1か月前
カヤバ株式会社
苗木抜出装置
1か月前
カヤバ株式会社
高所作業装置
1か月前
カヤバ株式会社
苗木植付装置
1か月前
カヤバ株式会社
苗木植付装置
1か月前
カヤバ株式会社
苗木植付装置
1か月前
カヤバ株式会社
苗木植付装置
1か月前
カヤバ株式会社
シリンダ装置
21日前
カヤバ株式会社
筒部材及び緩衝器
1か月前
カヤバ株式会社
回転機の製造方法
1か月前
カヤバ株式会社
ポンプの取付構造
1か月前
カヤバ株式会社
筒型リニアモータ
1か月前
カヤバ株式会社
筒部材及び緩衝器
1か月前
カヤバ株式会社
筒部材及び緩衝器
1か月前
カヤバ株式会社
バルブおよび緩衝器
1か月前
カヤバ株式会社
バルブおよび緩衝器
1か月前
カヤバ株式会社
ブッシュ及び液圧回転機
1か月前
カヤバ株式会社
ミキサ車及び状態検出装置
1か月前
カヤバ株式会社
ステアバイワイヤユニット
1か月前
カヤバ株式会社
ミキサドラムのシール構造
1か月前
カヤバ株式会社
ソレノイドバルブおよび緩衝器
1か月前
カヤバ株式会社
ソレノイドバルブおよび緩衝器
1か月前
カヤバ株式会社
ミキサドラムの積載量測定装置
7日前
続きを見る
他の特許を見る