TOP
|
特許
|
意匠
|
商標
特許ウォッチ
Twitter
他の特許を見る
公開番号
2025154801
公報種別
公開特許公報(A)
公開日
2025-10-10
出願番号
2024057994
出願日
2024-03-29
発明の名称
ミキサ車
出願人
カヤバ株式会社
代理人
弁理士法人後藤特許事務所
主分類
B60P
3/16 20060101AFI20251002BHJP(車両一般)
要約
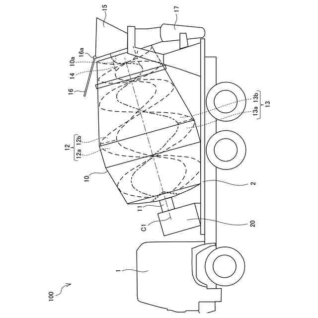
【課題】非常時に駆動源を追加せずに単独の車両で生コンクリートの排出を可能にする。
【解決手段】ミキサ車100は、車両上に回転自在に搭載されたミキサドラム10と、洗浄に用いられる水が貯留された水タンク31と、水タンク31に接続されたポンプ32aとポンプ32aを駆動するモータ32bとを有する水ポンプ32と、を備える。モータ32bは、ミキサドラム10に着脱或いは断接可能に接続されてミキサドラム10を回転可能である。
【選択図】図3
特許請求の範囲
【請求項1】
ミキサ車であって、
車両上に回転自在に搭載されたミキサドラムと、
洗浄に用いられる水が貯留された水タンクと、
前記水タンクに接続されたポンプと前記ポンプを駆動するモータとを有する水ポンプと、を備え、
前記モータは、前記ミキサドラムに着脱或いは断接可能に接続されて前記ミキサドラムを回転可能である、
ことを特徴とするミキサ車。
続きを表示(約 500 文字)
【請求項2】
請求項1に記載のミキサ車であって、
前記モータの駆動軸には、連結部が設けられ、
前記モータは、前記モータが前記ポンプに接続された状態で配置される位置である常設位置から取り外されて、前記連結部を介して前記ミキサドラムに接続される、
ことを特徴とするミキサ車。
【請求項3】
請求項2に記載のミキサ車であって、
前記ミキサドラムを回転駆動する駆動源と、
前記駆動源が接続される入力ギヤを有し、前記駆動源からの入力回転を減速して前記ミキサドラムに出力する減速機と、
前記駆動源が接続される側とは反対側から前記入力ギヤの回転を規制するブレーキとして機能させられ、通電の有無に応じて解放、遮断される電気クラッチと、
前記駆動源が接続される側とは反対側で前記入力ギヤに接続され、前記電気クラッチを貫通するとともに前記電気クラッチにより回転が規制される回転軸と、
をさらに備え、
前記モータは、前記連結部を介して前記回転軸に連結されることにより前記入力ギヤに接続される、
ことを特徴とするミキサ車。
発明の詳細な説明
【技術分野】
【0001】
本発明はミキサ車に関する。
続きを表示(約 1,200 文字)
【背景技術】
【0002】
特許文献1には、コンクリートミキサ車の油圧ポンプ側の故障に対処するため、応援車の油圧ポンプを故障車の油圧モータに接続することで、ドラム内の生コンクリートを応急的に排出する技術が開示されている。特許文献2には、減速機の入力軸先端部の非常入力部に工具を連結して作動させることで、減速機を介してミキサドラムを回転させるミキサ車が開示されている。
【先行技術文献】
【特許文献】
【0003】
特開平7-329628号公報
特開2016-68532号公報
【発明の概要】
【発明が解決しようとする課題】
【0004】
ミキサドラムが異常等によって油圧モータ等の駆動源の動力を喪失した非常時には、ミキサドラムを生コンクリート排出方向に回転して生コンクリートを排出することができないため、ミキサドラム内の生コンクリートの固化が進行してしまう。
【0005】
特許文献1の技術は、応援車を利用して生コンクリートを応急的に排出するものの、応援車を手配できない場合に、固化を防止するためにミキサドラム内から生コンクリートを掻き出す作業が必要になるおそれがある。特許文献2の技術は、非常時にミキサドラムを回転させることができるものの、ミキサドラムを回転させるための駆動源として、回転作動可能な工具が新たに必要なる。
【0006】
本発明はこのような課題に鑑みてなされたもので、非常時に駆動源を追加せずに単独の車両で生コンクリートの排出を可能にすることを目的とする。
【課題を解決するための手段】
【0007】
本発明は、ミキサ車であって、車両上に回転自在に搭載されたミキサドラムと、洗浄に用いられる水が貯留された水タンクと、水タンクに接続されたポンプとポンプを駆動するモータとを有する水ポンプと、を備え、モータは、ミキサドラムに着脱或いは断接可能に接続されてミキサドラムを回転可能である、ことを特徴とする。
【0008】
この発明によれば、ミキサドラムが駆動源の動力を喪失した非常時に、一般にミキサ車に標準装備として常設されている水ポンプのモータを利用してミキサドラムを回転させることができるので、駆動源を追加せずに単独の車両で生コンクリートを排出することができる。
【0009】
また、本発明は、モータの駆動軸には、連結部が設けられ、モータは、モータがポンプに接続された状態で配置される位置である常設位置から取り外されて、連結部を介してミキサドラムに接続される、ことを特徴とする。
【0010】
この発明によれば、非常時にモータを常設位置から取り外した上で、連結部を介してミキサドラムに接続し直すことで、通常時に洗浄に用いられる水ポンプのモータを非常時のミキサドラムの駆動源として利用でき、新たな駆動源を追加せずに済む。
(【0011】以降は省略されています)
この特許をJ-PlatPat(特許庁公式サイト)で参照する
関連特許
カヤバ株式会社
緩衝器
1か月前
カヤバ株式会社
緩衝器
1か月前
カヤバ株式会社
防水構造
29日前
カヤバ株式会社
ミキサ車
29日前
カヤバ株式会社
ミキサ車
29日前
カヤバ株式会社
ミキサ車
29日前
カヤバ株式会社
電動ポンプ
1日前
カヤバ株式会社
ギヤポンプ
29日前
カヤバ株式会社
ギヤポンプ
29日前
カヤバ株式会社
ギヤポンプ
29日前
カヤバ株式会社
展開デッキ
29日前
カヤバ株式会社
シリンダ装置
2日前
カヤバ株式会社
苗木植付装置
29日前
カヤバ株式会社
苗木植付装置
29日前
カヤバ株式会社
苗木抜出装置
29日前
カヤバ株式会社
苗木植付装置
29日前
カヤバ株式会社
苗木植付装置
29日前
カヤバ株式会社
苗木植付装置
29日前
カヤバ株式会社
筒型リニアモータ
1か月前
カヤバ株式会社
筒部材及び緩衝器
1か月前
カヤバ株式会社
筒部材及び緩衝器
1か月前
カヤバ株式会社
筒部材及び緩衝器
1か月前
カヤバ株式会社
ポンプの取付構造
1か月前
カヤバ株式会社
ミキサドラムのシール構造
29日前
カヤバ株式会社
ミキサ車及び状態検出装置
1か月前
カヤバ株式会社
ソレノイドバルブおよび緩衝器
1か月前
カヤバ株式会社
ソレノイドバルブおよび緩衝器
1か月前
カヤバ株式会社
ダンパ減衰力特性生成装置、ダンパ提示装置、及びプログラム
29日前
個人
タイヤレバー
3か月前
個人
前輪キャスター
2か月前
個人
上部一体型自動車
1か月前
個人
ルーフ付きトライク
3か月前
個人
ホイルのボルト締結
4か月前
個人
タイヤ脱落防止構造
2か月前
個人
空間形成装置
9日前
井関農機株式会社
作業車両
5か月前
続きを見る
他の特許を見る