TOP
|
特許
|
意匠
|
商標
特許ウォッチ
Twitter
他の特許を見る
公開番号
2025151109
公報種別
公開特許公報(A)
公開日
2025-10-09
出願番号
2024052362
出願日
2024-03-27
発明の名称
ミキサ車及び状態検出装置
出願人
カヤバ株式会社
代理人
弁理士法人後藤特許事務所
主分類
B28C
5/42 20060101AFI20251002BHJP(セメント,粘土,または石材の加工)
要約
【課題】ミキサドラムの内容物の状態を検出可能なミキサ車において作業工数を低減する。
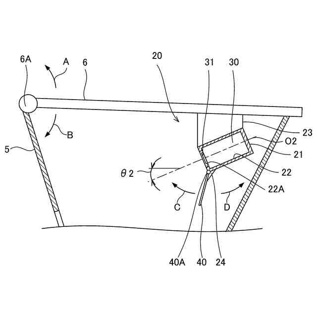
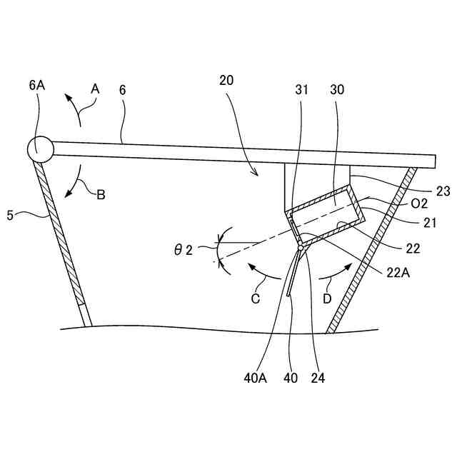
【解決手段】状態検出装置は、筐体21と、ホッパー5が閉じられた状態でホッパー5の内側に収容されるように筐体21を介してホッパーカバー6に取り付けられ内容物の状態を検出するカメラ30と、シャッターシャフト40Aを介して筐体21に回動可能に取り付けられるシャッター部40と、を有し、シャッター部40は、ホッパーカバー6によってホッパー5が閉じられた状態ではカメラ30を覆わずに開放し、ホッパー5が閉じられた状態から開いた状態となるようなホッパーカバー6の回動によってシャッターシャフト40A回りに回動してカメラ30を覆うように構成される。
【選択図】図3
特許請求の範囲
【請求項1】
ミキサ車であって、
車両上に回転自在に搭載されるミキサドラムと、
前記ミキサドラムの内容物の状態を検出するための状態検出装置と、を備え、
前記ミキサドラムは、
前記内容物を投入するためのホッパーと、
カバー回動軸を介して前記ホッパーに回動可能に取り付けられ前記ホッパーを開閉するホッパーカバーと、を有し、
前記状態検出装置は、
筐体と、
前記ホッパーが閉じられた状態で前記ホッパーの内側に収容されるように前記筐体を介して前記ホッパーカバーに取り付けられ前記内容物の状態を表す情報を取得するセンサ部と、
シャッター回動軸を介して前記筐体に回動可能に取り付けられるシャッター部と、を有し、
前記シャッター部は、前記ホッパーカバーによって前記ホッパーが閉じられた状態では前記センサ部を覆わずに開放し、前記ホッパーが閉じられた状態から開いた状態となるような前記ホッパーカバーの回動によって前記シャッター回動軸回りに回動して前記センサ部を覆うように構成されることを特徴とするミキサ車。
続きを表示(約 1,000 文字)
【請求項2】
請求項1に記載のミキサ車であって、
前記センサ部は、センサ軸が前記ミキサドラムの底部に向けて前記車両の下方へ延びるように設けられ、
前記シャッター回動軸は、前記ホッパーカバーによって前記ホッパーが閉じられた状態において、前記センサ部よりも前記車両の下方側に位置するように前記筐体に設けられることを特徴とするミキサ車。
【請求項3】
請求項1又は2に記載のミキサ車であって、
前記状態検出装置は、前記センサ部を開放する方向への前記シャッター部の所定量以上の回動を規制するストッパ部をさらに有することを特徴とするミキサ車。
【請求項4】
請求項1又は2に記載のミキサ車であって、
前記シャッター部は、前記筐体に着脱可能に取り付けられることを特徴とするミキサ車。
【請求項5】
請求項1又は2に記載のミキサ車であって、
前記状態検出装置は、前記センサ部の検出結果を処理する制御部をさらに備え、
前記制御部は、前記ホッパーが閉じられて前記シャッター部が前記センサ部を覆った状態の前記センサ部の検出結果及び前記ホッパーが開かれて前記シャッター部が前記センサ部を開放した状態の前記センサ部の検出結果の少なくとも一方を検出基準値として予め記憶し、前記検出基準値と前記センサ部により検出された検出値とを比較して前記シャッター部の開閉状態を検出することを特徴とするミキサ車。
【請求項6】
ミキサ車のミキサドラムに内容物を投入するためのホッパーと、カバー回動軸を介して前記ホッパーに回動可能に取り付けられ前記ホッパーを開閉するホッパーカバーと、を有する前記ミキサドラム内の前記内容物の状態を検出する状態検出装置であって、
筐体と、
前記ホッパーが閉じられた状態で前記ホッパーの内側に収容されるように前記筐体を介して前記ホッパーカバーに取り付けられ前記内容物の状態を検出するセンサ部と、
シャッター回動軸を介して前記筐体に回動可能に取り付けられるシャッター部と、を備え、
前記シャッター部は、前記ホッパーカバーによって前記ホッパーが閉じられた状態では前記センサ部を覆わずに開放し、前記ホッパーが閉じられた状態から開いた状態となるような前記ホッパーカバーの回動によって前記シャッター回動軸回りに回動して前記センサ部を覆うように構成されることを特徴とする状態検出装置。
発明の詳細な説明
【技術分野】
【0001】
本発明は、ミキサ車及び状態検出装置に関するものである。
続きを表示(約 1,600 文字)
【背景技術】
【0002】
特許文献1には、ミキサドラム内の生コンクリート量を推定する装置が開示されている。この装置は、ミキサドラム内を撮像可能なカメラを有しており、カメラはホッパーカバーがホッパーの開口を閉じた状態においてホッパー内に収容されるようにホッパーカバーに取り付けられる。
【先行技術文献】
【特許文献】
【0003】
特開2019-025680号公報
【発明の概要】
【発明が解決しようとする課題】
【0004】
特許文献1に記載の装置では、生コンクリート等の内容物をミキサドラムに投入する際には、内容物の付着等を防止するためにカメラをホッパーカバーから一旦取り外す必要がある。このように、特許文献1に記載の装置では、内容物の投入のたびにカメラの着脱作業をする必要が生じる。
【0005】
本発明は上記の問題点に鑑みてなされたものであり、ミキサドラムの内容物の状態を検出可能なミキサ車及び状態検出装置において作業工数を低減することを目的とする。
【課題を解決するための手段】
【0006】
本発明は、ミキサ車であって、車両上に回転自在に搭載されるミキサドラムと、ミキサドラムの内容物の状態を検出するための状態検出装置と、を備え、ミキサドラムは、内容物を投入するためのホッパーと、カバー回動軸を介してホッパーに回動可能に取り付けられホッパーを開閉するホッパーカバーと、を有し、状態検出装置は、筐体と、ホッパーが閉じられた状態でホッパーの内側に収容されるように筐体を介してホッパーカバーに取り付けられ内容物の状態を検出するセンサ部と、シャッター回動軸を介して筐体に回動可能に取り付けられるシャッター部と、を有し、シャッター部は、ホッパーカバーによってホッパーが閉じられた状態ではセンサ部を覆わずに開放し、ホッパーが閉じられた状態から開いた状態となるようなホッパーカバーの回動によってシャッター回動軸回りに回動してセンサ部を覆うように構成されることを特徴とする。
【0007】
また、本発明では、センサ部は、センサ軸がミキサドラムの底部に向けて車両の下方へ延びるように設けられ、シャッター回動軸は、ホッパーカバーによってホッパーが閉じられた状態において、センサ部よりも車両の下方側に位置するように筐体に設けられることを特徴とする。
【0008】
また、本発明は、ミキサドラム内の内容物の状態を検出する状態検出装置であって、筐体と、ホッパーが閉じられた状態でホッパーの内側に収容されるように筐体を介してホッパーカバーに取り付けられ内容物の状態を検出するセンサ部と、シャッター回動軸を介して筐体に回動可能に取り付けられるシャッター部と、を備え、シャッター部は、ホッパーカバーによってホッパーが閉じられた状態ではセンサ部を覆わずに開放し、ホッパーが閉じられた状態から開いた状態となるようなホッパーカバーの回動によってシャッター回動軸回りに回動してセンサ部を覆うように構成されることを特徴とする。
【0009】
これらの発明では、ホッパーが閉じられた状態から開かれる状態へとホッパーカバーがカバー回動軸回りに回動するのに伴い、シャッター部が重力によってシャッター回動軸回りに回動してセンサ部を覆う。ホッパーが開かれた状態となるとセンサ部がシャッター部で覆われるため、シャッター部によってセンサへの内容物の付着が防止される。よって、ミキサドラムの内容物の投入のたびにセンサ部をホッパーカバーから取り外す作業を行わなくてよくなる。
【0010】
また、本発明は、状態検出装置が、センサ部を開放する方向へのシャッター部の所定量以上の回動を規制するストッパ部をさらに有することを特徴とする。
(【0011】以降は省略されています)
この特許をJ-PlatPat(特許庁公式サイト)で参照する
関連特許
個人
ホッパー洗浄装置
3日前
株式会社大林組
積層材成型方法
3か月前
倉敷紡績株式会社
セメント系造形物の製造方法
1か月前
株式会社大林組
構造体の製造方法
6か月前
株式会社大林組
構造体の製造方法
6か月前
株式会社シブヤ
穿孔装置
4か月前
個人
石膏板の製造方法
3か月前
倉敷紡績株式会社
セメント系造形物の製造方法
1か月前
太平洋マテリアル株式会社
軽量繊維層及びその形成方法
1か月前
セレンディクス株式会社
建築物の製造方法
3か月前
セレンディクス株式会社
構造物の製造方法
3か月前
株式会社奥村組
積層コンクリート集合体の養生方法
7か月前
芝浦メカトロニクス株式会社
基板分離装置
7か月前
戸田建設株式会社
打設現場におけるスランプの調整方法
6か月前
本多産業株式会社
コンクリート離型剤
4か月前
鹿島建設株式会社
フレッシュコンクリートの製造方法
7か月前
株式会社熊谷組
骨材管理システムおよび骨材管理方法
3か月前
ノリタケ株式会社
ロールコンパクション成形装置
1か月前
ノリタケ株式会社
ロールコンパクション成形装置
1か月前
鹿島建設株式会社
境界ブロックの製作方法および境界ブロック
5か月前
株式会社大林組
構造物形成方法及び構造物形成システム
6か月前
カヤバ株式会社
ミキサドラムの制御装置
8か月前
太平洋マテリアル株式会社
吹付用ノズル
1か月前
株式会社エコシステム
混合ユニット、及び、混練物製造プラント
2か月前
カヤバ株式会社
ミキサ車及び状態検出装置
1か月前
独立行政法人国立高等専門学校機構
砂粒子の硬化成形物の製造方法
7か月前
株式会社オーイケ
コンクリート製品の蒸気養生システムおよび方法
7か月前
日本碍子株式会社
セラミックス部材の製造方法
1か月前
久保工業株式会社
集塵装置、集塵方法、切削装置、および切削方法
2か月前
株式会社大林組
硬化体製造方法及び硬化体製造システム
6か月前
カヤバ株式会社
ミキサドラムの跳ね上げ抑制装置
6か月前
太平洋セメント株式会社
付加製造用セメント組成物
2か月前
三和機材株式会社
バッチャープラントのセメントミルク製造方法
4か月前
積水ハウス株式会社
弾性部材およびコンクリートパネルの並設方法
6か月前
トクセン工業株式会社
セメント造形物の補強ワイヤ
1か月前
有限会社サクセス
半導体結晶ウェハの製造装置
2か月前
続きを見る
他の特許を見る