TOP
|
特許
|
意匠
|
商標
特許ウォッチ
Twitter
他の特許を見る
10個以上の画像は省略されています。
公開番号
2025075160
公報種別
公開特許公報(A)
公開日
2025-05-15
出願番号
2023186138
出願日
2023-10-31
発明の名称
構造物形成方法及び構造物形成システム
出願人
株式会社大林組
代理人
個人
,
個人
主分類
B28B
1/30 20060101AFI20250508BHJP(セメント,粘土,または石材の加工)
要約
【課題】積層により形成できる傾斜範囲を大きくすることができるので、構造物を効率的に形成するための構造物形成方法及び構造物形成システムを提供する。
【解決手段】ノズル21を移動させながらノズル21から吐出されるモルタルで形成される層L1を積み上げることにより形成されるパーツ部材を形成する。この場合、パーツ部材の形成時にパーツ部材を設置する設置面16fを傾斜させ、設置面16fの上に造形材を、設置面16fの上に形成される層における設置面16fの上方側の厚さを設置面16fの下方側よりも薄くして積み上げることにより、設置面16fの上に形成されるパーツ部材の下方側の高さが上方側の高さ以上となるように、パーツ部材を形成する。
【選択図】図4
特許請求の範囲
【請求項1】
ノズルを移動させながら前記ノズルから吐出される造形材で形成される層を積み上げることにより形成される構造物の形成方法であって、
前記構造物の形成時に前記構造物を設置する設置面を傾斜させ、
前記設置面の上に前記造形材を、前記設置面の上に形成される層における前記設置面の上方側の厚さを前記設置面の下方側よりも薄くして積み上げることにより、前記設置面の上に形成される前記構造物の前記下方側の高さが前記上方側の高さ以上となるように、前記構造物を形成することを特徴とする構造物形成方法。
続きを表示(約 610 文字)
【請求項2】
前記造形材を吐出することにより形成された最上層が積層可能な傾斜角度に収まるように、前記設置面の傾斜角度を変更することを特徴とする請求項1に記載の構造物形成方法。
【請求項3】
前記設置面には、前記構造物の形状に応じたガイド部材が設けられ、
前記造形材が前記ガイド部材に当接するように前記造形材を吐出させることにより、前記構造物を形成することを特徴とする請求項1又は2に記載の構造物形成方法。
【請求項4】
ノズルの移動を制御する制御部を備え、前記ノズルを移動させながら前記ノズルから吐出される造形材で形成される層を積み上げることにより構造物を形成する構造物形成システムであって、
前記造形材を吐出することにより形成された最上層が積層可能な傾斜角度に収まるように、前記構造物の形成時に前記構造物を設置する設置面の傾斜角度を変更する設置面変更機構を備え、
前記制御部は、
前記設置面変更機構を駆動することにより前記設置面の傾斜角度を変更しながら、前記設置面の上に前記造形材を、前記設置面の上に形成される層における前記設置面の上方側の厚さを前記設置面の下方側よりも薄くして積み上げることにより、前記設置面の上に形成される前記構造物の前記下方側の高さが前記上方側の高さ以上となるように、前記構造物を形成することを特徴とする構造物形成システム。
発明の詳細な説明
【技術分野】
【0001】
本開示は、ノズルを移動させながらノズルから吐出される造形材で形成される層を積み上げることにより形成される構造物形成方法及び構造物形成システムに関する。
続きを表示(約 2,200 文字)
【背景技術】
【0002】
建築物等の構造物を形成する場合、3次元(3D)プリンタを利用することがある。この3Dプリンタにおいては、ノズルから材料を吐出させながらノズルを移動させて層を形成する。そして、この形成した層を積み重ねることにより立体形状を有する構造物を形成する。このような構造物において、モルタルを積層される長辺部とセパレータとを備えた構造物が知られている(例えば、特許文献1参照。)。この文献に記載の構造物は、孔部を有し構造物の外形を形成する外形部と、孔部に形成される内部構造体とを備える。内部構造体は、外形部よりも高強度の部材で構成する。
【先行技術文献】
【特許文献】
【0003】
特開2023-69753号公報
【発明の概要】
【発明が解決しようとする課題】
【0004】
特許文献1に示すように、モルタルを積層して傾斜面を構成する場合、傾斜面の傾斜方向に、モルタルの積層をずらして構成される傾斜部を設けることがある。ここで、3Dプリンタを用いて、水平面である設置面を開始地点として、モルタルを積層して形成する場合には、積層可能角度(例えば45度)までしか積層することができなかった。
【課題を解決するための手段】
【0005】
上記課題を解決する構造物形成方法は、ノズルを移動させながら前記ノズルから吐出される造形材で形成される層を積み上げることにより形成される構造物の形成方法であって、前記構造物の形成時に前記構造物を設置する設置面を傾斜させ、前記設置面の上に前記造形材を、前記設置面の上に形成される層における前記設置面の上方側の厚さを前記設置面の下方側よりも薄くして積み上げることにより、前記設置面の上に形成される前記構造物の前記下方側の高さが前記上方側の高さ以上となるように、前記構造物を形成する。
【0006】
また、上記課題を解決する構造物形成システムは、ノズルの移動を制御する制御部を備え、前記ノズルを移動させながら前記ノズルから吐出される造形材で形成される層を積み上げることにより構造物を形成する構造物形成システムであって、前記造形材を吐出することにより形成された最上層が積層可能な傾斜角度に収まるように、前記構造物の形成時に前記構造物を設置する設置面の傾斜角度を変更する設置面変更機構を備え、前記制御部は、前記設置面変更機構を駆動することにより前記設置面の傾斜角度を変更しながら、前記設置面の上に前記造形材を、前記設置面の上に形成される層における前記設置面の上方側の厚さを前記設置面の下方側よりも薄くして積み上げることにより、前記設置面の上に形成される前記構造物の前記下方側の高さが前記上方側の高さ以上となるように、前記構造物を形成する。
【発明の効果】
【0007】
本発明によれば、積層により形成できる傾斜範囲を大きくすることができるので、構造物を効率的に形成することができる。
【図面の簡単な説明】
【0008】
第1実施形態において形成する構造物の構成を説明する上面図である。
図1における2-2線断面図である。
第1実施形態において使用する台座の構成を説明する正面図である。
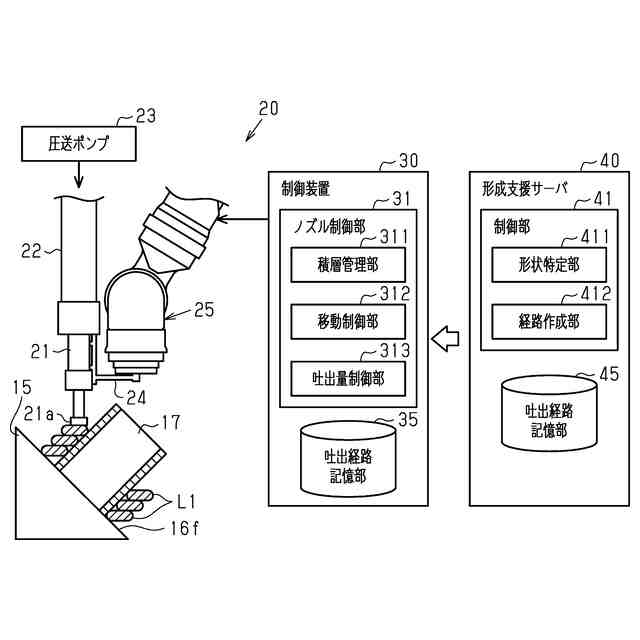
第1実施形態の構造物を形成する3Dプリンタ及び形成支援サーバの構成を説明する説明図である。
第1実施形態におけるハードウェアの構成例を説明する説明図である。
第1実施形態の構造物を説明する拡大正面図である。
第2実施形態の構造物を形成する3Dプリンタ及び形成支援サーバの構成を説明する説明図である。
第2実施形態における構造物の形成途中における形状と、そのときの台座の姿勢とを説明する説明図であって、(a)は構造物の形成開始直後の状態、(b)は構造物の下部の形成途中の状態、(c)は構造物の上部の形成開始後の状態を示す。
第1変更例において構造物の断面形状と台座の形状とを説明した説明図であって、(a)は複数の棒状のガイド部材を設けた状態、(b)は様々な形状のガイド部材を設けた状態を示す。
【発明を実施するための形態】
【0009】
(第1実施形態)
以下、図1~図6を用いて、構造物形成方法及び構造物形成システムを具体化した第1実施形態を説明する。本実施形態では、構造物として、上面がリング形状を有するとともに水平断面が円筒形状を有するベンチを形成する。このベンチは、3Dプリンタを用いて、造形材としてのモルタルを積層させることにより形成した外形形状部を備える。
【0010】
図1は、形成するベンチ10の上面図、図2は、図1におけるベンチ10の断面図である。
図1の上面図に示すように、ベンチ10は、例えば、2~4m程度の直径D10を有する。本実施形態では、ベンチ10は、4個のパーツ部材11を、例えばモルタル等により繋ぎ合わせることにより構成される。各パーツ部材11は、同じ扇形状を有した外形形状部である。この扇形状の中心角は、本実施形態では、90度である。
(【0011】以降は省略されています)
この特許をJ-PlatPat(特許庁公式サイト)で参照する
関連特許
株式会社大林組
飛込み台
1か月前
株式会社大林組
加熱装置
4日前
株式会社大林組
開封装置
4日前
株式会社大林組
接合構造
1か月前
株式会社大林組
接続構造
7日前
株式会社大林組
操縦装置
7日前
株式会社大林組
測定方法
1か月前
株式会社大林組
接合構造
7日前
株式会社大林組
建物の構造
1か月前
株式会社大林組
ドリル装置
7日前
株式会社大林組
仮設建築物
1か月前
株式会社大林組
折畳み構造物
10日前
株式会社大林組
耐火被覆構造
1か月前
株式会社大林組
スロープ構造
4日前
株式会社大林組
ルーバー構造
1か月前
株式会社大林組
床板の設置方法
1か月前
株式会社大林組
可搬式充電設備
1か月前
株式会社大林組
鋼矢板の圧入方法
1か月前
株式会社大林組
リフトアップ装置
1か月前
株式会社大林組
リフトアップ装置
1か月前
株式会社大林組
袋体付き排水パイプ
1か月前
株式会社大林組
袋体付き排水パイプ
1か月前
株式会社大林組
建築物及び建築方法
1か月前
株式会社大林組
繊維材供給システム
4日前
株式会社大林組
電動式運搬補助装置
6日前
株式会社大林組
自動屋根開閉システム
10日前
株式会社大林組
建物の構築方法及び建物
1か月前
株式会社大林組
継手装置及び複合支持杭
1か月前
株式会社大林組
クレーンの自動運転装置
1か月前
株式会社大林組
多孔質部材の漏洩検知方法
1か月前
株式会社大林組
散水装置及び異物除去方法
1か月前
株式会社大林組
飛込み台及びその施工方法
1か月前
株式会社大林組
建設用溶接方法及び建設物
1か月前
株式会社大林組
耐火構造、耐火板支持構造
24日前
株式会社大林組
クレーン自動運転システム
1か月前
株式会社大林組
リフトアップ装置の制御装置
4日前
続きを見る
他の特許を見る