TOP
|
特許
|
意匠
|
商標
特許ウォッチ
Twitter
他の特許を見る
公開番号
2025164153
公報種別
公開特許公報(A)
公開日
2025-10-30
出願番号
2024067964
出願日
2024-04-19
発明の名称
繊維材供給システム
出願人
株式会社大林組
代理人
個人
,
個人
主分類
D01G
9/16 20060101AFI20251023BHJP(天然または人造の糸または繊維;紡績)
要約
【課題】解綿機等の繊維材を使用する使用装置に繊維材を供給する労力を軽減することができる繊維材供給システムを提供する。
【解決手段】本開示の繊維材供給システムSは、繊維材の供給方向上流側の使用装置UMから下流側の使用装置UMまで繊維材を供給する供給機構4を備えた繊維材供給システムSであって、供給機構4は、それぞれの使用装置UMに対応して設けられ、繊維材を下流側に搬送可能な第1搬送部41と、第1搬送部41の間に設けられ、下流側に位置する隣の第1搬送部41に繊維材を搬送可能な第2搬送部42と、それぞれの使用装置UMに対応して設けられ、使用装置UMに対応する第1搬送部41の搬送方向を対応する使用装置UM側に変更する搬送方向変更部43と、を備える。
【選択図】図1
特許請求の範囲
【請求項1】
繊維材の供給方向上流側の使用装置から下流側の使用装置まで前記繊維材を供給する供給機構を備えた繊維材供給システムであって、
前記供給機構は、
それぞれの前記使用装置に対応して設けられ、前記繊維材を下流側に搬送可能な第1搬送部と、
前記第1搬送部の間に設けられ、下流側に位置する隣の前記第1搬送部に前記繊維材を搬送可能な第2搬送部と、
それぞれの前記使用装置に対応して設けられ、前記使用装置に対応する前記第1搬送部の搬送方向を対応する前記使用装置側に変更する搬送方向変更部と、を備える繊維材供給システム。
続きを表示(約 570 文字)
【請求項2】
前記繊維材供給システムは、それぞれの前記使用装置に対応して設けられ、前記繊維材の残量を検出する残量検出部を備え、
前記搬送方向変更部は、前記残量検出部の検出する前記残量が所定の残量になると、前記第1搬送部の搬送方向を前記使用装置側に変更する請求項1に記載の繊維材供給システム。
【請求項3】
前記所定の残量は、前記残量検出部ごとに設定可能である請求項2に記載の繊維材供給システム。
【請求項4】
前記第1搬送部の搬送方向を前記使用装置側に変更している前記搬送方向変更部がある場合、前記搬送方向を変更している前記搬送方向変更部の対応する前記使用装置よりも上流側に位置する前記使用装置に対応する前記搬送方向変更部は、搬送方向を前記使用装置側に変更しない請求項1から請求項3のいずれか1項に記載の繊維材供給システム。
【請求項5】
前記繊維材供給システムは、
袋から取り出した塊状の前記繊維材を崩すほぐし装置と、
袋詰めされた前記繊維材を前記袋から出して前記ほぐし装置に供給する取出装置と、
前記ほぐし装置で崩された前記繊維材を前記供給機構の上流側に供給する供給搬送部と、を備える請求項1から請求項3のいずれか1項に記載の繊維材供給システム。
発明の詳細な説明
【技術分野】
【0001】
本開示は、繊維材供給システムに関する。
続きを表示(約 1,300 文字)
【背景技術】
【0002】
ロックウール等の繊維材を含む耐火被覆材を吹き付ける吹付工法では、解綿機に供給された繊維材が吹付ノズルに送られ、作業者が、その吹付ノズルを吹付対象箇所に向けながら耐火被覆材の吹き付けが行われる。
【0003】
そして、吹付ノズルを把持する作業者は、吹付作業中に繊維材を解綿機に充填できないため、別の作業者が繊維材を解綿機に供給する作業を行っている。
【先行技術文献】
【特許文献】
【0004】
特開2023-24977号公報
【発明の概要】
【発明が解決しようとする課題】
【0005】
ところで、規模の大きな現場では、多数の吹付ノズルを用いて、耐火被覆材の吹付が行われるが、繊維材を解綿機に供給する作業を行う作業者は、吹付ノズルの数よりも少ない人数でよいため、これまでは、1人の作業者が数台の解綿機への繊維材の供給を担っていた。
【0006】
しかしながら、人手不足が社会問題化しつつあり、1人の作業者がより多くの台数の解綿機への繊維材の供給を担えるようにすることが、今後、重要になる。
【0007】
本開示は、このような事情に鑑みてなされたものであり、解綿機等の繊維材を使用する使用装置に繊維材を供給する労力を軽減することができる繊維材供給システムを提供することを目的とする。
【課題を解決するための手段】
【0008】
本開示の繊維材供給システムは、繊維材の供給方向上流側の使用装置から下流側の使用装置まで前記繊維材を供給する供給機構を備えた繊維材供給システムであって、前記供給機構は、それぞれの前記使用装置に対応して設けられ、前記繊維材を下流側に搬送可能な第1搬送部と、前記第1搬送部の間に設けられ、下流側に位置する隣の前記第1搬送部に前記繊維材を搬送可能な第2搬送部と、それぞれの前記使用装置に対応して設けられ、前記使用装置に対応する前記第1搬送部の搬送方向を対応する前記使用装置側に変更する搬送方向変更部と、を備える。
【発明の効果】
【0009】
本開示によれば、解綿機等の繊維材を使用する使用装置に繊維材を供給する労力を軽減することができる繊維材供給システムを提供することができる。
【図面の簡単な説明】
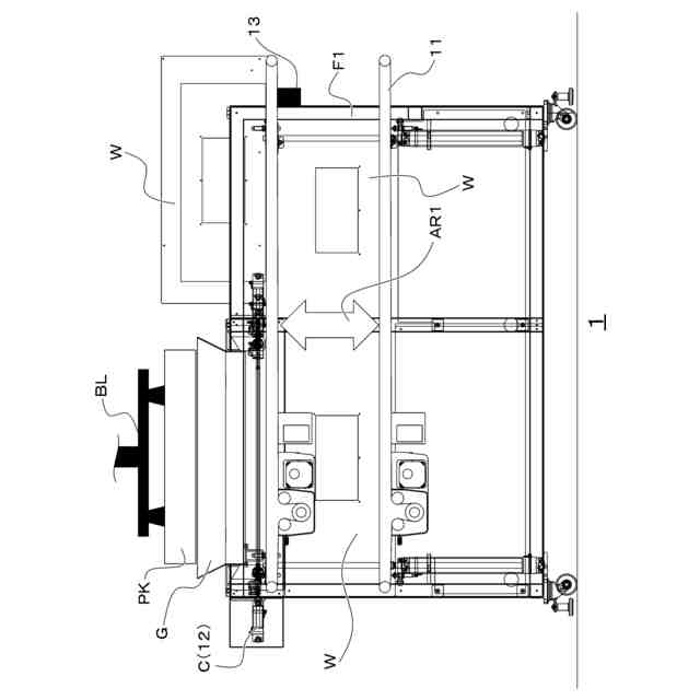
【0010】
本開示に係る第1実施形態の繊維材供給システムの側面図である。
本開示に係る第1実施形態の取出装置の側面図である。
本開示に係る第1実施形態の開封装置の構成を説明するための概略図である。
本開示に係る第1実施形態の供給機構を主に示した側面図である。
本開示に係る第1実施形態の崩した繊維材が供給搬送部の手前にストックされる流れを示すフローチャートである。
本開示に係る第1実施形態の使用装置内の繊維材の残量に基づいて使用装置に繊維材を供給する流れを示すフローチャートである。
【発明を実施するための形態】
(【0011】以降は省略されています)
この特許をJ-PlatPat(特許庁公式サイト)で参照する
関連特許
株式会社大林組
飛込み台
2か月前
株式会社大林組
開封装置
23日前
株式会社大林組
接合構造
1か月前
株式会社大林組
操縦装置
26日前
株式会社大林組
接合構造
26日前
株式会社大林組
加熱装置
23日前
株式会社大林組
接続構造
26日前
株式会社大林組
ドリル装置
26日前
株式会社大林組
建物の構造
1か月前
株式会社大林組
折畳み構造物
29日前
株式会社大林組
スロープ構造
23日前
株式会社大林組
梁筋の配筋方法
15日前
株式会社大林組
床板の設置方法
2か月前
株式会社大林組
可搬式充電設備
1か月前
株式会社大林組
災害時支援装置
15日前
株式会社大林組
鋼矢板の圧入方法
1か月前
株式会社大林組
進捗管理システム
2日前
株式会社大林組
大梁胴縁接続構造
17日前
株式会社大林組
電動式運搬補助装置
25日前
株式会社大林組
構造物及び施工方法
15日前
株式会社大林組
繊維材供給システム
23日前
株式会社大林組
自動屋根開閉システム
29日前
株式会社大林組
建設現場支援システム
16日前
株式会社大林組
柱接合構造の施工方法
15日前
株式会社大林組
クレーンの自動運転装置
1か月前
株式会社大林組
クレーン自動運転システム
1か月前
株式会社大林組
耐火構造、耐火板支持構造
1か月前
株式会社大林組
シート部材及び、施工方法
18日前
株式会社大林組
リフトアップ装置の制御装置
23日前
株式会社大林組
施工支援装置及び施工支援方法
25日前
株式会社大林組
作業補助装置及び表面処理装置
1か月前
株式会社大林組
施工支援装置及び施工支援方法
25日前
株式会社大林組
評価支援装置及び評価支援方法
24日前
株式会社大林組
有機フッ素化合物の不溶化方法
26日前
株式会社大林組
墜落防止設備及び墜落防止方法
25日前
株式会社大林組
施工支援装置及び施工支援方法
25日前
続きを見る
他の特許を見る