TOP
|
特許
|
意匠
|
商標
特許ウォッチ
Twitter
他の特許を見る
公開番号
2025164071
公報種別
公開特許公報(A)
公開日
2025-10-30
出願番号
2024067818
出願日
2024-04-18
発明の名称
スロープ構造
出願人
株式会社大林組
代理人
個人
,
個人
主分類
E04H
9/02 20060101AFI20251023BHJP(建築物)
要約
【課題】耐震性を向上させるためのスロープ構造を提供する。
【解決手段】スロープ構造S0は、建物本体11の複数階に跨って建物本体11の外周に設置された複数の傾斜部としての第1中層部25、第2中層部26、第1高層部27及び第2高層部28を接続することにより構成される。第1中層部25、第2中層部26、第1高層部27及び第2高層部28は、建物本体11の遠い側を、下部基礎の上に、免震装置を介して載置した柱41~52で支持されるとともに、建物本体11から近い側を、柱51~52に接続し建物本体11に接続する連結梁で支持される。更に、第2高層部28、第1高層部27及び第2中層部26の下端部は、エクスパンションジョイントE1,E2,E3をそれぞれ介して、隣接する直下の第1高層部27、第2中層部26及び第1中層部25と接続している。
【選択図】図1
特許請求の範囲
【請求項1】
建物本体の複数階に跨る高さで前記建物本体の外周に設置され、複数の傾斜部を接続することにより構成されるスロープ構造であって、
前記傾斜部は、前記建物本体から遠い側を、下部基礎の上に、免震装置を介して載置したスロープ支持柱で支持されるとともに、前記建物本体から近い側を、前記スロープ支持柱と前記建物本体の建物柱とに接続する連結梁で支持され、
前記傾斜部の下端部は、エクスパンションジョイントを介して、隣接する他の傾斜部と接続していることを特徴とするスロープ構造。
続きを表示(約 290 文字)
【請求項2】
前記傾斜部は、複数の前記スロープ支持柱を備え、
前記傾斜部は、この傾斜部において隣接する前記スロープ支持柱同士を連結して補強する補強部材を更に有することを特徴とする請求項1に記載のスロープ構造。
【請求項3】
前記建物柱は、前記連結梁が連結される部分を鉄骨鉄筋コンクリートで構成したことを特徴とする請求項2に記載のスロープ構造。
【請求項4】
前記傾斜部のうち前記建物本体の床に対応する高さに位置する傾斜部は、水平補強部材によって前記床に連結されていることを特徴とする請求項1~3の何れか1項に記載のスロープ構造。
発明の詳細な説明
【技術分野】
【0001】
本開示は、建物本体の複数階に跨って建物本体の外周に設置された複数の傾斜部を接続されることにより構成されるスロープ構造に関する。
続きを表示(約 1,800 文字)
【背景技術】
【0002】
大きな地震が発生しても建物が損壊しないように、杭頭部分に免震装置を配置した建物の免震化工法が検討されている(例えば、特許文献1参照。)。この特許文献1に記載の既存構造物の免震化工法では、既存の基礎梁の上面の位置において基礎梁と地上階の躯体である上部構造体とを切り離す。そして、上部構造体の最下部に最下階の床梁を新設するとともに、上部構造体と既存基礎梁との間に免震装置を介装する。その後、必要に応じて上部構造体の全体を改修前より嵩上げして最下階の階高を確保する。
【先行技術文献】
【特許文献】
【0003】
特開平11-13290号公報
【発明の概要】
【発明が解決しようとする課題】
【0004】
例えば、建物が大型倉庫の場合においては、建物の外周に設けた複数の傾斜部を有するスロープ構造によって、運搬車両(トラック)を倉庫内に導くことがある。免震構造の建物本体に対して、免震構造ではないスロープ構造を設けた場合、地震の振動に応じてスロープ構造が建物本体と衝突する可能性があった。更に、スロープ構造自体が長い構造の場合には、地震の振動によって、各柱の振動による揺れ幅が異なるために構成部材同士が衝突する可能性があった。
【課題を解決するための手段】
【0005】
上記課題を解決するスロープ構造は、建物本体の複数階に跨る高さで前記建物本体の外周に設置され、複数の傾斜部を接続することにより構成されるスロープ構造であって、前記傾斜部は、前記建物本体から遠い側を、下部基礎の上に、免震装置を介して載置したスロープ支持柱で支持されるとともに、前記建物本体から近い側を、前記スロープ支持柱と前記建物本体の建物柱とに接続する連結梁で支持され、前記傾斜部の下端部は、エクスパンションジョイントを介して、隣接する他の傾斜部と接続している。
【発明の効果】
【0006】
本開示によれば、スロープ構造の耐震性を向上させることができる。
【図面の簡単な説明】
【0007】
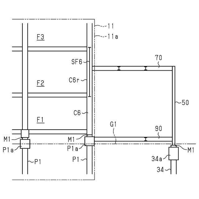
実施形態のスロープ構造を備えた建物の構成を説明する斜視図である。
実施形態のスロープ構造の要部の平面図である。
実施形態におけるスロープ構造の要部の柱梁構造を説明する斜視図である。
図2における4-4線方向の断面図である。
実施形態のスロープ構造の要部の第1面側における正面図である。
【発明を実施するための形態】
【0008】
以下、図1~図5を用いて、スロープ構造を具体化した一実施形態を説明する。ここでは、免震構造の建物に設けられたスロープ構造として説明する。このスロープ構造は、複数の傾斜部を直列に連結することにより構成される。
【0009】
(建物の概略構成)
図1に示すように、建物10は、例えば、倉庫等であって、略直方体形状の5階建ての建物本体11と、スロープ構造S0とを備える。スロープ構造S0は、上下2段のスロープ(S1,S2)を有する。建物本体11は最上階が5階F5であって、建物本体11には、4階F4と2階F2にそれぞれ開口部A1,A2が形成されている。開口部A1,A2は、地上から第1スロープS1及び第2スロープS2を走行するトラックが建物本体11の4階F4及び2階F2の内部にそれぞれ出入りする搬入出口である。この開口部A1,A2は、建物本体11の第1面11aの一端部(図1において左端部)に設けられている。
【0010】
上段の第1スロープS1は、建物本体11の第1面11a及びこれと直交する第2面11bを囲むように、上から見た平面形状がL字形状で形成されている。この第1スロープS1は、第2面11b及び第1面11aに沿うようにそれぞれ形成された第1直線部及び第2直線部を有する。第1直線部は、第2直線部が接合するとともに第1スロープS1の角に位置する踊り場25aを備える。具体的には、第1直線部は、建物本体11の第2面11bの右端に位置する地表接続路21と、傾斜した第1低層傾斜部22、傾斜した第2低層傾斜部23とが、直列に並んで構成される。
(【0011】以降は省略されています)
この特許をJ-PlatPat(特許庁公式サイト)で参照する
関連特許
株式会社大林組
加熱装置
23日前
株式会社大林組
開封装置
23日前
株式会社大林組
接続構造
26日前
株式会社大林組
基礎構造
3か月前
株式会社大林組
操縦装置
26日前
株式会社大林組
接合構造
26日前
株式会社大林組
接合構造
1か月前
株式会社大林組
飛込み台
2か月前
株式会社大林組
測定方法
2か月前
株式会社大林組
建物の構造
1か月前
株式会社大林組
仮設建築物
2か月前
株式会社大林組
ドリル装置
26日前
株式会社大林組
免震建築物
2か月前
株式会社大林組
耐火被覆構造
2か月前
株式会社大林組
空調システム
2か月前
株式会社大林組
折畳み構造物
29日前
株式会社大林組
スロープ構造
23日前
株式会社大林組
監視システム
2か月前
株式会社大林組
ルーバー構造
2か月前
株式会社大林組
建物の躯体構造
2か月前
株式会社大林組
災害時支援装置
15日前
株式会社大林組
梁筋の配筋方法
15日前
株式会社大林組
可搬式充電設備
1か月前
株式会社大林組
建物の躯体構造
2か月前
株式会社大林組
床板の設置方法
2か月前
株式会社大林組
積層材成型方法
3か月前
株式会社大林組
安全支援システム
2か月前
株式会社大林組
日射遮蔽発電装置
3か月前
株式会社大林組
リフトアップ装置
2か月前
株式会社大林組
鋼矢板の圧入方法
1か月前
株式会社大林組
リフトアップ装置
2か月前
株式会社大林組
作業支援システム
3か月前
株式会社大林組
進捗管理システム
2日前
株式会社大林組
大梁胴縁接続構造
17日前
株式会社大林組
電動式運搬補助装置
25日前
株式会社大林組
袋体付き排水パイプ
2か月前
続きを見る
他の特許を見る