TOP
|
特許
|
意匠
|
商標
特許ウォッチ
Twitter
他の特許を見る
公開番号
2025126667
公報種別
公開特許公報(A)
公開日
2025-08-29
出願番号
2024023015
出願日
2024-02-19
発明の名称
安全支援システム
出願人
株式会社大林組
代理人
主分類
B66C
13/00 20060101AFI20250822BHJP(巻上装置;揚重装置;牽引装置)
要約
【課題】例えば、クレーン等の転倒の危険性のある作業機械の安全な作業を支援する安全支援システムを提供する。
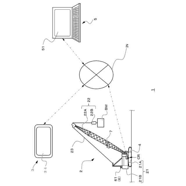
【解決手段】本発明の安全支援システム1は、作業機械の安全支援システム1であって、安全支援システム1は、作業機械と、表示部34と音出力部を有する携帯端末3と、作業機械の転倒の危険性を監視する監視部と、作業機械の姿勢を検出する姿勢検出部と、を備え、作業機械は、走行可能な本体部21と、本体部21に対して起伏可能に設けられ、本体部21の外側まで延在可能な作動部と、を備え、監視部は、危険性に応じた警告を携帯端末3に発信し、携帯端末3は、警告に従った、警告音の出力、及び、表示を行う一方、警告の発信の有無に関わらず、作業機械の姿勢を表示する。
【選択図】図1
特許請求の範囲
【請求項1】
作業機械の安全支援システムであって、
前記安全支援システムは、
前記作業機械と、
表示部と音出力部を有する携帯端末と、
前記作業機械の転倒の危険性を監視する監視部と、
前記作業機械の姿勢を検出する姿勢検出部と、を備え、
前記作業機械は、
走行可能な本体部と、
前記本体部に対して起伏可能に設けられ、前記本体部の外側まで延在可能な作動部と、を備え、
前記監視部は、前記危険性に応じた警告を前記携帯端末に発信し、
前記携帯端末は、前記警告に従った、警告音の出力、及び、表示を行う一方、前記警告の発信の有無に関わらず、前記作業機械の姿勢を表示する、安全支援システム。
続きを表示(約 2,000 文字)
【請求項2】
前記作業機械が、クレーンであり、
前記本体部が、
走行体と、
前記走行体に旋回部を介して旋回可能に設けられた旋回体と、を備え、
前記作動部が、
前記旋回体に起伏可能に基端部が接続された腕部と、
前記腕部の先端に上下動可能に設けられたフック部と、を備え、
前記姿勢検出部、及び、前記監視部が、前記旋回体に設けられ、
前記姿勢検出部が、前記クレーンの姿勢としての前記旋回体の傾き角度を検出し、
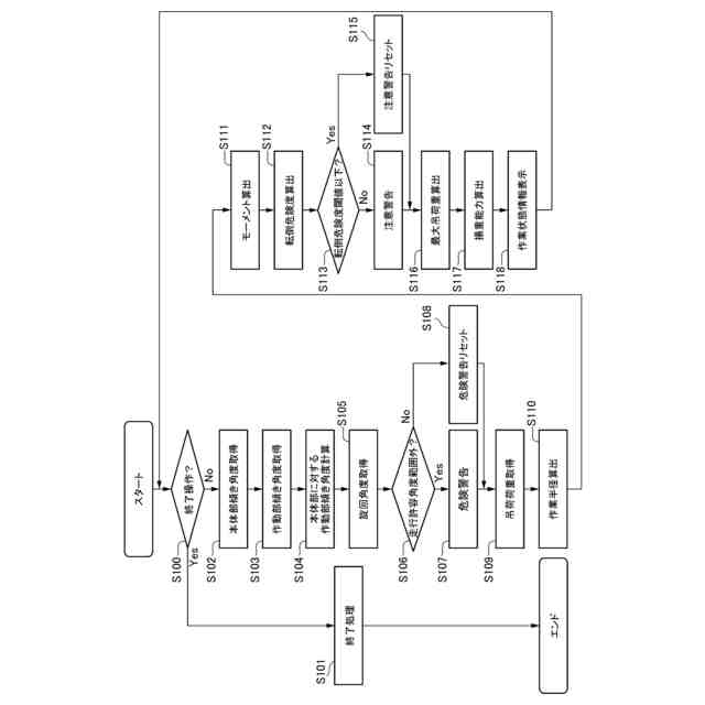
前記監視部は、前記クレーンの傾き角度が走行許容角度範囲外の時に、危険性に応じた警告として即時危険の警告を前記携帯端末に発信し、
前記携帯端末は、前記即時危険の警告に従った、警告音の出力、及び、表示を行う一方、前記警告の発信の有無に関わらず、前記クレーンの姿勢としての前記旋回体の傾き角度を表示する、請求項1に記載の安全支援システム。
【請求項3】
前記安全支援システムは、さらに、
前記旋回体に設けられ、前記旋回体の旋回角を検出する旋回角取得部と、
前記腕部に設けられ、前記腕部の傾斜角度を検出する傾斜角検出部と、
前記フック部に設けられ、吊荷の荷重を検出する荷重検出部と、を備え
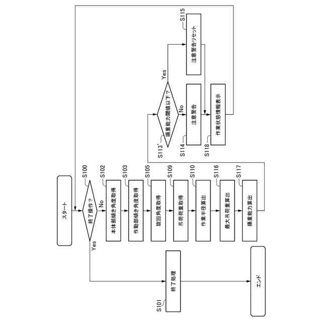
前記監視部は、
前記姿勢検出部、前記旋回角取得部、前記傾斜角検出部、及び、前記荷重検出部の検出する検出結果に基づき、転倒支点から前記本体部側に働く安全モーメントと前記転倒支点から吊荷側に働く転倒モーメントを算出する処理と、
転倒危険度として、前記安全モーメントに対する前記転倒モーメントの比率を算出する処理と、
前記安全モーメントと前記転倒モーメントが等しくなる吊荷の荷重である最大吊荷重を算出する処理と、
揚重能力として、前記最大吊荷重に対する前記荷重検出部の検出する荷重の比率を算出する処理と、を行い、
前記監視部は、前記転倒危険度があらかじめ設定される閾値を超えた時に、危険性に応じた警告として注意を促す警告を前記携帯端末に発信し、
前記携帯端末は、前記注意を促す警告に従った、警告音の出力、及び、表示を行う一方、前記警告の発信の有無に関わらず、前記揚重能力も表示する、請求項2に記載の安全支援システム。
【請求項4】
前記作業機械が、クレーンであり、
前記本体部が、
走行体と、
前記走行体に旋回部を介して旋回可能に設けられた旋回体と、を備え、
前記作動部が、
前記旋回体に起伏可能に基端部が接続された腕部と、
前記腕部の先端に上下動可能に設けられたフック部と、を備え、
前記姿勢検出部、及び、前記監視部が、前記旋回体に設けられ、
前記安全支援システムは、さらに、
前記腕部に設けられ、前記腕部の傾斜角度を検出する傾斜角検出部と、
前記フック部に設けられ、吊荷の荷重を検出する荷重検出部と、を備え、
前記姿勢検出部が、前記クレーンの姿勢としての前記旋回体の傾き角度を検出し、
前記監視部は、
前記姿勢検出部、前記傾斜角検出部、及び、前記荷重検出部の検出する検出結果に基づき、転倒支点から前記本体部側に働く安全モーメントと前記転倒支点から吊荷側に働く転倒モーメントを算出する処理と、
前記安全モーメントと前記転倒モーメントが等しくなる吊荷の荷重である最大吊荷重を算出する処理と、
揚重能力として、前記最大吊荷重に対する前記荷重検出部の検出する荷重の比率を算出する処理と、を行い、
前記監視部は、前記揚重能力があらかじめ設定される閾値を超えた時に、危険性に応じた警告として注意を促す警告を前記携帯端末に発信し、
前記携帯端末は、前記注意を促す警告に従った、警告音の出力、及び、表示を行う一方、前記警告の発信の有無に関わらず、前記クレーンの姿勢としての前記旋回体の傾き角度と前記揚重能力を表示する、請求項1に記載の安全支援システム。
【請求項5】
前記安全支援システムは、さらに、前記旋回体に設けられ、警告灯を有する警報器を備え、
前記監視部は、前記危険性に応じた警告を前記警報器にも発信し、
前記警報器は、前記警告に従った警告灯の点灯を行う、請求項3又は請求項4に記載の安全支援システム。
【請求項6】
前記安全支援システムは、表示部と音出力部を有する遠隔端末を備え、
前記遠隔端末の前記表示部及び前記音出力部は、前記携帯端末の前記表示部及び前記音出力部と同様の表示、及び、音出力を行う、請求項3又は請求項4に記載の安全支援システム。
発明の詳細な説明
【技術分野】
【0001】
本発明は、作業機械の安全支援システムに関する。
続きを表示(約 1,500 文字)
【背景技術】
【0002】
運転台にてクレーンを操縦するオペレータは、クレーン及びその吊り荷をその周囲から客観的に観察することができない。
特にオペレータの熟練度が低いと、クレーンを所望の姿勢に操作することができない上、吊り荷を所望の位置に位置させることができない(特許文献1)。
【0003】
そこで、特許文献1には、上記課題を解決するために、吊り荷を吊るクレーンの操縦を三次元コンピュータグラフィックスにより支援するクレーン操縦支援装置であって、クレーンの可動部に設けられ、可動部の姿勢を計測する姿勢計測手段と、クレーンのフックブロックに設けられ、フックブロックの高さを計測する高さ計測手段と、姿勢計測手段の計測結果に基づいてクレーンモデルの可動部モデルを仮想的な三次元空間に配置し、姿勢計測手段の計測結果及び高さ計測手段の計測結果に基づいてクレーンモデルのフックブロックモデルを三次元空間に配置するクレーンモデル配置手段と、姿勢計測手段の計測結果及び高さ計測手段の計測結果に基づいて吊り荷モデルを三次元空間に配置する吊り荷モデル配置手段と、三次元空間内の可動部モデル、フックブロックモデル及び吊り荷モデルの描画処理をして、表示デバイスに可動部モデル、フックブロックモデル及び吊り荷モデルを表示させる描画手段と、を備えるクレーン操縦支援装置が開示されている。
【先行技術文献】
【特許文献】
【0004】
特開2019-059593号公報
【発明の概要】
【発明が解決しようとする課題】
【0005】
ところで、例えば、クレーン等は、水平状態に設置して作業を行うことが基本となるが、クローラ式のクレーン等の場合、かなりの重量があることから、アウトリガ等で水平を出すことが難しい。
【0006】
このため、転倒を回避するには、ブーム等の傾斜角度と吊荷の重量だけでなく、クレーン自体の傾斜にも注意を払う必要がある。
【0007】
また、クローラ式のクレーン等の場合、作業中に移動することもあることから、転倒を回避するには、その走行面の傾斜にも注意する必要がある。
【0008】
しかしながら、現場に到着して、はじめて、作業現場の地面が傾斜していることが発見されることも少なくない。
このため、計画段階で吊荷の荷重が十分に定格荷重より小さくなるクレーンを選択していても、常に転倒の危険性を念頭に注意した作業が強いられる。
【0009】
本発明は、このような事情に鑑みてなされたものであり、例えば、クレーン等の転倒の危険性のある作業機械の安全な作業を支援する安全支援システムを提供することを目的とする。
【課題を解決するための手段】
【0010】
本発明は、上記目的を達成するために以下の構成によって把握される。
本発明の安全支援システムは、作業機械の安全支援システムであって、前記安全支援システムは、前記作業機械と、表示部と音出力部を有する携帯端末と、前記作業機械の転倒の危険性を監視する監視部と、前記作業機械の姿勢を検出する姿勢検出部と、を備え、前記作業機械は、走行可能な本体部と、前記本体部に対して起伏可能に設けられ、前記本体部の外側まで延在可能な作動部と、を備え、前記監視部は、前記危険性に応じた警告を前記携帯端末に発信し、前記携帯端末は、前記警告に従った、警告音の出力、及び、表示を行う一方、前記警告の発信の有無に関わらず、前記作業機械の姿勢を表示する。
【発明の効果】
(【0011】以降は省略されています)
この特許をJ-PlatPat(特許庁公式サイト)で参照する
関連特許
株式会社大林組
接合構造
27日前
株式会社大林組
加熱装置
24日前
株式会社大林組
開封装置
24日前
株式会社大林組
接続構造
27日前
株式会社大林組
操縦装置
27日前
株式会社大林組
ドリル装置
27日前
株式会社大林組
スロープ構造
24日前
株式会社大林組
折畳み構造物
1か月前
株式会社大林組
災害時支援装置
16日前
株式会社大林組
梁筋の配筋方法
16日前
株式会社大林組
進捗管理システム
3日前
株式会社大林組
大梁胴縁接続構造
18日前
株式会社大林組
繊維材供給システム
24日前
株式会社大林組
電動式運搬補助装置
26日前
株式会社大林組
構造物及び施工方法
16日前
株式会社大林組
建設現場支援システム
17日前
株式会社大林組
自動屋根開閉システム
1か月前
株式会社大林組
柱接合構造の施工方法
16日前
株式会社大林組
耐火構造、耐火板支持構造
1か月前
株式会社大林組
シート部材及び、施工方法
19日前
株式会社大林組
リフトアップ装置の制御装置
24日前
株式会社大林組
有機フッ素化合物の不溶化方法
27日前
株式会社大林組
評価支援装置及び評価支援方法
25日前
株式会社大林組
墜落防止設備及び墜落防止方法
26日前
株式会社大林組
施工支援装置及び施工支援方法
26日前
株式会社大林組
施工支援装置及び施工支援方法
26日前
株式会社大林組
施工支援装置及び施工支援方法
26日前
株式会社大林組
動作制御装置および動作制御方法
25日前
株式会社大林組
地下外壁の形成方法及び地下外壁
1か月前
株式会社大林組
免震構造及び免震構造の施工方法
19日前
株式会社大林組
建物構造、及び建物構造を含む建築物
25日前
株式会社大林組
定着装置、及び外ケーブルの架設方法
1か月前
株式会社大林組
打設管理システム及び、打設管理方法
1か月前
株式会社大林組
押し込み治具及び、定着具の設置方法
16日前
株式会社大林組
旋回揚重機構、揚重装置、資機材の揚重方法
1か月前
株式会社大林組
噴射物拡散部材、表面処理装置及び表面処理方法
18日前
続きを見る
他の特許を見る