TOP
|
特許
|
意匠
|
商標
特許ウォッチ
Twitter
他の特許を見る
10個以上の画像は省略されています。
公開番号
2025167535
公報種別
公開特許公報(A)
公開日
2025-11-07
出願番号
2024072278
出願日
2024-04-26
発明の名称
押し込み治具及び、定着具の設置方法
出願人
株式会社大林組
代理人
弁理士法人プロスペック特許事務所
,
個人
主分類
E04G
21/12 20060101AFI20251030BHJP(建築物)
要約
【課題】雄部材を雌部材に効果的に押し込む。
【解決手段】緊張材5を貫通させる第1貫通孔13を有する雌部材12と、緊張材5を貫通させる第2貫通孔16を有するとともに、第1貫通孔13に押し込まれることにより緊張材5を保持する雄部材15と、を備える定着具10を、構造物1の端部E1と不動物OBとの対向空間Sに設置する際に、雄部材15を第1貫通孔13に押し込むために用いる治具20であって、先端側に向かうに従い厚さが薄くなる楔状に形成されるとともに、テーパ面31を有する楔部材30を備えており、楔部材30は、テーパ面31が雄部材15に向くように、その先端側から対向空間S内に挿入されると、不動物B側の一方の面32が不動物OBから反力を得つつ、テーパ面31が雄部材15に押し込み方向の力を伝達することにより、雄部材15を第1貫通孔13に押し込むように構成されている。
【選択図】図5
特許請求の範囲
【請求項1】
構造物の内部に挿入される緊張材を貫通させる第1貫通孔を有する雌部材と、前記緊張材を貫通させる第2貫通孔を有するとともに、前記第1貫通孔に押し込まれることにより前記緊張材を前記第2貫通孔に保持する雄部材と、を備える定着具を、前記構造物の端部と不動物との対向空間に設置する際に、前記雄部材を前記第1貫通孔に押し込むために用いる治具であって、
先端側に向かうに従い厚さが薄くなる楔状に形成されるとともに、その側面の少なくとも一部にテーパ面を有する楔部材を備えており、
前記楔部材は、前記テーパ面が前記不動物又は前記雄部材の何れか一方に向くように、その先端側から前記対向空間内に挿入されると、前記不動物側の一方の面が前記不動物から直接又は間接的に反力を得つつ、前記雄部材側の他方の面が前記雄部材に押し込み方向の力を直接又は間接的に伝達することにより、前記雄部材を前記第1貫通孔に押し込むように構成されている
ことを特徴とする押し込み治具。
続きを表示(約 1,200 文字)
【請求項2】
請求項1に記載の押し込み治具であって、
前記楔部材としての第1楔部材と、
前記第1楔部材に摺接可能に設けられる第2楔部材と、を備え、
前記第1楔部材は、前記テーパ面としての第1テーパ面が前記押し込み方向の力を間接的に伝達する前記他方の面になるとともに、前記第1テーパ面とは反対側の面が前記不動物から前記反力を得る前記一方の面になるように前記対向空間内に挿入され、
前記第2楔部材は、前記第1楔部材の前記対向空間内への挿入に伴い、前記第1テーパ面に摺接する第2テーパ面を有するとともに、前記第2テーパ面とは反対側の面が前記雄部材の端面に接するように前記対向空間内に配置される
ことを特徴とする押し込み治具。
【請求項3】
請求項2に記載の押し込み治具であって、
前記第1楔部材及び、前記第2楔部材は、前記雄部材から前記対向空間内に突出する前記緊張材を受容するための切り欠き部をそれぞれ有する
ことを特徴とする押し込み治具。
【請求項4】
請求項2に記載の押し込み治具であって、
前記第1楔部材の前記第1テーパ面を挟んで対向する両側面と、前記第2楔部材の前記第2テーパ面を挟んで対向する両側面とを、前記テーパ面の傾斜方向に沿ってスライド移動可能に支持する一対のガイド板部材を備える
ことを特徴とする押し込み治具。
【請求項5】
請求項2に記載の押し込み治具であって、
前記第1楔部材の先端側とは反対側の端部に、前記第1楔部材を前記対向空間内に挿入するための棒部材が接続されている
ことを特徴とする押し込み治具。
【請求項6】
請求項3に記載の押し込み治具であって、
前記第2楔部材の前記第2テーパ面とは反対側の面に、前記雄部材の前記端面と接する樹脂製の板部材が設けられている
ことを特徴とする押し込み治具。
【請求項7】
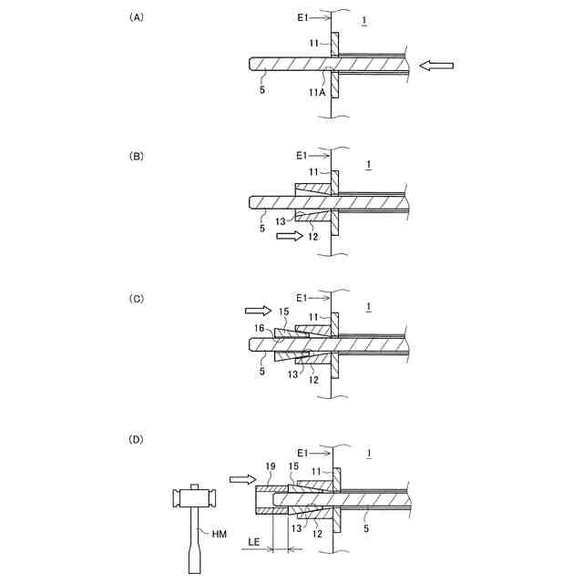
請求項2又は3に記載の押し込み治具を用いた定着具の設置方法であって、
前記第1貫通孔及び、前記第2貫通孔に前記緊張材を貫通させて、前記雄部材を前記第1貫通孔に差し込んだ状態で、前記雄部材と前記不動物との間に、前記第1楔部材の前記一方の面に前記反力を伝達するためのスペーサ部材を配置し、
前記第2楔部材を、前記第2テーパ面とは反対側の面が前記雄部材の端面に接するように前記対向空間内に配置し、
前記第1楔部材を、前記一方の面が前記スペーサ部材を介して前記不動物から前記反力を得つつ、前記第1テーパ面が前記第2テーパ面と摺接するように前記対向空間内に挿入し、前記第2楔部材から前記雄部材に押し込み方向の力を伝達することにより、前記雄部材を前記第1貫通孔に押し込む
ことを特徴とする定着具の設置方法。
発明の詳細な説明
【技術分野】
【0001】
本開示は、押し込み治具及び、定着具の設置方法に関し、定着具のオスコーン(雄部材)をメスコーン(雌部材)に押し込むのに好適な技術に関するものである。
続きを表示(約 2,300 文字)
【背景技術】
【0002】
従来、コンクリート構造物にプレストレスを導入する工法として、ポストテンション工法が知られている。ポストテンション工法は、コンクリートに埋設されたシース管内にPCストランド等の緊張材を挿入し、緊張材に定着具及びジャッキを設置して緊張力を付与することによりプレストレスを導入した後、シース管内にグラウトを注入して緊張材を固定する。
【0003】
例えば、特許文献1には、ポストテンション工法で用いる定着具を設置するための治具(以下、定着具設置治具)が開示されている。特許文献1記載の定着具設置治具は、定着具のメスコーンに固定される筒状の筐体と、該筐体の内部空間内に配置され、定着具のオスコーンをメスコーン側に付勢するコイルバネとを備える。特許文献1記載の定着具設置治具は、緊張材をメスコーンに挿入すると、オスコーンが緊張材の挿入力によってメスコーンから押し出されて拡径し、緊張材がオスコーンを貫通すると、コイルバネがオスコーンをメスコーン側に押し戻すように構成されている。
【先行技術文献】
【特許文献】
【0004】
特開2023-137878号公報
【発明の概要】
【発明が解決しようとする課題】
【0005】
一般的に、定着具の設置作業は、メスコーンを貫通させた緊張材の先端側にオスコーンを取り付けた後、オスコーンにハンマー等を用いて打撃を与え、オスコーンをメスコーンに押し込むことにより行われる。しかしながら、定着具の背面側に障害物があり、十分な作業スペースを確保できないような場合には、オスコーンに打撃を与えることができず、定着具を正しく設置できない課題が生じる。特許文献1記載の定着具設置治具を用いることもできるが、狭隘なスペースに定着具設置治具を取り付けなければならず、労力や手間が掛かるといった課題がある。また、定着具設置治具を入れることができないようなスペースには対応できない課題もある。
【0006】
本開示の技術は、上記事情に鑑みてなされたものであり、定着具の雄部材(オスコーン)を雌部材(メスコーン)に効果的に押し込むことができる技術を提供することを目的とする。
【課題を解決するための手段】
【0007】
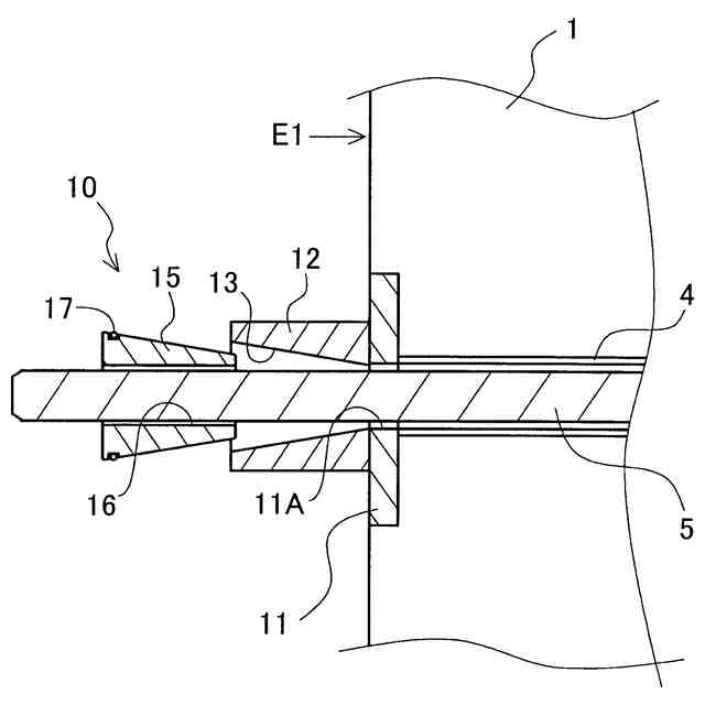
本開示の押し込み治具(20)は、
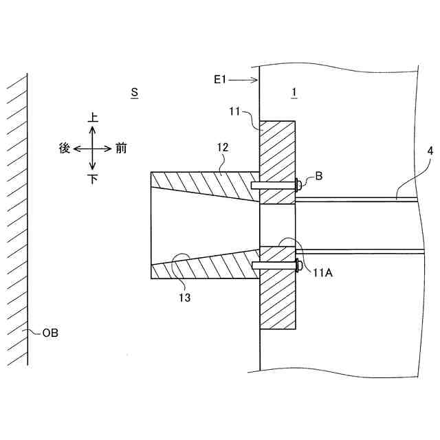
構造物(1)の内部(4)に挿入される緊張材(5)を貫通させる第1貫通孔(13)を有する雌部材(12)と、前記緊張材(5)を貫通させる第2貫通孔(16)を有するとともに、前記第1貫通孔(13)に押し込まれることにより前記緊張材(5)を前記第2貫通孔(16)に保持する雄部材(15)と、を備える定着具(10)を、前記構造物(1)の端部(E1)と不動物(OB)との対向空間(S)に設置する際に、前記雄部材(15)を前記第1貫通孔(13)に押し込むために用いる治具(20)であって、
先端側に向かうに従い厚さが薄くなる楔状に形成されるとともに、その側面の少なくとも一部にテーパ面(31)を有する楔部材(30)を備えており、
前記楔部材(30)は、前記テーパ面(31)が前記不動物(OB)又は前記雄部材(15)の何れか一方に向くように、その先端側から前記対向空間(S)内に挿入されると、前記不動物(B)側の一方の面(32)が前記不動物(OB)から直接又は間接的に反力を得つつ、前記雄部材(15)側の他方の面(31)が前記雄部材(15)に押し込み方向の力を直接又は間接的に伝達することにより、前記雄部材(15)を前記第1貫通孔(13)に押し込むように構成されている
ことを特徴とする。
【0008】
本開示の他の態様の押し込み治具(20)は、
前記楔部材(30)としての第1楔部材(30)と、
前記第1楔部材(30)に摺接可能に設けられる第2楔部材(40)と、を備え、
前記第1楔部材(30)は、前記テーパ面(31)としての第1テーパ面(31)が前記押し込み方向の力を間接的に伝達する前記他方の面(31)になるとともに、前記第1テーパ面(31)とは反対側の面(32)が前記不動物(OB)から前記反力を得る前記一方の面(32)になるように前記対向空間(S)内に挿入され、
前記第2楔部材(40)は、前記第1楔部材(30)の前記対向空間(S)内への挿入に伴い、前記第1テーパ面(31)に摺接する第2テーパ面(41)を有するとともに、前記第2テーパ面(41)とは反対側の面(42)が前記雄部材(15)の端面に接するように前記対向空間(S)内に配置される
ことが望ましい。
【0009】
本開示の他の態様の押し込み治具(20)において、
前記第1楔部材(30)及び、前記第2楔部材(40)は、前記雄部材(15)から前記対向空間(S)内に突出する前記緊張材(5)を受容するための切り欠き部(38,48)をそれぞれ有する
ことが望ましい。
【0010】
本開示の他の態様の押し込み治具(20)は、
前記第1楔部材(30)の前記第1テーパ面(31)を挟んで対向する両側面(33,34)と、前記第2楔部材(40)の前記第2テーパ面(41)を挟んで対向する両側面(43,44)とを、前記テーパ面(31,41)の傾斜方向に沿ってスライド移動可能に支持する一対のガイド板部材(50A,50B)を備える
ことが望ましい。
(【0011】以降は省略されています)
この特許をJ-PlatPat(特許庁公式サイト)で参照する
関連特許
株式会社大林組
操縦装置
24日前
株式会社大林組
飛込み台
2か月前
株式会社大林組
接続構造
24日前
株式会社大林組
加熱装置
21日前
株式会社大林組
開封装置
21日前
株式会社大林組
接合構造
1か月前
株式会社大林組
測定方法
2か月前
株式会社大林組
接合構造
24日前
株式会社大林組
ドリル装置
24日前
株式会社大林組
建物の構造
1か月前
株式会社大林組
免震建築物
2か月前
株式会社大林組
仮設建築物
2か月前
株式会社大林組
スロープ構造
21日前
株式会社大林組
折畳み構造物
27日前
株式会社大林組
耐火被覆構造
2か月前
株式会社大林組
ルーバー構造
2か月前
株式会社大林組
可搬式充電設備
1か月前
株式会社大林組
梁筋の配筋方法
13日前
株式会社大林組
災害時支援装置
13日前
株式会社大林組
床板の設置方法
2か月前
株式会社大林組
リフトアップ装置
2か月前
株式会社大林組
リフトアップ装置
2か月前
株式会社大林組
鋼矢板の圧入方法
1か月前
株式会社大林組
進捗管理システム
今日
株式会社大林組
大梁胴縁接続構造
15日前
株式会社大林組
袋体付き排水パイプ
2か月前
株式会社大林組
袋体付き排水パイプ
2か月前
株式会社大林組
電動式運搬補助装置
23日前
株式会社大林組
構造物及び施工方法
13日前
株式会社大林組
繊維材供給システム
21日前
株式会社大林組
建築物及び建築方法
2か月前
株式会社大林組
CO2固定量測定方法
2か月前
株式会社大林組
柱接合構造の施工方法
13日前
株式会社大林組
自動屋根開閉システム
27日前
株式会社大林組
建設現場支援システム
14日前
株式会社大林組
建物の構築方法及び建物
2か月前
続きを見る
他の特許を見る