TOP
|
特許
|
意匠
|
商標
特許ウォッチ
Twitter
他の特許を見る
10個以上の画像は省略されています。
公開番号
2025161206
公報種別
公開特許公報(A)
公開日
2025-10-24
出願番号
2024064202
出願日
2024-04-11
発明の名称
折畳み構造物
出願人
株式会社大林組
代理人
個人
,
個人
,
個人
主分類
E04B
1/344 20060101AFI20251017BHJP(建築物)
要約
【課題】より小さな抵抗で容易に開閉することが可能な折畳み構造物を提供することである。
【解決手段】正多角形となる中央部10と、複数本の第1折曲げ部21と、複数本の第2折曲げ部22と、複数本の第3折曲げ部23と、複数の折曲げ片部とを有し、複数の折曲げ片部が互いに重なるように折り畳まれた折畳み状態と展開状態とに開閉可能な折畳み構造物1であって、第1折曲げ部21と第2折曲げ部22との交点26から第3折曲げ部23にまで延びる複数本の第4折曲げ部31と、第3折曲げ部23と第4折曲げ部31との交点から第3折曲げ部23を対称軸として第4折曲げ部31と対称な方向に第2折曲げ部22にまで延びる複数本の第5折曲げ部32と、をさらに有し、第4折曲げ部31と第5折曲げ部32とが第1折曲げ部21とは逆向きに折り曲げられるように構成されている折畳み構造物1。
【選択図】図7
特許請求の範囲
【請求項1】
正多角形となる中央部と、
それぞれ前記中央部の辺を構成するとともに前記中央部の重心を中心とした周方向の一方側に前記辺から延長して延びる複数本の第1折曲げ部と、
前記周方向に隣り合う一対の前記第1折曲げ部の間に設けられ、それぞれ一方の前記第1折曲げ部と他方の前記第1折曲げ部との交点から一方の前記第1折曲げ部と他方の前記第1折曲げ部との間の角度を等分するように延びる複数本の第2折曲げ部と、
前記周方向に隣り合う一対の前記第1折曲げ部の間に1本の前記第2折曲げ部のみが設けられている場合には、それぞれ前記第1折曲げ部と前記第2折曲げ部との間に設けられて前記第1折曲げ部に平行に延び、前記周方向に隣り合う一対の前記第1折曲げ部の間に複数本の前記第2折曲げ部が設けられている場合には、それぞれ前記第1折曲げ部と前記第2折曲げ部との間に設けられて前記第1折曲げ部に平行に延び、及び、隣り合う一対の前記第2折曲げ部の間に設けられて一方の前記第2折曲げ部と平行に延びる複数本の第3折曲げ部と、
前記第1折曲げ部、前記第2折曲げ部及び前記第3折曲げ部により区画されて前記中央部の周囲に設けられた複数の折曲げ片部と、を有し、
前記第1折曲げ部、前記第2折曲げ部及び前記第3折曲げ部が、それぞれ前記中央部と前記折曲げ片部との間及び隣り合う前記折曲げ片部の間において交互に山折り、谷折りされることで前記中央部の周囲に複数の前記折曲げ片部が互いに重なるように折り畳まれた折畳み状態と、前記中央部の周囲に複数の前記折曲げ片部が広がる展開状態とに開閉可能な折畳み構造物であって、
前記周方向に隣り合う一対の前記第1折曲げ部の間に1本の前記第2折曲げ部のみが設けられている場合には、それぞれの前記第1折曲げ部と前記第2折曲げ部との間に設けられて前記第1折曲げ部と前記第2折曲げ部との交点から前記第1折曲げ部と前記第2折曲げ部との間の角度を等分するように前記第3折曲げ部にまで延び、前記周方向に隣り合う一対の前記第1折曲げ部の間に複数本の前記第2折曲げ部が設けられている場合には、それぞれの前記第1折曲げ部と前記第2折曲げ部との間においては前記第1折曲げ部と前記第2折曲げ部との交点から前記第1折曲げ部と前記第2折曲げ部との間の角度を等分するように前記第3折曲げ部にまで延び、隣り合う一対の前記第2折曲げ部の間においては隣り合う一対の前記第2折曲げ部の交点から隣り合う一対の前記第2折曲げ部の間の角度を等分するように前記第3折曲げ部にまで延びる複数本の第4折曲げ部と、
前記周方向に隣り合う一対の前記第1折曲げ部の間に1本の前記第2折曲げ部のみが設けられている場合には、それぞれの前記第1折曲げ部と前記第2折曲げ部との間に設けられて前記第3折曲げ部と前記第4折曲げ部との交点から前記第3折曲げ部を対称軸として前記第4折曲げ部と対称な方向に前記第2折曲げ部にまで延び、前記周方向に隣り合う一対の前記第1折曲げ部の間に複数本の前記第2折曲げ部が設けられている場合には、前記第1折曲げ部と前記第2折曲げ部との間においては前記第3折曲げ部と前記第4折曲げ部との交点から前記第3折曲げ部を対称軸として前記第4折曲げ部と対称な方向に前記第2折曲げ部にまで延び、隣り合う一対の前記第2折曲げ部の間においては前記第3折曲げ部と前記第4折曲げ部との交点から前記第3折曲げ部を対称軸として前記第4折曲げ部と対称な方向に前記第2折曲げ部にまで延びる複数本の第5折曲げ部と、をさらに有し、
前記折畳み状態のときに、前記第4折曲げ部と前記第5折曲げ部とが第1折曲げ部とは逆向きに折り曲げられるように構成されていることを特徴とする折畳み構造物。
発明の詳細な説明
【技術分野】
【0001】
本発明は、折畳み状態と展開状態とに開閉可能な折畳み構造物に関する。
続きを表示(約 3,400 文字)
【背景技術】
【0002】
平面状(シート状ないし板状)のものを、蛇腹状に山折り、谷折りすることでコンパクトに折り畳まれた状態とするとともに、当該折畳み状態と展開状態に開閉させることができるようにした折畳み構造物が知られている(例えば特許文献1参照)。
【0003】
このような折畳み構造物を、例えば傘、屋根、太陽光発電パネル、パラボラアンテナ、テーブル、レジャーシート、巨大な円板状の構造物、巨大な球面状の構造物などに適用することで、これらを運搬する際の運搬空間への収納効率を飛躍的に増大させることができるとともに、これらを設置する際の工期、コストを低減することができる。
【先行技術文献】
【特許文献】
【0004】
特開平7-158794号公報
【発明の概要】
【発明が解決しようとする課題】
【0005】
上記のような折畳み構造物として、正多角形となる中央部と、それぞれ中央部の辺を構成するとともに中央部の重心を中心とした周方向の一方側に辺から延長して延びる複数本の第1折曲げ部と、周方向に隣り合う一対の第1折曲げ部の間に設けられ、それぞれ一方の第1折曲げ部と他方の第1折曲げ部との交点から一方の第1折曲げ部と他方の第1折曲げ部との間の角度を等分するように延びる複数本の第2折曲げ部と、第1折曲げ部と第2折曲げ部との間に設けられ、それぞれ第1折曲げ部に平行に延びる複数本の第3折曲げ部と、第1折曲げ部、第2折曲げ部及び第3折曲げ部により区画されて中央部の周囲に設けられた複数の折曲げ片部と、を有し、第1折曲げ部、第2折曲げ部及び第3折曲げ部が、それぞれ中央部と折曲げ片部との間及び隣り合う折曲げ片部の間において交互に山折り、谷折りされることで中央部の周囲に複数の折曲げ片部が互いに重なるように折り畳まれた折畳み状態と、中央部の周囲に複数の折曲げ片部が広がる展開状態とに開閉可能な構造を有するものが考えられる。このような折畳み構造物では、中央部の周囲に設けられることになる、中央部の重心を中心とした複数の回転対称の部分が、それぞれ当該重心を中心とした周方向に向けて中央部の外周に巻き付けられながら中央部の周囲に折り込まれることになる。
【0006】
しかし、このような構造では、中央部に近い箇所の折り畳み後に角になる部分に、当該部分が折り畳まれる前に巻き込みが発生し、これにより折曲げ片部に応力集中部が生じて折り畳む際の抵抗が大きくなってしまう、という問題点があった。
【0007】
本発明は、このような課題に鑑みてなされたものであり、その目的は、より小さな抵抗で容易に開閉することが可能な折畳み構造物を提供することにある。
【課題を解決するための手段】
【0008】
本発明の折畳み構造物は、正多角形となる中央部と、それぞれ前記中央部の辺を構成するとともに前記中央部の重心を中心とした周方向の一方側に前記辺から延長して延びる複数本の第1折曲げ部と、前記周方向に隣り合う一対の前記第1折曲げ部の間に設けられ、それぞれ一方の前記第1折曲げ部と他方の前記第1折曲げ部との交点から一方の前記第1折曲げ部と他方の前記第1折曲げ部との間の角度を等分するように延びる複数本の第2折曲げ部と、前記周方向に隣り合う一対の前記第1折曲げ部の間に1本の前記第2折曲げ部のみが設けられている場合には、それぞれ前記第1折曲げ部と前記第2折曲げ部との間に設けられて前記第1折曲げ部に平行に延び、前記周方向に隣り合う一対の前記第1折曲げ部の間に複数本の前記第2折曲げ部が設けられている場合には、それぞれ前記第1折曲げ部と前記第2折曲げ部との間に設けられて前記第1折曲げ部に平行に延び、及び、隣り合う一対の前記第2折曲げ部の間に設けられて一方の前記第2折曲げ部と平行に延びる複数本の第3折曲げ部と、前記第1折曲げ部、前記第2折曲げ部及び前記第3折曲げ部により区画されて前記中央部の周囲に設けられた複数の折曲げ片部と、を有し、前記第1折曲げ部、前記第2折曲げ部及び前記第3折曲げ部が、それぞれ前記中央部と前記折曲げ片部との間及び隣り合う前記折曲げ片部の間において交互に山折り、谷折りされることで前記中央部の周囲に複数の前記折曲げ片部が互いに重なるように折り畳まれた折畳み状態と、前記中央部の周囲に複数の前記折曲げ片部が広がる展開状態とに開閉可能な折畳み構造物であって、前記周方向に隣り合う一対の前記第1折曲げ部の間に1本の前記第2折曲げ部のみが設けられている場合には、それぞれの前記第1折曲げ部と前記第2折曲げ部との間に設けられて前記第1折曲げ部と前記第2折曲げ部との交点から前記第1折曲げ部と前記第2折曲げ部との間の角度を等分するように前記第3折曲げ部にまで延び、前記周方向に隣り合う一対の前記第1折曲げ部の間に複数本の前記第2折曲げ部が設けられている場合には、それぞれの前記第1折曲げ部と前記第2折曲げ部との間においては前記第1折曲げ部と前記第2折曲げ部との交点から前記第1折曲げ部と前記第2折曲げ部との間の角度を等分するように前記第3折曲げ部にまで延び、隣り合う一対の前記第2折曲げ部の間においては隣り合う一対の前記第2折曲げ部の交点から隣り合う一対の前記第2折曲げ部の間の角度を等分するように前記第3折曲げ部にまで延びる複数本の第4折曲げ部と、前記周方向に隣り合う一対の前記第1折曲げ部の間に1本の前記第2折曲げ部のみが設けられている場合には、それぞれの前記第1折曲げ部と前記第2折曲げ部との間に設けられて前記第3折曲げ部と前記第4折曲げ部との交点から前記第3折曲げ部を対称軸として前記第4折曲げ部と対称な方向に前記第2折曲げ部にまで延び、前記周方向に隣り合う一対の前記第1折曲げ部の間に複数本の前記第2折曲げ部が設けられている場合には、前記第1折曲げ部と前記第2折曲げ部との間においては前記第3折曲げ部と前記第4折曲げ部との交点から前記第3折曲げ部を対称軸として前記第4折曲げ部と対称な方向に前記第2折曲げ部にまで延び、隣り合う一対の前記第2折曲げ部の間においては前記第3折曲げ部と前記第4折曲げ部との交点から前記第3折曲げ部を対称軸として前記第4折曲げ部と対称な方向に前記第2折曲げ部にまで延びる複数本の第5折曲げ部と、をさらに有し、前記折畳み状態のときに、前記第4折曲げ部と前記第5折曲げ部とが第1折曲げ部とは逆向きに折り曲げられるように構成されていることを特徴とする。
【発明の効果】
【0009】
本発明によれば、より小さな抵抗で容易に開閉することが可能な折畳み構造物を提供することができる。
【図面の簡単な説明】
【0010】
本発明の一実施形態に係る折畳み構造物の、(a)は平面図、(b)は側面図である。
図1に示す折畳み構造物の展開図である。
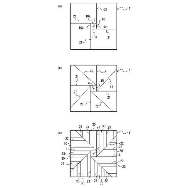
(a)は、図1に示す展開図の、第1折曲げ部のみを示した図であり、(b)は、図1に示す展開図の、第1折曲げ部と第2折曲げ部のみを示した図であり、(c)は、図1に示す展開図の、第1折曲げ部、第2折曲げ部及び第3折曲げ部のみを示した図である。
図1に示す折畳み構造物の、折畳み状態から開き始めた状態を示す図である。
図1に示す折畳み構造物の、図4に示す状態からさらに開かれた状態を示す図である。
図1に示す折畳み構造物の、展開状態における平面図である。
図2に示す展開図の要部を拡大して示す図である。
本発明の他の実施形態に係る折畳み構造物の展開図である。
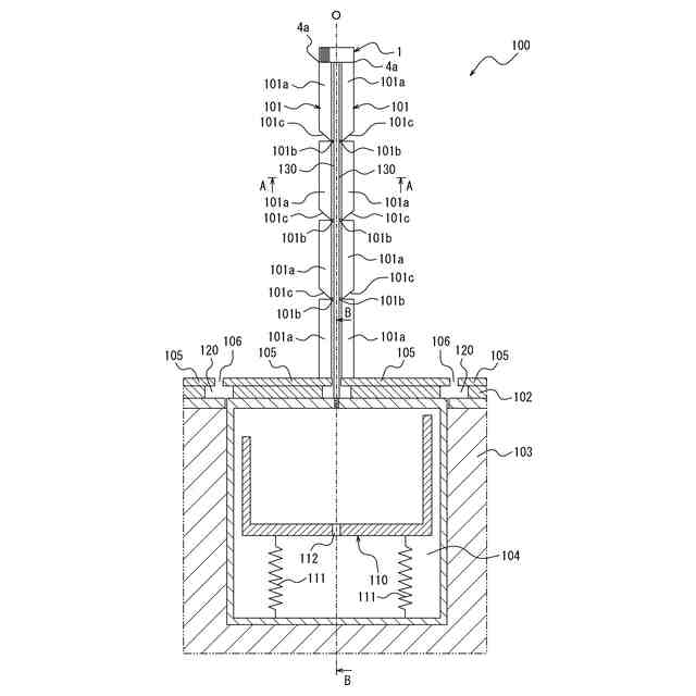
図1に示す折畳み構造物を用いた自動屋根開閉システムの構成を概略で示す図である。
図9におけるA-A線に沿う断面図である。
図9におけるB-B線に沿う断面図である。
図11におけるC-C線に沿う断面図である。
第2変換機構の構造を示す斜視図である。
図9に示す自動屋根開閉システムの、屋根を開き始めた状態を示す図である。
図9に示す自動屋根開閉システムの、屋根を展開状態となった状態を示す図である。
【発明を実施するための形態】
(【0011】以降は省略されています)
この特許をJ-PlatPat(特許庁公式サイト)で参照する
関連特許
株式会社大林組
接合構造
2か月前
株式会社大林組
加熱装置
1か月前
株式会社大林組
減衰機構
11日前
株式会社大林組
減衰機構
11日前
株式会社大林組
減衰機構
11日前
株式会社大林組
接合構造
1か月前
株式会社大林組
開封装置
1か月前
株式会社大林組
接続構造
1か月前
株式会社大林組
測定方法
2か月前
株式会社大林組
操縦装置
1か月前
株式会社大林組
飛込み台
2か月前
株式会社大林組
建物の構造
2か月前
株式会社大林組
ドリル装置
1か月前
株式会社大林組
仮設建築物
2か月前
株式会社大林組
スロープ構造
1か月前
株式会社大林組
折畳み構造物
1か月前
株式会社大林組
梁筋の配筋方法
1か月前
株式会社大林組
可搬式充電設備
2か月前
株式会社大林組
構造物形成装置
9日前
株式会社大林組
床板の設置方法
2か月前
株式会社大林組
災害時支援装置
1か月前
株式会社大林組
運搬管理システム
10日前
株式会社大林組
大梁胴縁接続構造
1か月前
株式会社大林組
リフトアップ装置
9日前
株式会社大林組
リフトアップ装置
9日前
株式会社大林組
進捗管理システム
17日前
株式会社大林組
鋼矢板の圧入方法
2か月前
株式会社大林組
リフトアップ装置
2か月前
株式会社大林組
繊維材供給システム
1か月前
株式会社大林組
電動式運搬補助装置
1か月前
株式会社大林組
構造物及び施工方法
1か月前
株式会社大林組
袋体付き排水パイプ
2か月前
株式会社大林組
袋体付き排水パイプ
2か月前
株式会社大林組
建設現場支援システム
1か月前
株式会社大林組
自動屋根開閉システム
1か月前
株式会社大林組
作業現場監視システム
4日前
続きを見る
他の特許を見る