TOP
|
特許
|
意匠
|
商標
特許ウォッチ
Twitter
他の特許を見る
10個以上の画像は省略されています。
公開番号
2025174567
公報種別
公開特許公報(A)
公開日
2025-11-28
出願番号
2024081018
出願日
2024-05-17
発明の名称
リフトアップ装置
出願人
株式会社大林組
代理人
個人
,
個人
主分類
F03D
13/40 20160101AFI20251120BHJP(液体用機械または機関;風力原動機,ばね原動機,重力原動機;他類に属さない機械動力または反動推進力を発生するもの)
要約
【課題】昇降装置を上方に引き抜かなくとも支柱から容易に取り外すことができる。
【解決手段】ガイドタワー21は、一対の前側支柱22と、前側支柱22の前面22c及び後面にそれぞれ固定される前側レール30及び後側レールとを備える。昇降装置40は、一対の垂直フレーム41と、前側支柱22に対して垂直フレーム41を昇降させる昇降機構と、前側レール30及び後側レールにそれぞれ係合するとともに昇降機構の昇降を案内する前側ローラ46及び後側ローラとを備える。前側レール30及び後側レールは、切欠部34bを有するレール本体34aと、切欠部34bにおいて前側支柱22に対して着脱可能に固定されたレール分割体34cとを有する。昇降装置40は、レール分割体34cが取り外された状態の切欠部34bを通じて前側ローラ46及び後側ローラを幅方向の外側へ移動させることにより、前側支柱22から取り外し可能に構成されている。
【選択図】図11
特許請求の範囲
【請求項1】
風力発電機のタワーの周囲に設けられるガイドタワーと、前記ガイドタワーに支持されるとともに前記ガイドタワーに沿って昇降可能に構成された昇降装置と、を備えるリフトアップ装置であって、
上下方向に直交する一方向を前後方向とするとともに、前記上下方向及び前記前後方向の双方に直交する方向を幅方向とするとき、
前記ガイドタワーは、
前記幅方向において間隔をあけて配置される一対の支柱と、
前記支柱の前面及び後面にそれぞれ固定される前側レール及び後側レールと、を備えており、
前記昇降装置は、
一対の前記支柱に対して前記幅方向の外側にそれぞれ隣り合って配置される一対の垂直フレームと、
前記垂直フレームに取り付けられ、前記支柱に対して前記垂直フレームを昇降させる昇降機構と、
前記前側レール及び前記後側レールにそれぞれ係合するとともに前記昇降機構の昇降を案内する前側ローラ及び後側ローラと、を備えており、
前記前側レール及び前記後側レールは、
前記上下方向に延在するとともに前記上下方向における一部が切り欠かれた切欠部を有するレール本体と、
前記切欠部において前記支柱に対して着脱可能に固定されたレール分割体と、を有しており、
前記昇降装置は、前記レール分割体が取り外された状態の前記切欠部を通じて前記前側ローラ及び前記後側ローラを前記幅方向の外側へ移動させることにより、前記支柱から取り外し可能に構成されている、
リフトアップ装置。
続きを表示(約 76 文字)
【請求項2】
前記レール分割体は、前記支柱に対してボルトを介して着脱可能に固定されている、
請求項1に記載のリフトアップ装置。
発明の詳細な説明
【技術分野】
【0001】
本発明は、リフトアップ装置に関する。
続きを表示(約 1,900 文字)
【背景技術】
【0002】
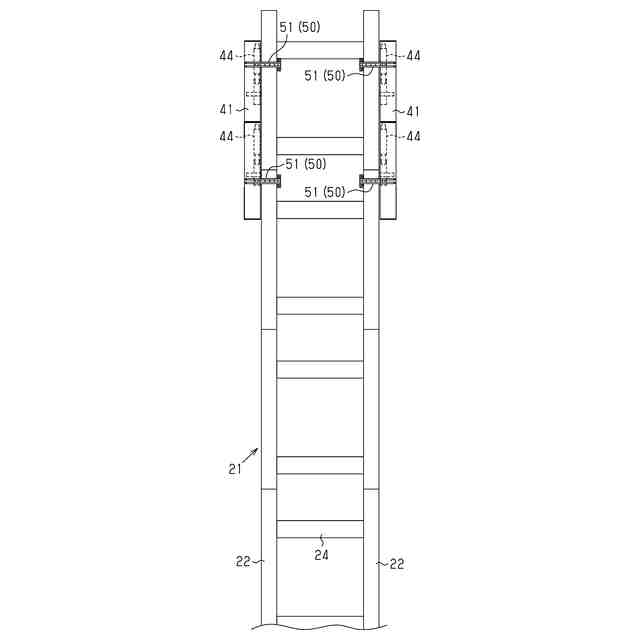
風力発電機の構築工法においては、構築中のタワーの頂部への資材の運搬などにリフトアップ装置が用いられる(例えば特許文献1参照)。リフトアップ装置は、タワーの周囲に設けられるガイドタワーと、ガイドタワーに支持されるとともにガイドタワーに沿って昇降可能に構成された昇降装置とを備える。
【0003】
ガイドタワーは、幅方向において間隔をあけて配置されるとともに互いに連結された一対の前側支柱と、一対の前側支柱の後側に位置し、幅方向において間隔をあけて配置されるとともに互いに連結された一対の後側支柱とを有する。前後方向において隣り合う前側支柱と後側支柱とは梁材を介して連結されている。
【0004】
前側支柱の前面及び後面には、上下方向に沿って延在する前側レール及び後側レールがそれぞれ固定されている。
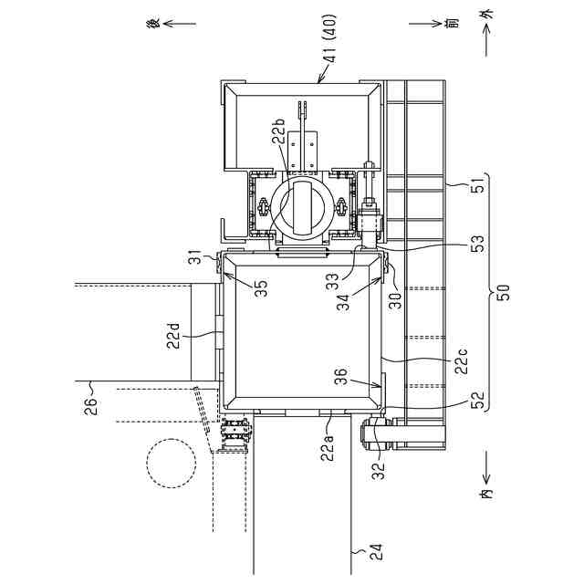
昇降装置は、一対の前側支柱に対して幅方向の外側に隣り合って配置される一対の垂直フレームを有する。垂直フレームには、前側支柱に対して垂直フレームを昇降させる昇降機構が取り付けられている。昇降装置は、前側レール上及び後側レール上をそれぞれ摺動可能に設けられる前側ローラ及び後側ローラを有する。前側ローラ及び後側ローラの軸線方向の両端には、外周側に突出するとともに前側レール及び後側レールの側面にそれぞれ係合する一対の鍔が設けられている。
【0005】
一対の垂直フレームの上端には、前後方向に沿って延在する一対のフレームがそれぞれ連結されている。
【先行技術文献】
【特許文献】
【0006】
特開2005-120775号公報
【発明の概要】
【発明が解決しようとする課題】
【0007】
リフトアップ装置を解体する際、前側支柱から垂直フレームを幅方向の外側に移動させて取り外そうとすると、前側ローラ及び後側ローラの鍔が前側レール及び後側レールに干渉する。このため、垂直フレームを含む昇降装置を前側支柱に沿って上方に引き抜かなければならなくなるので、取り外し作業が繁雑になる。
【課題を解決するための手段】
【0008】
上記課題を解決するためのリフトアップ装置の各態様を記載する。
[態様1]
風力発電機のタワーの周囲に設けられるガイドタワーと、前記ガイドタワーに支持されるとともに前記ガイドタワーに沿って昇降可能に構成された昇降装置と、を備えるリフトアップ装置であって、
上下方向に直交する一方向を前後方向とするとともに、前記上下方向及び前記前後方向の双方に直交する方向を幅方向とするとき、
前記ガイドタワーは、
前記幅方向において間隔をあけて配置される一対の支柱と、
前記支柱の前面及び後面にそれぞれ固定される前側レール及び後側レールと、を備えており、
前記昇降装置は、
一対の前記支柱に対して前記幅方向の外側にそれぞれ隣り合って配置される一対の垂直フレームと、
前記垂直フレームに取り付けられ、前記支柱に対して前記垂直フレームを昇降させる昇降機構と、
前記前側レール及び前記後側レールにそれぞれ係合するとともに前記昇降機構の昇降を案内する前側ローラ及び後側ローラと、を備えており、
前記前側レール及び前記後側レールは、
前記上下方向に延在するとともに前記上下方向における一部が切り欠かれた切欠部を有するレール本体と、
前記切欠部において前記支柱に対して着脱可能に固定されたレール分割体と、を有しており、
前記昇降装置は、前記レール分割体が取り外された状態の前記切欠部を通じて前記前側ローラ及び前記後側ローラを前記幅方向の外側へ移動させることにより、前記支柱から取り外し可能に構成されている、
リフトアップ装置。
【0009】
同構成によれば、ガイドタワーの支柱からレール分割体が取り外された状態において、切欠部を通じて前側ローラ及び後側ローラを幅方向の外側へ移動させることで、支柱から昇降装置を取り外すことができる。したがって、昇降装置を上方に引き抜かなくとも支柱から容易に取り外すことができる。
【0010】
[態様2]
前記レール分割体は、前記支柱に対してボルトを介して着脱可能に固定されている、
態様1に記載のリフトアップ装置。
(【0011】以降は省略されています)
この特許をJ-PlatPat(特許庁公式サイト)で参照する
関連特許
株式会社大林組
加熱装置
29日前
株式会社大林組
減衰機構
2日前
株式会社大林組
測定方法
2か月前
株式会社大林組
接合構造
1か月前
株式会社大林組
操縦装置
1か月前
株式会社大林組
接合構造
1か月前
株式会社大林組
接続構造
1か月前
株式会社大林組
飛込み台
2か月前
株式会社大林組
開封装置
29日前
株式会社大林組
減衰機構
2日前
株式会社大林組
減衰機構
2日前
株式会社大林組
仮設建築物
2か月前
株式会社大林組
ドリル装置
1か月前
株式会社大林組
免震建築物
3か月前
株式会社大林組
建物の構造
1か月前
株式会社大林組
空調システム
3か月前
株式会社大林組
折畳み構造物
1か月前
株式会社大林組
監視システム
3か月前
株式会社大林組
ルーバー構造
2か月前
株式会社大林組
耐火被覆構造
2か月前
株式会社大林組
スロープ構造
29日前
株式会社大林組
床板の設置方法
2か月前
株式会社大林組
建物の躯体構造
3か月前
株式会社大林組
災害時支援装置
21日前
株式会社大林組
梁筋の配筋方法
21日前
株式会社大林組
構造物形成装置
今日
株式会社大林組
可搬式充電設備
1か月前
株式会社大林組
建物の躯体構造
3か月前
株式会社大林組
リフトアップ装置
2か月前
株式会社大林組
リフトアップ装置
2か月前
株式会社大林組
運搬管理システム
1日前
株式会社大林組
安全支援システム
3か月前
株式会社大林組
リフトアップ装置
今日
株式会社大林組
大梁胴縁接続構造
23日前
株式会社大林組
鋼矢板の圧入方法
1か月前
株式会社大林組
リフトアップ装置
今日
続きを見る
他の特許を見る