TOP
|
特許
|
意匠
|
商標
特許ウォッチ
Twitter
他の特許を見る
10個以上の画像は省略されています。
公開番号
2025174566
公報種別
公開特許公報(A)
公開日
2025-11-28
出願番号
2024081017
出願日
2024-05-17
発明の名称
リフトアップ装置
出願人
株式会社大林組
代理人
個人
,
個人
主分類
F03D
13/40 20160101AFI20251120BHJP(液体用機械または機関;風力原動機,ばね原動機,重力原動機;他類に属さない機械動力または反動推進力を発生するもの)
要約
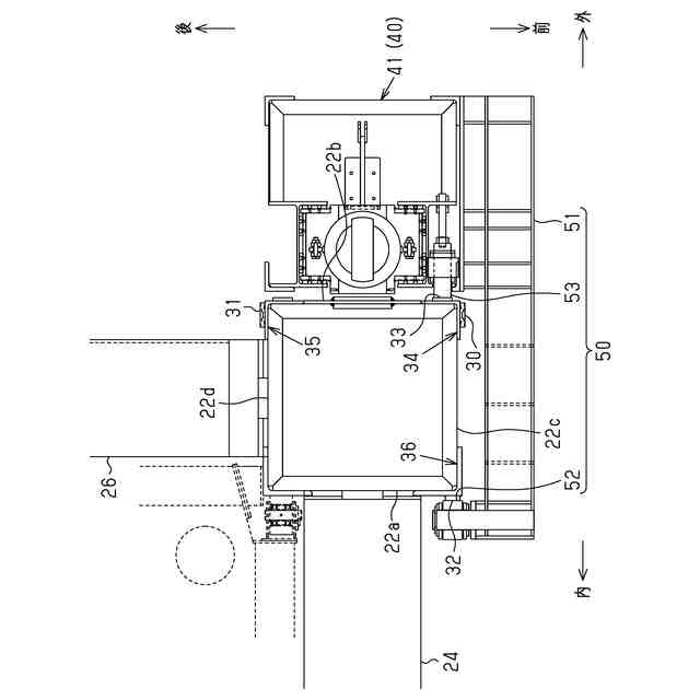
【課題】前側支柱から垂直フレームが幅方向の外側に離れることを抑制できる。
【解決手段】リフトアップ装置は、ガイドタワー21と昇降装置40とを備える。ガイドタワー21は、一対の前側支柱22と、一対の後側支柱とを有する。前後方向において隣り合う前側支柱22と後側支柱とは梁材を介して連結されている。前側支柱22の幅方向の内側及び外側の側面22a,22bには、上下方向に沿って延在する内側レール32及び外側レール33がそれぞれ固定されている。昇降装置40は、一対の前側支柱22に対して幅方向の外側にそれぞれ隣り合って配置される一対の垂直フレーム41と、垂直フレーム41に取り付けられ、前側支柱22に対して垂直フレーム41を昇降させる昇降機構と、内側レール32上及び外側レール33上をそれぞれ摺動可能に設けられる内側ローラ52及び外側ローラ53を含み、前側支柱22を幅方向において挟持する挟持機構50を有する。
【選択図】図5
特許請求の範囲
【請求項1】
風力発電機のタワーの周囲に設けられるガイドタワーと、前記ガイドタワーに支持されるとともに前記ガイドタワーに沿って昇降可能に構成された昇降装置と、を備えるリフトアップ装置であって、
上下方向に直交する一方向を前後方向とするとともに、前記上下方向及び前記前後方向の双方に直交する方向を幅方向とするとき、
前記ガイドタワーは、
前記幅方向において間隔をあけて配置されるとともに互いに連結された一対の前側支柱と、
一対の前記前側支柱の後側に位置し、前記幅方向において間隔をあけて配置されるとともに互いに連結された一対の後側支柱と、を有しており、
前記前後方向において隣り合う前記前側支柱と前記後側支柱とは梁材を介して連結されており、
前記前側支柱の前記幅方向の内側及び外側の側面には、前記上下方向に沿って延在する内側レール及び外側レールがそれぞれ固定されており、
前記昇降装置は、
一対の前記前側支柱に対して前記幅方向の外側にそれぞれ隣り合って配置される一対の垂直フレームと、
前記垂直フレームに取り付けられ、前記前側支柱に対して前記垂直フレームを昇降させる昇降機構と、
前記内側レール上及び前記外側レール上をそれぞれ摺動可能に設けられる内側ローラ及び外側ローラを含み、前記前側支柱を前記幅方向において挟持する挟持機構を有している、
リフトアップ装置。
続きを表示(約 400 文字)
【請求項2】
複数の前記挟持機構が、前記上下方向において互いに間隔をあけて設けられている、
請求項1に記載のリフトアップ装置。
【請求項3】
前記挟持機構は、前記垂直フレームに連結されるとともに前記内側ローラを支持する支持アームを有している、
請求項1または請求項2に記載のリフトアップ装置。
【請求項4】
前記支持アームは、前記垂直フレームの前面に対して着脱可能に構成されている、
請求項3に記載のリフトアップ装置。
【請求項5】
前記前側支柱の前面及び後面には、前記上下方向に沿って延在する前側レール及び後側レールがそれぞれ固定されており、
前記昇降装置は、前記前側レール上及び前記後側レール上をそれぞれ摺動可能に設けられる前側ローラ及び後側ローラを有している、
請求項1に記載のリフトアップ装置。
発明の詳細な説明
【技術分野】
【0001】
本発明は、リフトアップ装置に関する。
続きを表示(約 1,800 文字)
【背景技術】
【0002】
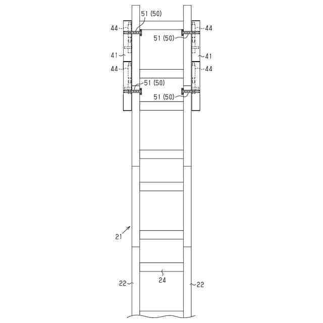
風力発電機の構築工法においては、構築中のタワーの頂部への資材の運搬などにリフトアップ装置が用いられる(例えば特許文献1参照)。リフトアップ装置は、タワーの周囲に設けられるガイドタワーと、ガイドタワーに支持されるとともにガイドタワーに沿って昇降可能に構成された昇降装置とを備える。
【0003】
ガイドタワーは、幅方向において間隔をあけて配置されるとともに互いに連結された一対の前側支柱と、一対の前側支柱の後側に位置し、幅方向において間隔をあけて配置されるとともに互いに連結された一対の後側支柱とを有する。前後方向において隣り合う前側支柱と後側支柱とは梁材を介して連結されている。
【0004】
前側支柱の前面及び後面には、上下方向に沿って延在する前側レール及び後側レールがそれぞれ固定されている。
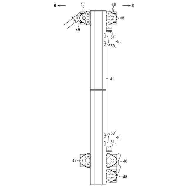
昇降装置は、一対の前側支柱に対して幅方向の外側に隣り合って配置される一対の垂直フレームを有する。垂直フレームには、前側支柱に対して垂直フレームを昇降させる昇降機構が取り付けられている。昇降装置は、前側レール上及び後側レール上をそれぞれ摺動可能に設けられる前側ローラ及び後側ローラを有する。
【0005】
一対の垂直フレームの上端には、前後方向に沿って延在する一対のフレームがそれぞれ連結されている。
【先行技術文献】
【特許文献】
【0006】
特開2005-120775号公報
【発明の概要】
【発明が解決しようとする課題】
【0007】
一対のフレームには、タワーの分割体や、ナセル、ロータを構成するハブなどの吊り荷を吊り下げる架台が配置される。このため、昇降装置における幅方向の中心には、架台及び吊り荷の荷重が作用する。これにより、垂直フレームには、前側支柱から幅方向の外側に離れようとする力が作用する。こうした力は、風力発電機の大型化に伴い増大する。このことから、吊り荷の重量が大きくなった場合であっても、前側支柱から垂直フレームが幅方向の外側に離れることを抑制できることが求められている。
【課題を解決するための手段】
【0008】
上記課題を解決するためのリフトアップ装置の各態様を記載する。
[態様1]
風力発電機のタワーの周囲に設けられるガイドタワーと、前記ガイドタワーに支持されるとともに前記ガイドタワーに沿って昇降可能に構成された昇降装置と、を備えるリフトアップ装置であって、
上下方向に直交する一方向を前後方向とするとともに、前記上下方向及び前記前後方向の双方に直交する方向を幅方向とするとき、
前記ガイドタワーは、
前記幅方向において間隔をあけて配置されるとともに互いに連結された一対の前側支柱と、
一対の前記前側支柱の後側に位置し、前記幅方向において間隔をあけて配置されるとともに互いに連結された一対の後側支柱と、を有しており、
前記前後方向において隣り合う前記前側支柱と前記後側支柱とは梁材を介して連結されており、
前記前側支柱の前記幅方向の内側及び外側の側面には、前記上下方向に沿って延在する内側レール及び外側レールがそれぞれ固定されており、
前記昇降装置は、
一対の前記前側支柱に対して前記幅方向の外側にそれぞれ隣り合って配置される一対の垂直フレームと、
前記垂直フレームに取り付けられ、前記前側支柱に対して前記垂直フレームを昇降させる昇降機構と、
前記内側レール上及び前記外側レール上をそれぞれ摺動可能に設けられる内側ローラ及び外側ローラを含み、前記前側支柱を前記幅方向において挟持する挟持機構を有している、
リフトアップ装置。
【0009】
同構成によれば、挟持機構の内側ローラ及び外側ローラにより、前側支柱が幅方向において摺動可能に挟持される。したがって、前側支柱から垂直フレームが幅方向の外側に離れることを抑制できる。
【0010】
[態様2]
複数の前記挟持機構が、前記上下方向において互いに間隔をあけて設けられている、
態様1に記載のリフトアップ装置。
(【0011】以降は省略されています)
この特許をJ-PlatPat(特許庁公式サイト)で参照する
関連特許
株式会社大林組
飛込み台
2か月前
株式会社大林組
減衰機構
3日前
株式会社大林組
接続構造
1か月前
株式会社大林組
加熱装置
1か月前
株式会社大林組
測定方法
2か月前
株式会社大林組
開封装置
1か月前
株式会社大林組
減衰機構
3日前
株式会社大林組
減衰機構
3日前
株式会社大林組
接合構造
1か月前
株式会社大林組
操縦装置
1か月前
株式会社大林組
接合構造
1か月前
株式会社大林組
ドリル装置
1か月前
株式会社大林組
建物の構造
1か月前
株式会社大林組
仮設建築物
2か月前
株式会社大林組
スロープ構造
1か月前
株式会社大林組
折畳み構造物
1か月前
株式会社大林組
可搬式充電設備
1か月前
株式会社大林組
床板の設置方法
2か月前
株式会社大林組
構造物形成装置
1日前
株式会社大林組
梁筋の配筋方法
22日前
株式会社大林組
災害時支援装置
22日前
株式会社大林組
進捗管理システム
9日前
株式会社大林組
鋼矢板の圧入方法
1か月前
株式会社大林組
リフトアップ装置
1日前
株式会社大林組
運搬管理システム
2日前
株式会社大林組
リフトアップ装置
2か月前
株式会社大林組
大梁胴縁接続構造
24日前
株式会社大林組
リフトアップ装置
2か月前
株式会社大林組
リフトアップ装置
1日前
株式会社大林組
構造物及び施工方法
22日前
株式会社大林組
繊維材供給システム
1か月前
株式会社大林組
建築物及び建築方法
2か月前
株式会社大林組
袋体付き排水パイプ
2か月前
株式会社大林組
袋体付き排水パイプ
2か月前
株式会社大林組
電動式運搬補助装置
1か月前
株式会社大林組
自動屋根開閉システム
1か月前
続きを見る
他の特許を見る