TOP
|
特許
|
意匠
|
商標
特許ウォッチ
Twitter
他の特許を見る
公開番号
2025126380
公報種別
公開特許公報(A)
公開日
2025-08-29
出願番号
2024022508
出願日
2024-02-19
発明の名称
監視システム
出願人
株式会社大林組
代理人
個人
,
個人
主分類
H04N
7/18 20060101AFI20250822BHJP(電気通信技術)
要約
【課題】車両と作業員とが接触する可能性がある状態が生じた現場の状況を早急に把握可能とした監視システムを提供する。
【解決手段】監視システム30は、複数のアンカー44が設置された監視空間を監視する。監視システム30は、測位システム40と、管理システム50と、を備える。測位システム40は、監視空間で作業する作業員が所持する作業員タグ41、及び、監視空間を移動可能な車両に設けられた車両タグ42について、UWB電波を用いて複数のアンカー44に対する距離を計測する。管理システム50は、車両タグ42の測位結果に基づいて、車両と作業員とが接触する可能性がある危険エリアを監視空間に設定し、作業員タグ41が危険エリアに位置する場合に、作業員タグ41の位置に応じて、作業員を撮影するための目標位置に、カメラ55を備えたレールカム52を移動させるとともにカメラ55が取得した画像を表示部62に表示する。
【選択図】図2
特許請求の範囲
【請求項1】
複数のアンカーが設置された監視空間を監視する監視システムであって、
前記監視空間において、UWB電波を用いて前記アンカーと通信可能なタグであって、前記監視空間で作業する作業員が所持する作業員タグ、及び、前記監視空間を移動可能な車両に設けられた車両タグについて、前記複数のアンカーに対する距離を計測する測位システムと、
前記測位システムによる前記車両タグの測位結果に基づいて、前記車両と前記作業員とが接触する可能性がある危険エリアを前記監視空間に設定し、前記測位システムが測位した前記作業員タグが前記危険エリアに位置する場合に、当該作業員タグの位置に応じて、前記作業員を撮影するための目標位置に、撮影部を備えた移動体を移動させるとともに前記移動体からの画像を取得し、前記撮影部が取得した前記画像を表示部に表示する管理システムと、を備える
監視システム。
続きを表示(約 150 文字)
【請求項2】
前記移動体は、前記監視空間に音声を出力するスピーカを備える
請求項1に記載の監視システム。
【請求項3】
前記測位システムは、前記移動体に設けられた移動体タグについて、前記複数のアンカーに対する距離を計測する
請求項1または2に記載の監視システム。
発明の詳細な説明
【技術分野】
【0001】
本発明は、トンネルなどの監視空間を監視する監視システムに関する。
続きを表示(約 1,800 文字)
【背景技術】
【0002】
建設現場などでの作業員の安全を確保するシステムとして、例えば、特許文献1のような監視システムが知られている。特許文献1の監視システムは、走行車両と作業員とが接触しないように監視空間を監視するシステムである。監視システムは、まず、作業員が所持する作業員タグについて、複数のアンカーに対する位置を測位する。そして、監視システムは、測位システムが測位した作業員タグの位置が、車両と作業員とが接触する可能性がある危険エリアの内側である場合に、当該作業員タグを所持している作業員に警告を行う。
【先行技術文献】
【特許文献】
【0003】
特開2023-34869号公報
【発明の概要】
【発明が解決しようとする課題】
【0004】
従来では、監視空間において、車両と作業員とが接触する可能性がある状態が生じた場合、安全管理者がその現場まで移動することで状況を確認していた。しかし、安全管理者の移動に時間を要するため、現場の状況を把握するまでに時間がかかっていた。
【課題を解決するための手段】
【0005】
上記課題を解決する監視システムは、複数のアンカーが設置された監視空間を監視する監視システムであって、前記監視空間において、UWB電波を用いて前記アンカーと通信可能なタグであって、前記監視空間で作業する作業員が所持する作業員タグ、及び、前記監視空間を移動可能な車両に設けられた車両タグについて、前記複数のアンカーに対する距離を計測する測位システムと、前記測位システムによる前記車両タグの測位結果に基づいて、前記車両と前記作業員とが接触する可能性がある危険エリアを前記監視空間に設定し、前記測位システムが測位した前記作業員タグが前記危険エリアに位置する場合に、当該作業員タグの位置に応じて、前記作業員を撮影するための目標位置に、撮影部を備えた移動体を移動させるとともに前記移動体からの画像を取得し、前記撮影部が取得した前記画像を表示部に表示する管理システムと、を備える。
【発明の効果】
【0006】
本発明によれば、車両と作業員とが接触する可能性がある状態が生じた現場の状況を早急に把握できる。
【図面の簡単な説明】
【0007】
図1は、監視システムの全体構成を示す模式図である。
図2は、監視システムの装置構成を示すブロック図である。
図3は、情報処理装置が実行する処理のフローチャートである。
図4は、作業員が危険エリアの外側にいる状態の模式図である。
図5は、作業員が危険エリアの内側に位置し、かつ、走行車両と作業員との距離が閾値よりも大きい状態の模式図である。
図6は、作業員が危険エリアの内側に位置し、かつ、走行車両と作業員との距離が閾値以下の状態の模式図である。
【発明を実施するための形態】
【0008】
以下、監視システムの一実施形態について図1~図6を参照して説明する。監視システムは、監視空間を移動可能な車両と監視空間で作業する作業員との接触が回避されるように、監視空間を監視するためのシステムである。
【0009】
(全体構成)
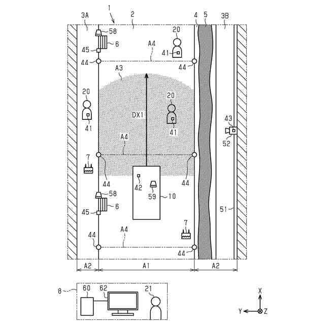
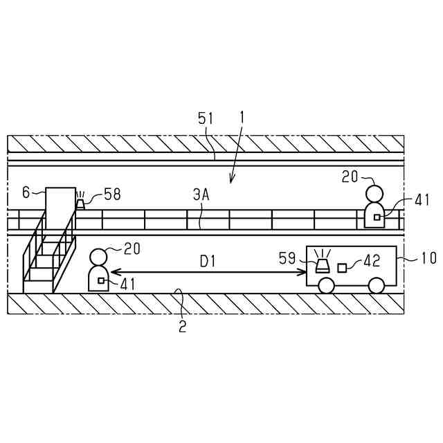
図1に示すように、本実施形態の監視空間は、一例として、工事が行われているトンネル1の坑内である。なお、監視空間は、トンネル1以外にも、衛星測位システム(GNSS)に基づく信号の受信環境が悪い屋内または屋外の空間でもよい。トンネル1では、トンネル軸方向をX方向、幅方向をY方向、及び、高さ方向をZ方向とする。
【0010】
トンネル1は、監視空間を移動可能な車両の一例である走行車両10が走行するための走行路2と、走行車両10の進入が禁止された進入禁止領域とを備える。
本実施形態では、X方向に沿って延びる走行路2に対してY方向の両側に進入禁止領域が設けられている。一方の進入禁止領域には、作業員20が通行するための第1作業員通路3Aが設けられている。また、他方の進入禁止領域には、第2作業員通路3Bと、土砂5等を運搬するためのベルトコンベア4と、が設けられている。ベルトコンベア4は、一例として、走行路2と第2作業員通路3Bとの間に位置する。
(【0011】以降は省略されています)
この特許をJ-PlatPat(特許庁公式サイト)で参照する
関連特許
株式会社大林組
測定方法
23日前
株式会社大林組
飛込み台
23日前
株式会社大林組
接合構造
11日前
株式会社大林組
建物の構造
10日前
株式会社大林組
仮設建築物
23日前
株式会社大林組
免震建築物
1か月前
株式会社大林組
耐火被覆構造
1か月前
株式会社大林組
空調システム
1か月前
株式会社大林組
監視システム
1か月前
株式会社大林組
ルーバー構造
1か月前
株式会社大林組
建物の躯体構造
1か月前
株式会社大林組
床板の設置方法
23日前
株式会社大林組
建物の躯体構造
1か月前
株式会社大林組
可搬式充電設備
10日前
株式会社大林組
安全支援システム
1か月前
株式会社大林組
鋼矢板の圧入方法
9日前
株式会社大林組
リフトアップ装置
24日前
株式会社大林組
リフトアップ装置
24日前
株式会社大林組
袋体付き排水パイプ
23日前
株式会社大林組
建築物及び建築方法
24日前
株式会社大林組
袋体付き排水パイプ
23日前
株式会社大林組
CO2固定量測定方法
1か月前
株式会社大林組
クレーンの自動運転装置
9日前
株式会社大林組
建物の構築方法及び建物
23日前
株式会社大林組
継手装置及び複合支持杭
24日前
株式会社大林組
被吊り下げ物の安定化構造
1か月前
株式会社大林組
建設用溶接方法及び建設物
1か月前
株式会社大林組
耐火構造、耐火板支持構造
2日前
株式会社大林組
飛込み台及びその施工方法
23日前
株式会社大林組
クレーン自動運転システム
9日前
株式会社大林組
多孔質部材の漏洩検知方法
23日前
株式会社大林組
散水装置及び異物除去方法
23日前
株式会社大林組
コンクリートの打設管理方法
1か月前
株式会社大林組
制振システム、及び制振方法
23日前
株式会社大林組
浮体構造物における接合構造
1か月前
株式会社大林組
表面処理装置及び表面処理方法
13日前
続きを見る
他の特許を見る