TOP
|
特許
|
意匠
|
商標
特許ウォッチ
Twitter
他の特許を見る
公開番号
2025172622
公報種別
公開特許公報(A)
公開日
2025-11-26
出願番号
2024078229
出願日
2024-05-13
発明の名称
減衰機構
出願人
株式会社大林組
代理人
弁理士法人一色国際特許事務所
主分類
F16F
15/02 20060101AFI20251118BHJP(機械要素または単位;機械または装置の効果的機能を生じ維持するための一般的手段)
要約
【課題】一定の復元力を有する免震構造の構造物100において、構造物100の応答加速度を更に低減する。
【解決手段】第1物体と第2物体との相対的な往復運動を減衰する減衰機構であって、前記往復運動における前記第1物体と前記第2物体との相対変位に伴って減衰力を発生させる減衰力発生機構と、前記減衰力を制御する制御機構と、を備え、前記第1物体から見た前記第2物体の所定の前記相対変位の領域を基準領域として、前記往復運動の方向における前記基準領域に対する一方の方向を正方向とし、前記正方向の反対方向を負方向とした場合、前記減衰力発生機構は、前記正方向の側の正領域における前記正方向への前記相対変位の場合に低減衰であり、前記正領域における前記負方向への前記相対変位の場合に高減衰とする第1ダンパーと、前記負方向の側の負領域における前記負方向への前記相対変位の場合に低減衰であり、前記負領域における前記正方向への前記相対変位の場合に高減衰とする第2ダンパーと、を有する、減衰機構である。
【選択図】図2
特許請求の範囲
【請求項1】
第1物体と第2物体との相対的な往復運動を減衰する減衰機構であって、
前記往復運動における前記第1物体と前記第2物体との相対変位に伴って減衰力を発生させる減衰力発生機構と、
前記減衰力を制御する制御機構と、
を備え、
前記第1物体から見た前記第2物体の所定の前記相対変位の領域を基準領域として、前記往復運動の方向における前記基準領域に対する一方の方向を正方向とし、前記正方向の反対方向を負方向とした場合、
前記減衰力発生機構は、
前記正方向の側の正領域における前記正方向への前記相対変位の場合に低減衰であり、前記正領域における前記負方向への前記相対変位の場合に高減衰とする第1ダンパーと、
前記負方向の側の負領域における前記負方向への前記相対変位の場合に低減衰であり、前記負領域における前記正方向への前記相対変位の場合に高減衰とする第2ダンパーと、を有する、減衰機構。
続きを表示(約 1,000 文字)
【請求項2】
前記正領域における前記正方向への前記相対変位は、前記基準領域と前記正方向への正方向到達変位との間における相対変位であり、
前記負領域における前記負方向への前記相対変位は、前記基準領域と前記負方向への負方向到達変位との間における相対変位である、
請求項1に記載の減衰機構。
【請求項3】
前記制御機構は、前記第1物体の側に設けられる第1部材と、前記第1部材に対して前記往復運動の方向に相対移動可能な第2部材と、を有し、
前記第1部材は、
前記往復運動の方向において前記基準領域と前記正方向到達変位との間の第1範囲に形成される正方向第1領域と、
前記往復運動の方向において前記基準領域と前記負方向到達変位との間の第2範囲に形成される負方向第1領域と、
を含む第1領域を有する、
請求項2に記載の減衰機構。
【請求項4】
前記制御機構は、前記第2物体の側に固定される支持部と、前記支持部に支持され、前記第1領域に位置するピン部材と、を有し、
前記ピン部材は、前記往復運動に伴って、
前記第1ダンパーと連結された、前記第2部材の第2部材第1ダンパー連結部材を前記正方向第1領域内で案内し、
前記第2ダンパーと連結された、前記第2部材の第2部材第2ダンパー連結部材を前記負方向第1領域内で案内する、
請求項3に記載の減衰機構。
【請求項5】
前記減衰力発生機構は、第3ダンパーを有し、
前記第3ダンパーは、
前記正領域を前記正方向に超過する正領域超過範囲における前記正方向への減衰力を、前記正領域における前記正方向への減衰力よりも高減衰とし、
前記正領域超過範囲における前記負方向への減衰力を、前記正領域における前記負方向への減衰力よりも高減衰とする、
請求項1に記載の減衰機構。
【請求項6】
前記減衰力発生機構は、第4ダンパーを有し、
前記第4ダンパーは、前記負領域を前記負方向に超過する負領域超過範囲における前記負方向への減衰力を、前記負領域における前記負方向への減衰力よりも高減衰とし、前記負領域超過範囲における前記正方向への減衰力を、前記負領域における前記正方向への減衰力よりも高減衰とする、
請求項1に記載の減衰機構。
発明の詳細な説明
【技術分野】
【0001】
本発明は、減衰機構に関する。
続きを表示(約 2,200 文字)
【背景技術】
【0002】
地震や風による構造物に発生する振動を抑制する免震装置や制震装置と共に、振動を減衰する減衰装置が用いられることがある。減衰装置は、速度に比例する減衰力により、構造物に発生する振動を減衰する。
【先行技術文献】
【特許文献】
【0003】
特開2012-031983号公報
【発明の概要】
【発明が解決しようとする課題】
【0004】
ところで、例えば、主に積層ゴム等の免震装置を用いた一定の復元力を有する免震構造の構造物において、構造物の応答加速度を更に低減することが求められることがある。しかし、速度に比例する減衰力のみ有する減衰装置では、構造物の応答加速度を低減できる程度に限界があった。
【0005】
本発明の目的の一例は、一定の復元力を有する免震構造の構造物において、構造物の応答加速度を更に低減することにある。本発明の他の目的は、本明細書の記載から明らかになるであろう。
【課題を解決するための手段】
【0006】
本発明の一態様は、第1物体と第2物体との相対的な往復運動を減衰する減衰機構であって、前記往復運動における前記第1物体と前記第2物体との相対変位に伴って減衰力を発生させる減衰力発生機構と、前記減衰力を制御する制御機構と、を備え、前記第1物体から見た前記第2物体の所定の前記相対変位の領域を基準領域として、前記往復運動の方向における前記基準領域に対する一方の方向を正方向とし、前記正方向の反対方向を負方向とした場合、前記減衰力発生機構は、前記正方向の側の正領域における前記正方向への前記相対変位の場合に低減衰であり、前記正領域における前記負方向への前記相対変位の場合に高減衰とする第1ダンパーと、前記負方向の側の負領域における前記負方向への前記相対変位の場合に低減衰であり、前記負領域における前記正方向への前記相対変位の場合に高減衰とする第2ダンパーと、を有する、減衰機構である。
【0007】
本発明の他の特徴については、後述する明細書及び図面の記載により明らかにする。
【発明の効果】
【0008】
本発明の上記態様によれば、一定の復元力を有する免震構造の構造物において、構造物の応答加速度を更に低減することができる。
【図面の簡単な説明】
【0009】
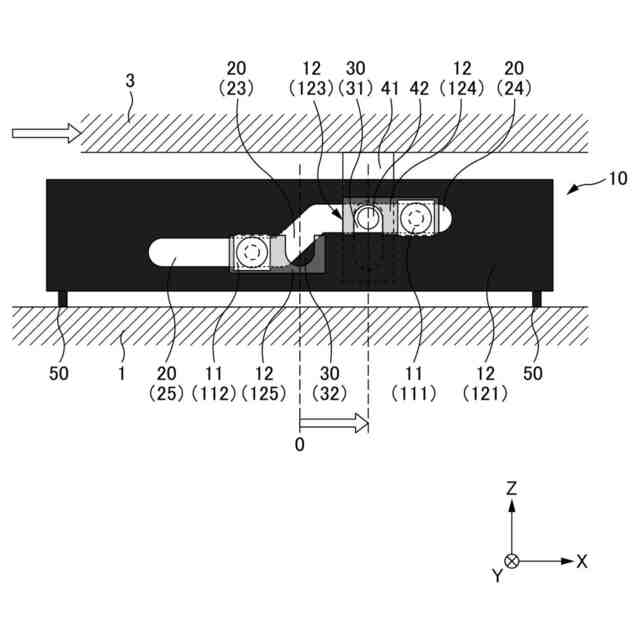
図1は、第1実施形態の減衰機構10の適用例を示す説明図である。
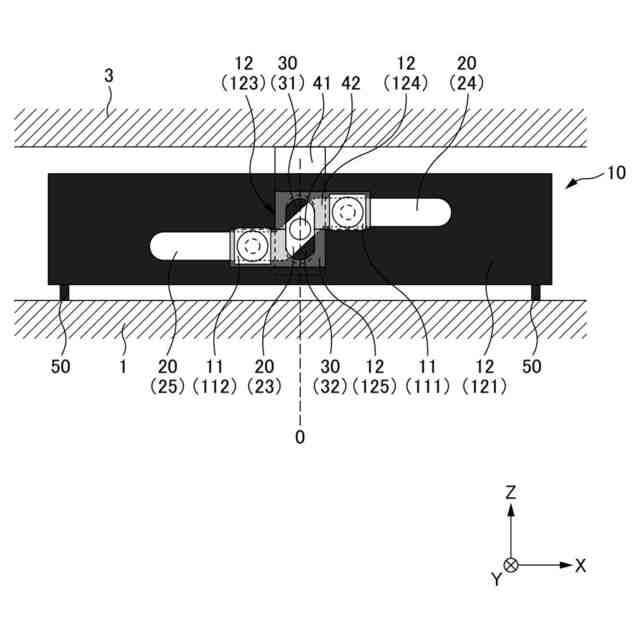
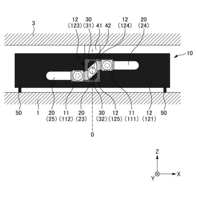
図2は、第1実施形態の減衰機構10の基準領域における正面図である。
図3は、第1実施形態の減衰機構10において、第1物体1に対して第2物体3が+X側に変位した際の様子を示す説明図である。
図4Aは、第1ダンパー111による構造物100の復元力特性の一例を示す説明図である。図4Bは、低減衰状態の第1ダンパー111の様子を示す説明図である。図4Cは、高減衰状態の第1ダンパー111の様子を示す説明図である。
図5Aは、第2ダンパー112による構造物100の復元力特性の一例を示す説明図である。図5Bは、高減衰状態の第2ダンパー112の様子を示す説明図である。図5Cは、低減衰状態の第2ダンパー112の様子を示す説明図である。
図6は、第1実施形態の減衰機構10による構造物100の復元力特性の一例を示す説明図である。
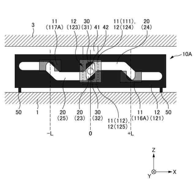
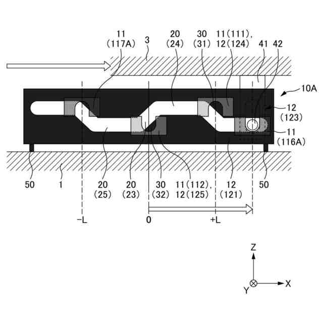
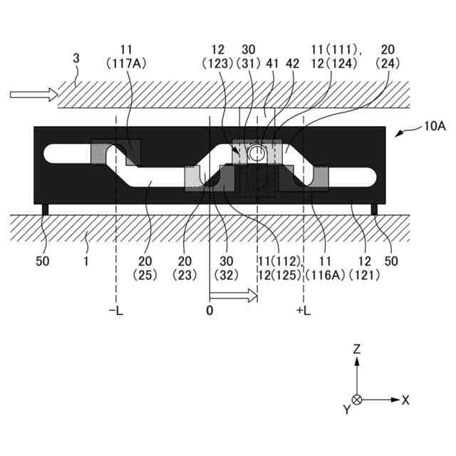
図7は、第1変形例の減衰機構10Aの基準領域における正面図である。
図8は、第1変形例の減衰機構10Aにおいて、第1物体1に対して第2物体3が+X側に正方向到達変位内(X≦+L)で変位した際の様子を示す説明図である。
図9は、第1変形例の減衰機構10Aにおいて、第1物体1に対して第2物体3が+X側に正領域超過範囲(X>+L)で変位した際の様子を示す説明図である。
図10は、第1変形例の減衰機構10Aによる構造物100の復元力特性の一例を示す説明図である。
図11は、第2変形例の減衰機構10Bの基準領域における正面図である。
図12は、第2変形例の減衰機構10Bにおいて、第1物体1に対して第2物体3が+X側に正方向到達変位内(X≦+L)で変位した際の様子を示す説明図である。
図13は、第2変形例の減衰機構10Bにおいて、第1物体1に対して第2物体3が+X側に正領域超過範囲(X>+L)で変位した際の様子を示す説明図である。
図14は、第2変形例の減衰機構10Bによる構造物100の復元力特性の一例を示す説明図である。
図15は、第3変形例の減衰機構10Cの斜視図である。
図16Aは、第4変形例の減衰機構10Dを軸方向から見た図である。図16Bは、第4変形例の減衰機構10Dの斜視図である。
図17は、第2実施形態の減衰機構10Eの基準位置における正面図である。
図18は、第2実施形態の減衰機構10Eにおいて、第1物体1に対して第2物体3が+X側に変位した際の様子を示す説明図である。
【発明を実施するための形態】
【0010】
本明細書及び添付図面の記載により、少なくとも以下の事項が明らかとなる。
(【0011】以降は省略されています)
この特許をJ-PlatPat(特許庁公式サイト)で参照する
関連特許
株式会社大林組
減衰機構
今日
株式会社大林組
減衰機構
今日
株式会社大林組
減衰機構
今日
株式会社大林組
加熱装置
27日前
株式会社大林組
開封装置
27日前
株式会社大林組
スロープ構造
27日前
株式会社大林組
災害時支援装置
19日前
株式会社大林組
梁筋の配筋方法
19日前
株式会社大林組
進捗管理システム
6日前
株式会社大林組
大梁胴縁接続構造
21日前
株式会社大林組
構造物及び施工方法
19日前
株式会社大林組
繊維材供給システム
27日前
株式会社大林組
建設現場支援システム
20日前
株式会社大林組
柱接合構造の施工方法
19日前
株式会社大林組
シート部材及び、施工方法
22日前
株式会社大林組
リフトアップ装置の制御装置
27日前
株式会社大林組
掘削支援装置及び掘削支援方法
今日
株式会社大林組
評価支援装置及び評価支援方法
28日前
株式会社大林組
免震構造及び免震構造の施工方法
22日前
株式会社大林組
押し込み治具及び、定着具の設置方法
19日前
株式会社大林組
建物構造、及び建物構造を含む建築物
28日前
株式会社大林組
噴射物拡散部材、表面処理装置及び表面処理方法
21日前
株式会社大林組
ステーリング及びステーリングの反力監視支援システム
20日前
株式会社大林組
コンクリート床付き鉄骨梁の評価方法およびコンクリート床付き鉄骨梁
21日前
株式会社大林組
構造体の制振システム
20日前
個人
留め具
1か月前
個人
鍋虫ねじ
3か月前
個人
紛体用仕切弁
3か月前
個人
回転伝達機構
3か月前
個人
ホース保持具
7か月前
個人
トーションバー
7か月前
個人
差動歯車用歯形
5か月前
個人
給排気装置
1か月前
個人
ジョイント
2か月前
個人
地震の揺れ回避装置
4か月前
株式会社不二工機
電磁弁
6か月前
続きを見る
他の特許を見る