TOP
|
特許
|
意匠
|
商標
特許ウォッチ
Twitter
他の特許を見る
公開番号
2025165640
公報種別
公開特許公報(A)
公開日
2025-11-05
出願番号
2024069831
出願日
2024-04-23
発明の名称
大梁胴縁接続構造
出願人
株式会社大林組
代理人
個人
,
個人
主分類
E04B
2/56 20060101AFI20251028BHJP(建築物)
要約
【課題】施工性に優れた大梁胴縁接続構造を提供する。
【解決手段】大梁胴縁接続構造は、大梁11と胴縁とを接続する。大梁11は、ウェブ11c、上フランジ11aおよび下フランジを有するH型鋼で形成されている。胴縁は、大梁11の延在方向に延びる胴縁横つなぎ材20に接続されている。胴縁横つなぎ材20は、接続部30を介して大梁11に接続されている。接続部30は、大梁11のウェブ11cと上フランジ11aとに接合されて、大梁11に対する屋外側の領域を屋外方向に延びる第1ブラケット31と、胴縁横つなぎ材20に取り付いており第1ブラケット31にボルト接合された第2ブラケット32と、を有する。
【選択図】図3
特許請求の範囲
【請求項1】
ウェブ、上フランジおよび下フランジを有するH型鋼で形成された大梁と、
前記大梁の前記ウェブと前記上フランジとに接合されるチャンネル材によって構成され、前記大梁に対する屋外側の領域を屋外方向に延びる第1ブラケットと、
前記大梁の延在方向に延びる胴縁横つなぎ材と、
前記胴縁横つなぎ材に取り付いており前記第1ブラケットにボルト接合された第2ブラケットと、
前記胴縁横つなぎ材に接続された縦胴縁と、を備える
大梁胴縁接続構造。
続きを表示(約 720 文字)
【請求項2】
前記大梁は、前記第1ブラケットとの接合部分の反対側に、前記ウェブと前記上フランジとに接合された補強プレートを有する
請求項1に記載の大梁胴縁接続構造。
【請求項3】
前記第1ブラケットと前記第2ブラケットとは、フィラープレートを介してボルト接合されている
請求項1に記載の大梁胴縁接続構造。
【請求項4】
前記第1ブラケットおよび前記第2ブラケットの一方は、ボルト接合孔として前記屋外方向に延びる長穴を有する
請求項1に記載の大梁胴縁接続構造。
【請求項5】
前記第1ブラケットと前記第2ブラケットとがハイテンションボルトによりボルト接合されている
請求項3または4に記載の大梁胴縁接続構造。
【請求項6】
前記第1ブラケットが前記胴縁横つなぎ材の下方まで延びており、
前記第1ブラケットの上面および前記第2ブラケットの上面が面一であり、
前記胴縁横つなぎ材が前記第2ブラケットの上面に接合されている
請求項1に記載の大梁胴縁接続構造。
【請求項7】
前記上フランジは、上階の床スラブを支持しており、
前記胴縁横つなぎ材は、前記床スラブの上面よりも低い位置に上面を有して前記床スラブに隣接するように設けられており、
前記床スラブと前記胴縁横つなぎ材との段差部分に耐火材をさらに備える
請求項1に記載の大梁胴縁接続構造。
【請求項8】
前記第1ブラケットの天端が床スラブの下端と一致している
請求項1に記載の大梁胴縁接続構造。
発明の詳細な説明
【技術分野】
【0001】
本発明は、大梁に胴縁を接続する大梁胴縁接続構造に関する。
続きを表示(約 1,500 文字)
【背景技術】
【0002】
例えば特許文献1においては、縦方向に延びる縦胴縁が横方向に延びる横胴縁を介して大梁に接続される構造が開示されている。具体的には、縦胴縁は、横胴縁の側面に接合された板状の大梁用接合部と大梁の上面に接合された板状の横胴縁用接合部とがボルト接合されることにより、大梁に接続されている。
【先行技術文献】
【特許文献】
【0003】
特開2022-88103号公報
【発明の概要】
【発明が解決しようとする課題】
【0004】
しかしながら、特許文献1に記載の構造では、多くの大梁用接合部と横胴縁用接合部とを用いて大梁と横胴縁とを接続する必要があるため、施工性が低下するおそれがあった。
【課題を解決するための手段】
【0005】
上記課題を解決する大梁胴縁接続構造は、ウェブ、上フランジおよび下フランジを有するH型鋼で形成された大梁と、前記大梁の前記ウェブと前記上フランジとに接合されるチャンネル材によって構成され、前記大梁に対する屋外側の領域を屋外方向に延びる第1ブラケットと、前記大梁の延在方向に延びる胴縁横つなぎ材と、前記胴縁横つなぎ材に取り付いており前記第1ブラケットにボルト接合された第2ブラケットと、前記胴縁横つなぎ材に接続された縦胴縁と、を備える。
【発明の効果】
【0006】
本発明によれば、大梁と縦胴縁が接続される胴縁横つなぎ材との接続箇所を少なくすることで、施工性に優れた大梁胴縁接続構造を提供することができる。
【図面の簡単な説明】
【0007】
大梁胴縁接続構造の一実施形態において、縦胴縁が大梁に接続された状態の概略構成を屋外側から見た図である。
(a)は図1の2a-2a線における概略構成を示す図であり、(b)は図1の2b-2b線における概略構成を示す図である。
図1に対応する図であって、(a)は接続部を屋外側上方から見た斜視図であり、(b)は接続部を屋内側下方から見た斜視図である。
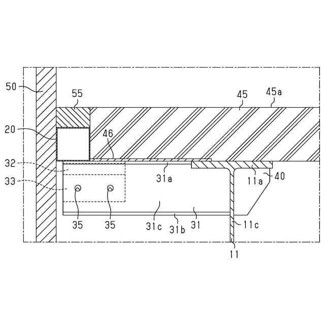
図1に対応する図であって、床スラブが形成された大梁胴縁接続構造の一部を模式的に示す断面図である。
【発明を実施するための形態】
【0008】
図1~図4を参照して、大梁胴縁接続構造の一実施形態について説明する。
図1に示すように、大梁胴縁接続構造は、大梁11と縦胴縁12とを接続してなる。大梁11は、建築物の外周部の両端部に配置される柱13同士を接続している。なお、図1において、大梁11の部分にはハッチングを付しており、柱13の部分にはドットを付している。
【0009】
大梁11は、上フランジ11aと下フランジ11bとウェブ11cとを有するH型鋼によって構成されている。大梁11は、横方向に延びているとともに各階層に対応するように設けられている。大梁11の上フランジ11aは、上階の床スラブ45(図4参照)を支持する。
【0010】
間柱15,16は、大梁11に接続されている。間柱15は、大梁11の横方向の両端部に接続されている。間柱16は、大梁11の横方向の中央部に接続されている。各間柱15,16は、大梁11に接合されて大梁11から屋外側へと延びる間柱支持材17,18にそれぞれ接続されている。耐風梁19は、縦胴縁12の屋内側を横方向に延びている。耐風梁19は、間柱15,16の上下方向における中央部分において、間柱15,16に接続されている。
(【0011】以降は省略されています)
この特許をJ-PlatPat(特許庁公式サイト)で参照する
関連特許
株式会社大林組
接合構造
1か月前
株式会社大林組
接合構造
12日前
株式会社大林組
飛込み台
1か月前
株式会社大林組
測定方法
1か月前
株式会社大林組
加熱装置
9日前
株式会社大林組
開封装置
9日前
株式会社大林組
基礎構造
2か月前
株式会社大林組
接続構造
12日前
株式会社大林組
操縦装置
12日前
株式会社大林組
建物の構造
1か月前
株式会社大林組
仮設建築物
1か月前
株式会社大林組
ドリル装置
12日前
株式会社大林組
免震建築物
2か月前
株式会社大林組
折畳み構造物
15日前
株式会社大林組
ルーバー構造
2か月前
株式会社大林組
耐火被覆構造
2か月前
株式会社大林組
監視システム
2か月前
株式会社大林組
耐火被覆構造
3か月前
株式会社大林組
空調システム
2か月前
株式会社大林組
耐火被覆構造
3か月前
株式会社大林組
スロープ構造
9日前
株式会社大林組
シャッター装置
3か月前
株式会社大林組
積層材成型方法
3か月前
株式会社大林組
梁筋の配筋方法
1日前
株式会社大林組
床板の設置方法
1か月前
株式会社大林組
災害時支援装置
1日前
株式会社大林組
建物の躯体構造
2か月前
株式会社大林組
可搬式充電設備
1か月前
株式会社大林組
建物の躯体構造
2か月前
株式会社大林組
作業支援システム
2か月前
株式会社大林組
鋼矢板の圧入方法
1か月前
株式会社大林組
大梁胴縁接続構造
3日前
株式会社大林組
安全支援システム
2か月前
株式会社大林組
日射遮蔽発電装置
2か月前
株式会社大林組
リフトアップ装置
1か月前
株式会社大林組
リフトアップ装置
1か月前
続きを見る
他の特許を見る