TOP
|
特許
|
意匠
|
商標
特許ウォッチ
Twitter
他の特許を見る
10個以上の画像は省略されています。
公開番号
2025142816
公報種別
公開特許公報(A)
公開日
2025-10-01
出願番号
2024042395
出願日
2024-03-18
発明の名称
接合構造
出願人
株式会社大林組
代理人
弁理士法人一色国際特許事務所
主分類
E04C
2/30 20060101AFI20250924BHJP(建築物)
要約
【課題】金属部材を取り付けるために木製部材に形成された孔や溝の周囲が劣化することを抑制する。
【解決手段】端面における外周の内側に溝部が形成された、板状の木製部材と、前記溝部に嵌入される板状部を有する金属部材と、前記溝部と前記金属部材との隙間に充填される充填材と、を備える板状部材である。
【選択図】図1
特許請求の範囲
【請求項1】
端面における外周の内側に溝部が形成された、板状の木製部材と、
前記溝部に嵌入される板状部を有する金属部材と、
前記溝部と前記金属部材との隙間に充填される充填材と、
を備える板状部材。
続きを表示(約 880 文字)
【請求項2】
前記木製部材の前記端面以外の部位には、孔又は溝が形成されていない、
請求項1に記載の板状部材。
【請求項3】
前記溝部の内部以外の部位は屋外に露出される、
請求項1に記載の板状部材。
【請求項4】
前記木製部材が、CLT,LVL,集成材,又はこれらの組み合わせで構成されたルーバーである、
請求項1に記載の板状部材。
【請求項5】
請求項1に記載の木製部材と別の部材との接合構造であって、
前記別の部材に接続され、前記溝部に嵌入される板状部を有する金属部材と、
前記溝部と前記金属部材との隙間に充填される充填材と、
を備える接合構造。
【請求項6】
前記板状部は、前記溝部の溝深さに納まる接合面長を含む接合面を有し、
前記木製部材は、前記板状部に添接される添接面を有する接続部材を介して前記別の部材に接続される、
請求項5に記載の接合構造。
【請求項7】
前記接続部材は、前記添接面と直交するフランジ面を有し、
前記フランジ面は、前記別の部材と締結部材で面接合される、
請求項6に記載の接合構造。
【請求項8】
板状部材と別の部材との接合方法であって、
前記板状部材の端面における外周の内側に溝部を形成する溝部形成ステップと、
前記溝部に金属部材を嵌入させる金属部材嵌入ステップと、
前記溝部と前記金属部材との隙間に充填材を充填させる充填ステップと、
を有する接合方法。
【請求項9】
前記金属部材と前記別の部材とを接続させる接続ステップと、を有する、
請求項8に記載の接合方法。
【請求項10】
予め、前記溝部形成ステップと前記金属部材嵌入ステップと前記充填ステップとを行った後、前記接続ステップを行う、
請求項9に記載の接合方法。
(【請求項11】以降は省略されています)
発明の詳細な説明
【技術分野】
【0001】
本発明は、板状部材、接合構造及び接合方法に関する。
続きを表示(約 1,600 文字)
【背景技術】
【0002】
木製部材を周辺架構に取り付ける際の端部のディテールの工法として、木製部材に形成された溝にガセットプレート等の金属部材を嵌入し、ドリフトピンやボルト等で木製部材及び金属部材を貫通して締結する工法が用いられることがある。また、木製部材を周辺架構に取り付ける際の端部のディテールの別の工法として、木製部材に形成された孔にめねじタイプのLSB(Lag Screw Bolt)等を挿入し、ガセットプレート等の金属部材をボルト等で木製部材と締結する工法が用いられることがある。
【先行技術文献】
【特許文献】
【0003】
特表2023-533044号公報
特開2005-139748号公報
【発明の概要】
【発明が解決しようとする課題】
【0004】
上述した2つの工法では、いずれも、ガセットプレート等の金属部材を取り付けるために、木製部材に孔や溝を形成することが必要である。しかし、このような孔や溝にガセットプレート等を挿入しただけでは、ガセットプレート等の周囲の隙間に紫外線や水といった劣化因子が触れることによって劣化してしまうことがあった。
【0005】
本発明の目的の一例は、金属部材を取り付けるために木製部材に形成された孔や溝の周囲が劣化することを抑制することにある。本発明の他の目的は、本明細書の記載から明らかになるであろう。
【課題を解決するための手段】
【0006】
本発明の一態様は、端面における外周の内側に溝部が形成された、板状の木製部材と、前記溝部に嵌入される板状部を有する金属部材と、前記溝部と前記金属部材との隙間に充填される充填材と、を備える板状部材である。
【0007】
本発明の他の特徴については、後述する明細書及び図面の記載により明らかにする。
【発明の効果】
【0008】
本発明の上記態様によれば、金属部材を取り付けるために木製部材に形成された孔や溝の周囲が劣化することを抑制することができる。
【図面の簡単な説明】
【0009】
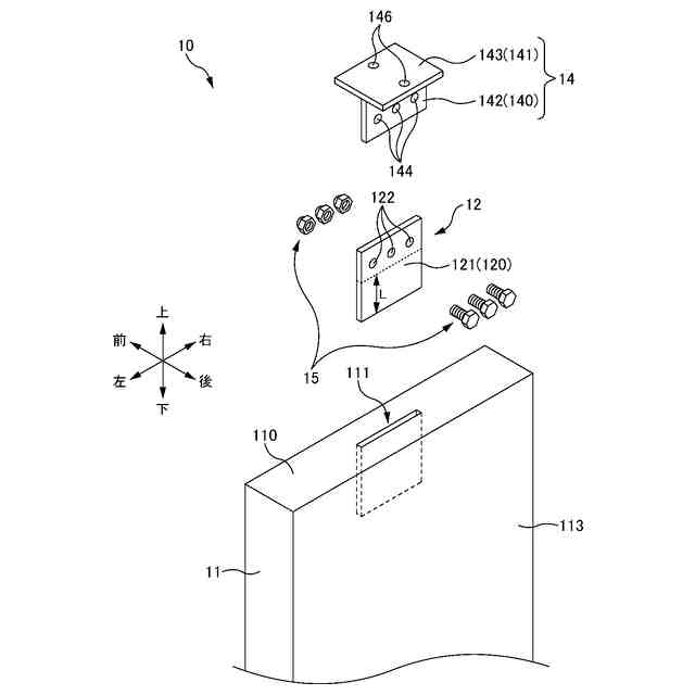
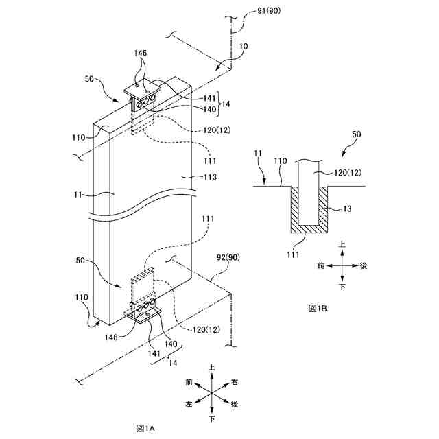
図1Aは、本実施形態の板状部材10の適用例を示す斜視図である。図1Bは、本実施形態の接合構造50の説明図である。
図2は、本実施形態の板状部材10の上部における分解斜視図である。
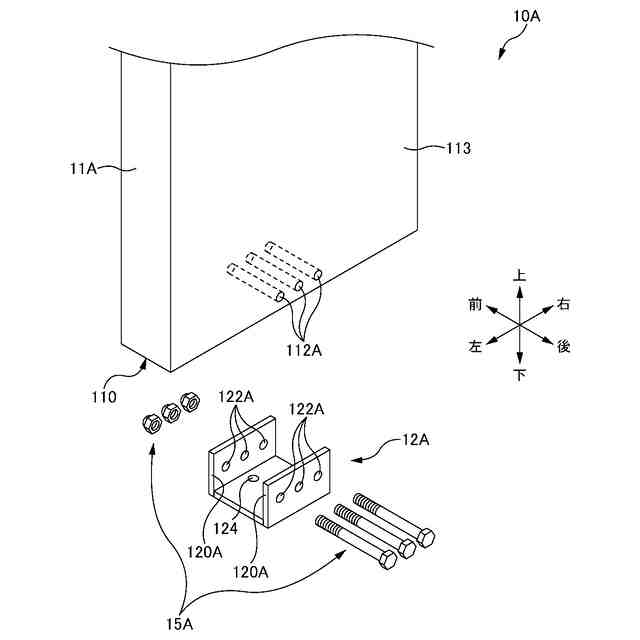
図3は、第1比較例の板状部材10Aの下部における分解斜視図である。
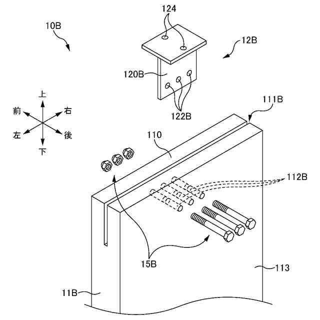
図4は、第2比較例の板状部材10Bの上部における分解斜視図である。
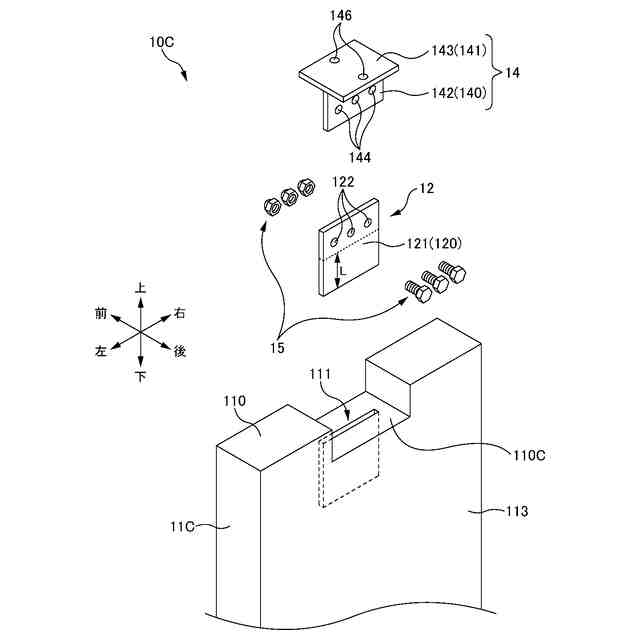
図5は、第1変形例の板状部材10Cの上部における分解斜視図である。
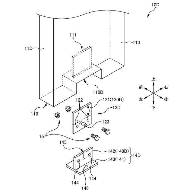
図6は、第2変形例の板状部材10Dの下部における分解斜視図である。
図7は、本実施形態の接合手順のフロー図である。
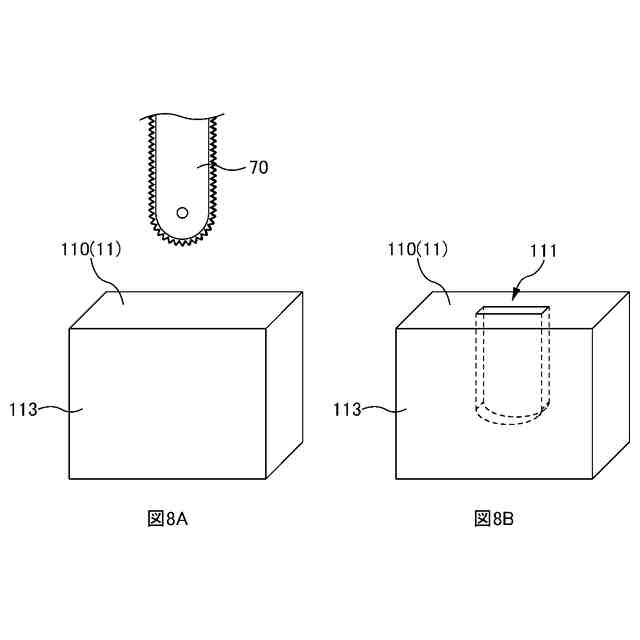
図8Aは、溝部形成工具70により木製部材11の端面110に溝部111を形成する前の状態を示す説明図である。図8Bは、溝部形成工具70により木製部材11の端面110に溝部111を形成した後の状態を示す説明図である。
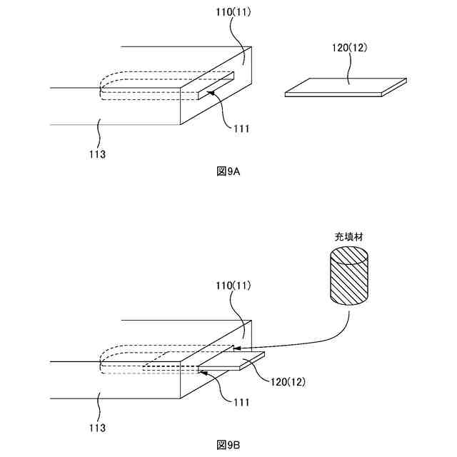
図9Aは、木製部材11の端面110に形成された溝部111に金属部材12を嵌入する前の状態を示す説明図である。図9Bは、木製部材11の端面110に形成された溝部111に金属部材12を嵌入し、充填材13を充填する様子を示す説明図である。
図10Aは、部材90に接合された接続部材14と、木製部材11に接合された金属部材12とを接続する前の状態を示す説明図である。図10Bは、部材90に接合された接続部材14と、木製部材11に接合された金属部材12とを接続した後の状態を示す説明図である。
【発明を実施するための形態】
【0010】
本明細書及び添付図面の記載により、少なくとも以下の事項が明らかとなる。
(【0011】以降は省略されています)
この特許をJ-PlatPat(特許庁公式サイト)で参照する
関連特許
株式会社大林組
加泥材
2か月前
株式会社大林組
飛込み台
1か月前
株式会社大林組
測定方法
1か月前
株式会社大林組
基礎構造
2か月前
株式会社大林組
接続構造
2か月前
株式会社大林組
接合構造
22日前
株式会社大林組
免震建築物
1か月前
株式会社大林組
仮設建築物
1か月前
株式会社大林組
建物の構造
21日前
株式会社大林組
ルーバー構造
1か月前
株式会社大林組
土壌改良方法
2か月前
株式会社大林組
耐火被覆構造
2か月前
株式会社大林組
耐火被覆構造
1か月前
株式会社大林組
監視システム
1か月前
株式会社大林組
耐火被覆構造
2か月前
株式会社大林組
空調システム
1か月前
株式会社大林組
可搬式充電設備
21日前
株式会社大林組
建物の躯体構造
1か月前
株式会社大林組
積層材成型方法
2か月前
株式会社大林組
シャッター装置
2か月前
株式会社大林組
床板の設置方法
1か月前
株式会社大林組
建物の躯体構造
1か月前
株式会社大林組
日射遮蔽発電装置
2か月前
株式会社大林組
リフトアップ装置
1か月前
株式会社大林組
安全支援システム
1か月前
株式会社大林組
作業支援システム
2か月前
株式会社大林組
リフトアップ装置
1か月前
株式会社大林組
鋼矢板の圧入方法
20日前
株式会社大林組
地震損失評価方法
2か月前
株式会社大林組
袋体付き排水パイプ
1か月前
株式会社大林組
建築物及び建築方法
1か月前
株式会社大林組
梁段差部の仕口構造
2か月前
株式会社大林組
袋体付き排水パイプ
1か月前
株式会社大林組
新設床版の設置工法
2か月前
株式会社大林組
建築方法及び建築物
2か月前
株式会社大林組
CO2固定量測定方法
1か月前
続きを見る
他の特許を見る