TOP
|
特許
|
意匠
|
商標
特許ウォッチ
Twitter
他の特許を見る
10個以上の画像は省略されています。
公開番号
2025145558
公報種別
公開特許公報(A)
公開日
2025-10-03
出願番号
2024045790
出願日
2024-03-22
発明の名称
鋼矢板の圧入方法
出願人
株式会社大林組
,
株式会社技研製作所
代理人
個人
主分類
E02D
7/20 20060101AFI20250926BHJP(水工;基礎;土砂の移送)
要約
【課題】従来よりも簡便かつ確実に鋼矢板の支持力を向上させることが可能な、鋼矢板の圧入方法を提供する。
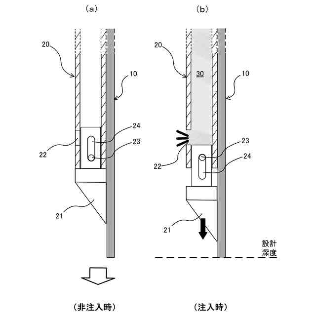
【解決手段】鋼矢板10の深度方向に、少なくとも該鋼矢板の下端部に固化材30を注入可能な固化材注入管20を配置するステップと、前記固化材注入管を配置した前記鋼矢板を地盤に圧入するステップと、前記固化材注入管を配置した前記鋼矢板が地盤に圧入されて所定の深度に達したときに前記固化材を地盤中に注入するステップと、を有し、前記固化材を地盤中に注入するステップは、前記鋼矢板の設計深度から該設計深度よりも浅い深度の間で前記固化材の注入を行いつつ、前記鋼矢板を上下動させて前記設計深度まで該鋼矢板を圧入することを特徴とする。
【選択図】図2
特許請求の範囲
【請求項1】
鋼矢板の深度方向に、少なくとも該鋼矢板の下端部に固化材を注入可能な固化材注入管を配置するステップと、
前記固化材注入管を配置した前記鋼矢板を地盤に圧入するステップと、
前記固化材注入管を配置した前記鋼矢板が地盤に圧入されて所定の深度に達したときに前記固化材を地盤中に注入するステップと、を有し、
前記固化材を地盤中に注入するステップは、
前記鋼矢板の設計深度から該設計深度よりも浅い深度の間で前記固化材の注入を行いつつ、前記鋼矢板を上下動させて前記設計深度まで該鋼矢板を圧入する
ことを特徴とする鋼矢板の圧入方法。
続きを表示(約 1,700 文字)
【請求項2】
鋼矢板の深度方向に、少なくとも該鋼矢板の下端部に固化材を注入可能な固化材注入管を配置するステップと、
前記固化材注入管を配置した前記鋼矢板を地盤に圧入するステップと、
前記固化材注入管を配置した前記鋼矢板が地盤に圧入されて所定の深度に達したときに前記固化材を地盤中に注入するステップと、を有し、
前記固化材を地盤中に注入するステップは、
前記鋼矢板が設計深度に達したときに前記固化材の注入を開始する
ことを特徴とする鋼矢板の圧入方法。
【請求項3】
鋼矢板の深度方向に、少なくとも該鋼矢板の下端部に固化材を注入可能な固化材注入管を配置するステップと、
前記固化材注入管を配置した前記鋼矢板を地盤に圧入するステップと、
前記固化材注入管を配置した前記鋼矢板が地盤に圧入されて所定の深度に達したときに前記固化材を地盤中に注入するステップと、を有し、
前記固化材を地盤中に注入するステップは、
前記鋼矢板の設計深度よりも深い深度へ該鋼矢板を圧入して前記固化材の注入を開始するとともに該鋼矢板を前記設計深度まで引き上げる
ことを特徴とする鋼矢板の圧入方法。
【請求項4】
鋼矢板の深度方向に、少なくとも該鋼矢板の下端部に固化材を注入可能な固化材注入管を配置するステップと、
前記固化材注入管を配置した前記鋼矢板を地盤にオーガーを併用して圧入するステップと、
前記固化材注入管を配置した前記鋼矢板が地盤に圧入されて所定の深度に達したときに前記固化材を地盤中に注入するステップと、
前記鋼矢板が設計深度に達した後に前記オーガーを攪拌しながら引き抜くステップと、を有し、
前記固化材を地盤中に注入するステップは、
前記鋼矢板の設計深度から該設計深度よりも浅い深度の間で前記固化材の注入を行いつつ、該設計深度まで該鋼矢板を圧入する
ことを特徴とする鋼矢板の圧入方法。
【請求項5】
鋼矢板の深度方向に、少なくとも該鋼矢板の下端部に固化材を注入可能な固化材注入管を配置するステップと、
前記固化材注入管を配置した前記鋼矢板を地盤にウォータージェットを併用して圧入するステップと、
前記固化材注入管を配置した前記鋼矢板が地盤に圧入されて所定の深度に達したときに前記固化材を地盤中に注入するステップと、を有し、
前記鋼矢板を地盤にウォータージェットを併用して圧入するステップは、
前記鋼矢板の設計深度よりも浅い所定の深度まで水を吐出させつつ該鋼矢板を圧入し、
前記固化材を地盤中に注入するステップは、
前記鋼矢板が前記所定の深度に達した後に前記固化材の注入を行いつつ、前記鋼矢板の設計深度まで該鋼矢板を圧入し、
前記固化材注入管は、ジェットノズルを有するとともに、前記固化材及び前記水を吐出する
ことを特徴とする鋼矢板の圧入方法。
【請求項6】
前記固化材の深度方向の注入範囲は前記鋼矢板の有効高さの1~2倍である
ことを特徴とする請求項1乃至5のいずれかに記載の鋼矢板の圧入方法。
【請求項7】
前記固化材注入管を複数配置するとともに、該固化材注入管を前記鋼矢板の前面側及び背面側にそれぞれ配置する
ことを特徴とする請求項1乃至3、請求項5のいずれかに記載の鋼矢板の圧入方法。
【請求項8】
鋼矢板の深度方向に、該鋼矢板の背面側にのみに固化材を注入可能な固化材注入管を配置するステップと、
前記固化材注入管を配置した前記鋼矢板を地盤に圧入するステップと、
前記固化材注入管を配置した前記鋼矢板が地盤に圧入されて所定の深度に達したときに前記固化材を地盤中に注入するステップと、を有し、
前記固化材を地盤中に注入するステップは、
前記鋼矢板が設計深度に達したときに前記固化材の注入を開始する
ことを特徴とする鋼矢板の圧入方法。
発明の詳細な説明
【技術分野】
【0001】
本発明は、従来よりも鋼矢板の支持力を向上させることが可能な、鋼矢板の圧入方法に関する。
続きを表示(約 1,800 文字)
【背景技術】
【0002】
従来から、鋼矢板は仮設土留め材としての実績は豊富であるものの、鋼管やコンクリート杭と比較して断面性能が小さい。そのため、「道路橋示方書・同解説」や「鉄道構造物等設計標準・同解説」では、鉛直荷重や水平抵抗力を負担する基礎構造物として記載されていない。その一方で、上記鋼矢板を仮設材として利用するだけではなく本設利用できればこれを活用したいというニーズがある。
【0003】
また、N値が25以上の地盤に、単独圧入のみで鋼矢板を打ち込むのは難しい。これに対応して、特許文献1に開示されているような、ウォータージェットを併用した鋼矢板圧入工法を採用することができる。また、クラッシュパイラー(登録商標)を用いたオーガー併用圧入工法を選定する場合もある。
【先行技術文献】
【特許文献】
【0004】
特開2008-057171号公報
【発明の概要】
【発明が解決しようとする課題】
【0005】
上記のような状況の中、鋼矢板上部に鉛直・水平荷重が作用するような場合、鋼矢板の支持力を向上させるためには、別途根固め注入工法などによる補助工法が必要となってしまう。このような補助工法を別途行うこととなれば、それに伴う工期の延長やコストの増大は避けられない。
【0006】
そこで本願発明は、上記した問題点等に鑑み、従来よりも簡便かつ確実に鋼矢板の支持力を向上させることが可能な、鋼矢板の圧入方法を提供することを目的とする。
【課題を解決するための手段】
【0007】
(1)に係る発明は、鋼矢板の深度方向に、少なくとも該鋼矢板の下端部に固化材を注入可能な固化材注入管を配置するステップと、前記固化材注入管を配置した前記鋼矢板を地盤に圧入するステップと、前記固化材注入管を配置した前記鋼矢板が地盤に圧入されて所定の深度に達したときに前記固化材を地盤中に注入するステップと、を有し、前記固化材を地盤中に注入するステップは、前記鋼矢板の設計深度から該設計深度よりも浅い深度の間で前記固化材の注入を行いつつ、前記鋼矢板を上下動させて前記設計深度まで該鋼矢板を圧入することを特徴とする鋼矢板の圧入方法である。
【0008】
(2)に係る発明は、鋼矢板の深度方向に、少なくとも該鋼矢板の下端部に固化材を注入可能な固化材注入管を配置するステップと、前記固化材注入管を配置した前記鋼矢板を地盤に圧入するステップと、前記固化材注入管を配置した前記鋼矢板が地盤に圧入されて所定の深度に達したときに前記固化材を地盤中に注入するステップと、を有し、前記固化材を地盤中に注入するステップは、前記鋼矢板が設計深度に達したときに前記固化材の注入を開始することを特徴とする鋼矢板の圧入方法である。
【0009】
(3)に係る発明は、鋼矢板の深度方向に、少なくとも該鋼矢板の下端部に固化材を注入可能な固化材注入管を配置するステップと、前記固化材注入管を配置した前記鋼矢板を地盤に圧入するステップと、前記固化材注入管を配置した前記鋼矢板が地盤に圧入されて所定の深度に達したときに前記固化材を地盤中に注入するステップと、を有し、前記固化材を地盤中に注入するステップは、前記鋼矢板の設計深度よりも深い深度へ該鋼矢板を圧入して前記固化材の注入を開始するとともに該鋼矢板を前記設計深度まで引き上げることを特徴とする鋼矢板の圧入方法である。
【0010】
(4)に係る発明は、鋼矢板の深度方向に、少なくとも該鋼矢板の下端部に固化材を注入可能な固化材注入管を配置するステップと、前記固化材注入管を配置した前記鋼矢板を地盤にオーガーを併用して圧入するステップと、前記固化材注入管を配置した前記鋼矢板が地盤に圧入されて所定の深度に達したときに前記固化材を地盤中に注入するステップと、前記鋼矢板が設計深度に達した後に前記オーガーを攪拌しながら引き抜くステップと、を有し、前記固化材を地盤中に注入するステップは、前記鋼矢板の設計深度から該設計深度よりも浅い深度の間で前記固化材の注入を行いつつ、該設計深度まで該鋼矢板を圧入することを特徴とする鋼矢板の圧入方法である。
(【0011】以降は省略されています)
この特許をJ-PlatPat(特許庁公式サイト)で参照する
関連特許
株式会社大林組
飛込み台
1か月前
株式会社大林組
接合構造
5日前
株式会社大林組
接合構造
1か月前
株式会社大林組
開封装置
2日前
株式会社大林組
測定方法
1か月前
株式会社大林組
接続構造
5日前
株式会社大林組
操縦装置
5日前
株式会社大林組
加熱装置
2日前
株式会社大林組
建物の構造
1か月前
株式会社大林組
ドリル装置
5日前
株式会社大林組
免震建築物
2か月前
株式会社大林組
仮設建築物
1か月前
株式会社大林組
スロープ構造
2日前
株式会社大林組
折畳み構造物
8日前
株式会社大林組
監視システム
2か月前
株式会社大林組
ルーバー構造
1か月前
株式会社大林組
耐火被覆構造
1か月前
株式会社大林組
空調システム
2か月前
株式会社大林組
建物の躯体構造
2か月前
株式会社大林組
建物の躯体構造
2か月前
株式会社大林組
床板の設置方法
1か月前
株式会社大林組
可搬式充電設備
1か月前
株式会社大林組
鋼矢板の圧入方法
29日前
株式会社大林組
安全支援システム
2か月前
株式会社大林組
リフトアップ装置
1か月前
株式会社大林組
日射遮蔽発電装置
2か月前
株式会社大林組
リフトアップ装置
1か月前
株式会社大林組
建築物及び建築方法
1か月前
株式会社大林組
袋体付き排水パイプ
1か月前
株式会社大林組
袋体付き排水パイプ
1か月前
株式会社大林組
繊維材供給システム
2日前
株式会社大林組
電動式運搬補助装置
4日前
株式会社大林組
自動屋根開閉システム
8日前
株式会社大林組
CO2固定量測定方法
2か月前
株式会社大林組
建物の構築方法及び建物
1か月前
株式会社大林組
継手装置及び複合支持杭
1か月前
続きを見る
他の特許を見る