TOP
|
特許
|
意匠
|
商標
特許ウォッチ
Twitter
他の特許を見る
公開番号
2025172620
公報種別
公開特許公報(A)
公開日
2025-11-26
出願番号
2024078227
出願日
2024-05-13
発明の名称
減衰機構
出願人
株式会社大林組
代理人
弁理士法人一色国際特許事務所
主分類
F16F
15/02 20060101AFI20251118BHJP(機械要素または単位;機械または装置の効果的機能を生じ維持するための一般的手段)
要約
【課題】大地震が発生した時の構造物の過大変形を抑制すると共に、中小地震が発生した時の構造物の居住性を確保する。
【解決手段】第1物体と第2物体との相対的な往復運動を減衰する減衰機構であって、前記往復運動における前記第1物体と前記第2物体との相対変位が所定範囲内にあるとき、減衰力を発生させず、前記相対変位が前記所定範囲を超えるとき、減衰力を発生させる、減衰機構である。
【選択図】図2
特許請求の範囲
【請求項1】
第1物体と第2物体との相対的な往復運動を減衰する減衰機構であって、
前記往復運動における前記第1物体と前記第2物体との相対変位が所定範囲内にあるとき、減衰力を発生させず、
前記相対変位が前記所定範囲を超えるとき、減衰力を発生させる、減衰機構。
続きを表示(約 1,200 文字)
【請求項2】
前記減衰力を発生させる減衰力発生機構と、前記減衰力を制御する制御機構と、を備える、
請求項1に記載の減衰機構。
【請求項3】
前記制御機構は、
前記相対変位が前記所定範囲内にあるとき、前記減衰力発生機構を作動させないよう動作し、
前記相対変位が前記所定範囲を超えるとき、前記減衰力発生機構を作動させるよう動作する、
請求項2に記載の減衰機構。
【請求項4】
前記制御機構は、
前記第1物体と共に前記往復運動をするよう接続される第1部材と、
前記第1部材に対して前記往復運動の方向に相対移動が可能な第2部材と、
を有し、
前記減衰力発生機構は、前記第1部材と前記第2部材との前記相対移動に伴って前記減衰力を発生させる、
請求項2に記載の減衰機構。
【請求項5】
前記第1部材は、
前記往復運動の方向において、前記減衰力が生じない非減衰範囲に形成される第1非減衰領域と、
前記往復運動の方向において、前記非減衰範囲を超える範囲であって、前記減衰力が生じる減衰範囲に形成される第1減衰領域と、
を有する、
請求項4に記載の減衰機構。
【請求項6】
前記制御機構は、
前記第2物体と共に前記往復運動をするよう接続される支持部と、前記支持部に支持され、前記第1非減衰領域又は前記第1減衰領域に位置するピン部材と、を有し、
前記ピン部材は、前記相対移動に伴って、前記第1非減衰領域又は前記第1減衰領域を案内される、
請求項5に記載の減衰機構。
【請求項7】
前記非減衰範囲において、前記第1部材と前記第2部材とは、前記相対移動をしない、
請求項5に記載の減衰機構。
【請求項8】
前記第2部材は、前記相対変位が前記所定範囲内にあるとき前記第1非減衰領域と位置が重複する第2領域を有し、
前記ピン部材は、前記ピン部材の長手方向に見たとき前記第1非減衰領域と前記第2領域とに位置する、
請求項6に記載の減衰機構。
【請求項9】
前記第1非減衰領域と前記第1減衰領域とは、前記第1部材の面内方向にずれて連通されて配置されており、
前記ピン部材は、前記面内方向に移動可能に設けられている、
請求項6に記載の減衰機構。
【請求項10】
前記第1部材に設けられ、前記第1物体に対する前記第1部材の、前記往復運動の方向における移動を規制し、前記往復運動の方向と直交する特定の直交方向における前記第1物体に対する前記第1部材の移動を案内する、接続機構を備える、
請求項4に記載の減衰機構。
(【請求項11】以降は省略されています)
発明の詳細な説明
【技術分野】
【0001】
本発明は、減衰機構に関する。
続きを表示(約 1,700 文字)
【背景技術】
【0002】
地震による構造物に伝達する振動を抑制する免震装置と共に、振動を減衰する減衰装置が用いられることがある。
【先行技術文献】
【特許文献】
【0003】
特開2016-205413号公報
【発明の概要】
【発明が解決しようとする課題】
【0004】
ところで、大地震が発生した時に、構造物に過大変形が生じる可能性がある。そこで、構造物にさらに減衰装置を付加することで、大地震が発生した時の応答を有効に低減し、構造物に生じる過大変形を抑制することができる。しかし、減衰装置による減衰力が過大となってしまうことで、中小地震が発生した時の構造物の居住性を損ねてしまうことがある。
【0005】
本発明の目的の一例は、大地震が発生した時の構造物の過大変形を抑制すると共に、中小地震が発生した時の構造物の居住性を確保することにある。本発明の他の目的は、本明細書の記載から明らかになるであろう。
【課題を解決するための手段】
【0006】
本発明の一態様は、第1物体と第2物体との相対的な往復運動を減衰する減衰機構であって、前記往復運動における前記第1物体と前記第2物体との相対変位が所定範囲内にあるとき、減衰力を発生させず、前記相対変位が前記所定範囲を超えるとき、減衰力を発生させる、減衰機構である。
【0007】
本発明の他の特徴については、後述する明細書及び図面の記載により明らかにする。
【発明の効果】
【0008】
本発明の上記態様によれば、大地震が発生した時の構造物の過大変形を抑制すると共に、中小地震が発生した時の構造物の居住性を確保することができる。
【図面の簡単な説明】
【0009】
図1は、第1実施形態の減衰機構10の適用例を示す説明図である。
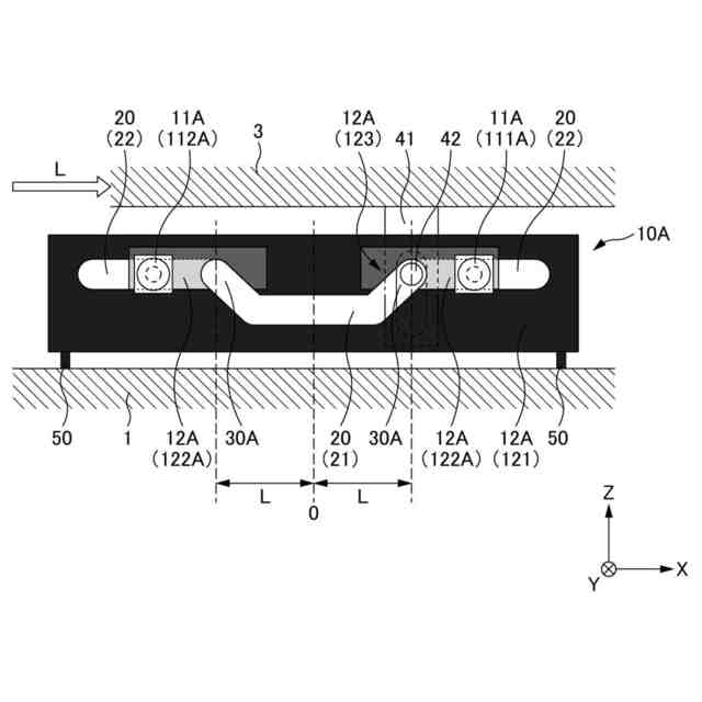
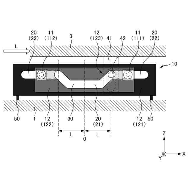
図2Aは、第1実施形態の減衰機構10の基準位置における正面図である。図2Bは、図2AのA-A線における断面図である。
図3は、第1実施形態の減衰機構10において、第1物体1に対して第2物体3が+X側にLだけ変位した際の様子を示す説明図である。
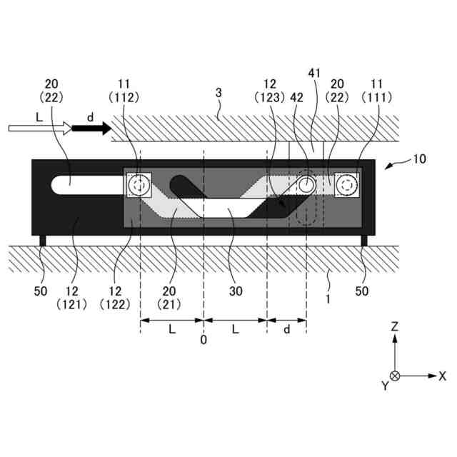
図4は、第1実施形態の減衰機構10において、第1物体1に対して第2物体3が+X側にL+dだけ変位した際の様子を示す説明図である。
図5は、第1実施形態の減衰機構10による構造物100の復元力特性の一例を示す説明図である。
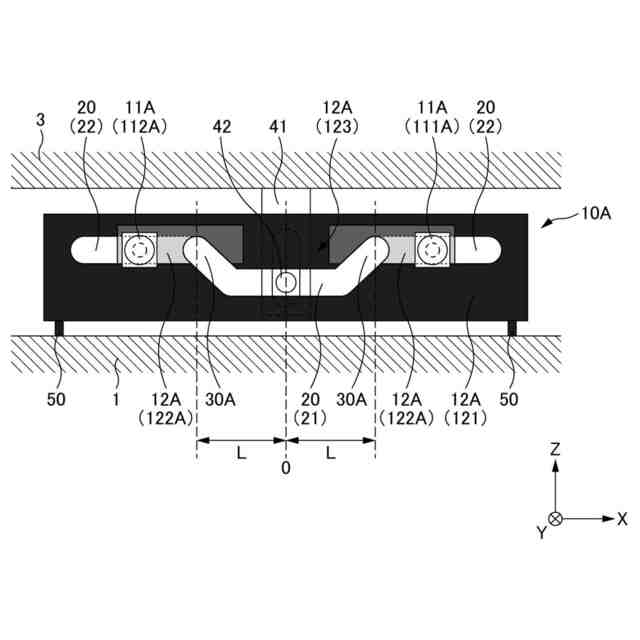
図6は、第1変形例の減衰機構10Aの基準位置における正面図である。
図7は、第1変形例の減衰機構10Aにおいて、第1物体1に対して第2物体3が+X側にLだけ変位した際の様子を示す説明図である。
図8は、第1変形例の減衰機構10Aにおいて、第1物体1に対して第2物体3が+X側にL+dだけ変位した際の様子を示す説明図である。
図9は、第1変形例の減衰機構10Aによる構造物100の復元力特性の一例を示す説明図である。
図10は、第2変形例の減衰機構10Bの斜視図である。
図11Aは、第3変形例の減衰機構10Cを軸方向から見た図である。図11Bは、第3変形例の減衰機構10Cの斜視図である。
図12は、第2実施形態の減衰機構10Dの基準位置における正面図である。
図13は、第2実施形態の減衰機構10Dにおいて、第1物体1に対して第2物体3が+X側にLだけ変位した際の様子を示す説明図である。
図14は、第2実施形態の減衰機構10Dにおいて、第1物体1に対して第2物体3が+X側にL+dだけ変位した際の様子を示す説明図である。
図15は、第2実施形態の減衰機構10Dによる構造物100の復元力特性の一例を示す説明図である。
【発明を実施するための形態】
【0010】
本明細書及び添付図面の記載により、少なくとも以下の事項が明らかとなる。
(【0011】以降は省略されています)
この特許をJ-PlatPat(特許庁公式サイト)で参照する
関連特許
株式会社大林組
減衰機構
今日
株式会社大林組
開封装置
27日前
株式会社大林組
接合構造
1か月前
株式会社大林組
接続構造
1か月前
株式会社大林組
操縦装置
1か月前
株式会社大林組
接合構造
1か月前
株式会社大林組
飛込み台
2か月前
株式会社大林組
測定方法
2か月前
株式会社大林組
加熱装置
27日前
株式会社大林組
減衰機構
今日
株式会社大林組
減衰機構
今日
株式会社大林組
免震建築物
2か月前
株式会社大林組
建物の構造
1か月前
株式会社大林組
ドリル装置
1か月前
株式会社大林組
仮設建築物
2か月前
株式会社大林組
空調システム
2か月前
株式会社大林組
折畳み構造物
1か月前
株式会社大林組
スロープ構造
27日前
株式会社大林組
ルーバー構造
2か月前
株式会社大林組
耐火被覆構造
2か月前
株式会社大林組
床板の設置方法
2か月前
株式会社大林組
災害時支援装置
19日前
株式会社大林組
可搬式充電設備
1か月前
株式会社大林組
梁筋の配筋方法
19日前
株式会社大林組
鋼矢板の圧入方法
1か月前
株式会社大林組
リフトアップ装置
2か月前
株式会社大林組
リフトアップ装置
2か月前
株式会社大林組
大梁胴縁接続構造
21日前
株式会社大林組
安全支援システム
2か月前
株式会社大林組
進捗管理システム
6日前
株式会社大林組
繊維材供給システム
27日前
株式会社大林組
電動式運搬補助装置
29日前
株式会社大林組
構造物及び施工方法
19日前
株式会社大林組
建築物及び建築方法
2か月前
株式会社大林組
袋体付き排水パイプ
2か月前
株式会社大林組
袋体付き排水パイプ
2か月前
続きを見る
他の特許を見る