TOP
|
特許
|
意匠
|
商標
特許ウォッチ
Twitter
他の特許を見る
公開番号
2025137117
公報種別
公開特許公報(A)
公開日
2025-09-19
出願番号
2024036128
出願日
2024-03-08
発明の名称
飛込み台
出願人
株式会社大林組
代理人
個人
,
個人
,
個人
主分類
E04H
4/14 20060101AFI20250911BHJP(建築物)
要約
【課題】架台を鉄骨柱と鉄骨梁とで構築されたものとしても飛び板の振動や音を十分に抑制することが可能な飛込み台を提供することである。
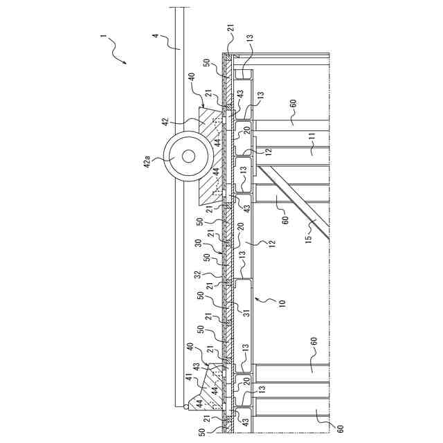
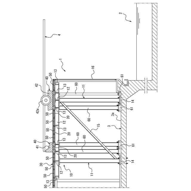
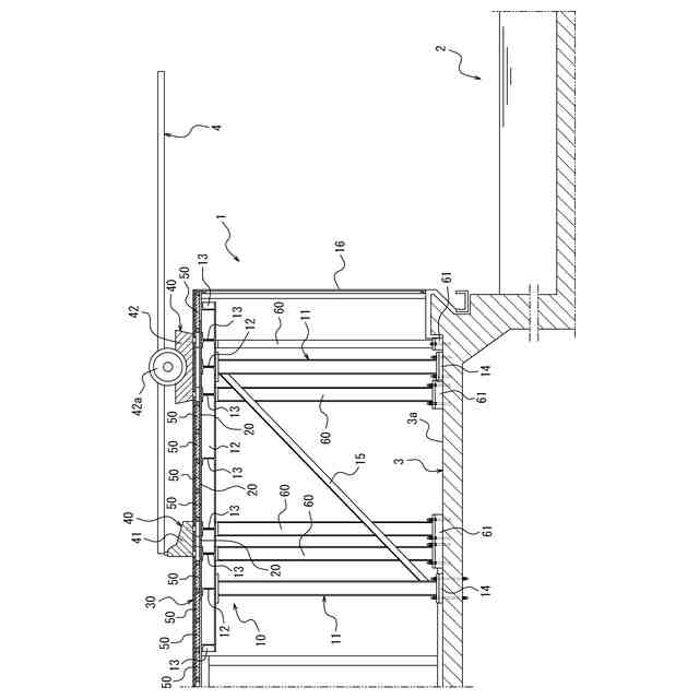
【解決手段】プールサイド3に設けられ、飛び板4が設置された飛込み台1であって、鉄骨柱11と鉄骨梁12、13とで構築された架台10と、鉄骨梁12、13の上に設置された基板20と、基板20の上にスペーサ体21を挟んで設置された床板30と、床板30の上に固定され、飛び板4を支持するスタンド40と、基板20と床板30との間に配置された砂袋50と、を有することを特徴とする飛込み台1。
【選択図】図1
特許請求の範囲
【請求項1】
プールサイドに設けられ、飛び板が設置された飛込み台であって、
鉄骨柱と鉄骨梁とで構築された架台と、
前記鉄骨梁の上に設置された基板と、
前記基板の上にスペーサ体を挟んで設置された床板と、
前記床板の上に固定され、前記飛び板を支持するスタンドと、
前記基板と前記床板との間に配置された砂袋と、を有することを特徴とする飛込み台。
続きを表示(約 45 文字)
【請求項2】
前記基板が鋼板で形成されている、請求項1に記載の飛込み台。
発明の詳細な説明
【技術分野】
【0001】
本発明は、プールサイドに設けられる飛込み台に関する。
続きを表示(約 1,100 文字)
【背景技術】
【0002】
水泳競技の一種である3m飛板飛込などに用いられる飛込み台は、プールサイドに設けられたコンクリート製の架台の上に、例えば特許文献1に記載されるようなスタンドに支持された飛び板を設置した構成とされるのが一般的である。
【先行技術文献】
【特許文献】
【0003】
特表2020-536710号公報
【発明の概要】
【発明が解決しようとする課題】
【0004】
飛込み台が設けられていないプールに仮設で飛込み台を設ける場合などでは、飛込み台を、鉄骨柱と鉄骨梁とで構築した架台の上に床板を設置し、床板の上に飛び板を支持するスタンドを固定した構成とすることが考えられる。
【0005】
しかし、鉄骨柱と鉄骨梁とで構築された架台は、コンクリート製の架台に比べて剛性が低いため、飛板飛込の競技の際に飛び板が発生する振動や音を架台によって十分に抑制することができない、という問題点があった。
【0006】
本発明は、このような課題に鑑みてなされたものであり、その目的は、架台を鉄骨柱と鉄骨梁とで構築されたものとしても飛び板の振動や音を十分に抑制することが可能な飛込み台を提供することにある。
【課題を解決するための手段】
【0007】
本発明の飛込み台は、プールサイドに設けられ、飛び板が設置された飛込み台であって、鉄骨柱と鉄骨梁とで構築された架台と、前記鉄骨梁の上に設置された基板と、前記基板の上にスペーサ体を挟んで設置された床板と、前記床板の上に固定され、前記飛び板を支持するスタンドと、前記基板と前記床板との間に配置された砂袋と、を有することを特徴とする。
【0008】
本発明の飛込み台は、上記構成において、前記基板が鋼板で形成されているのが好ましい。
【発明の効果】
【0009】
本発明によれば、架台を鉄骨柱と鉄骨梁とで構築されたものとしても飛び板の振動や音を十分に抑制することが可能な飛込み台を提供することができる。
【図面の簡単な説明】
【0010】
本発明の一実施形態に係る飛込み台の概略を示す断面図である。
図1に示す飛込み台の正面図である。
図1に示す飛込み台の平面図である。
図1に示す飛込み台のスタンドが設けられた部分を拡大して示す断面図である。
図1に示す鋼板の平面図である。
【発明を実施するための形態】
(【0011】以降は省略されています)
この特許をJ-PlatPat(特許庁公式サイト)で参照する
関連特許
株式会社大林組
接続構造
1か月前
株式会社大林組
測定方法
2か月前
株式会社大林組
基礎構造
3か月前
株式会社大林組
開封装置
1か月前
株式会社大林組
加熱装置
1か月前
株式会社大林組
減衰機構
3日前
株式会社大林組
減衰機構
3日前
株式会社大林組
減衰機構
3日前
株式会社大林組
飛込み台
2か月前
株式会社大林組
接合構造
1か月前
株式会社大林組
接合構造
1か月前
株式会社大林組
操縦装置
1か月前
株式会社大林組
建物の構造
1か月前
株式会社大林組
ドリル装置
1か月前
株式会社大林組
免震建築物
3か月前
株式会社大林組
仮設建築物
2か月前
株式会社大林組
ルーバー構造
2か月前
株式会社大林組
耐火被覆構造
2か月前
株式会社大林組
スロープ構造
1か月前
株式会社大林組
監視システム
3か月前
株式会社大林組
空調システム
3か月前
株式会社大林組
折畳み構造物
1か月前
株式会社大林組
床板の設置方法
2か月前
株式会社大林組
可搬式充電設備
1か月前
株式会社大林組
シャッター装置
3か月前
株式会社大林組
積層材成型方法
3か月前
株式会社大林組
梁筋の配筋方法
22日前
株式会社大林組
災害時支援装置
22日前
株式会社大林組
建物の躯体構造
3か月前
株式会社大林組
建物の躯体構造
3か月前
株式会社大林組
構造物形成装置
1日前
株式会社大林組
安全支援システム
3か月前
株式会社大林組
リフトアップ装置
1日前
株式会社大林組
リフトアップ装置
1日前
株式会社大林組
リフトアップ装置
2か月前
株式会社大林組
作業支援システム
3か月前
続きを見る
他の特許を見る