TOP
|
特許
|
意匠
|
商標
特許ウォッチ
Twitter
他の特許を見る
公開番号
2025136670
公報種別
公開特許公報(A)
公開日
2025-09-19
出願番号
2024035411
出願日
2024-03-07
発明の名称
袋体付き排水パイプ
出願人
株式会社大林組
代理人
個人
主分類
E02D
17/20 20060101AFI20250911BHJP(水工;基礎;土砂の移送)
要約
【課題】従来よりも効果的に地盤の補強・排水を行うことができるとともに、工期短縮効果とコスト削減効果を向上させることが可能な、袋体付き排水パイプを提供する。
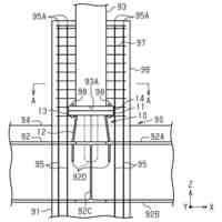
【解決手段】地盤の貫入方向に延伸する管本体11と、該管本体11に設けられる袋体161と、を有する袋体付き排水パイプ1において、前記管本体11は、該管本体11の内部で貫入方向に延在する隔壁12を備えるとともに、該隔壁12によって仕切られて、前記袋体161に固化材を注入することが可能な注入部13と、地盤内で集水した水を排水することが可能な排水部14と、から成り、前記注入部13は、前記袋体161に固化材を充填する注入口131を備え、前記排水部14は、前記袋体161の貫入方向手前、及び/又は、前記袋体161の貫入方向奥側に、集水口141を備えていることを特徴とする。
【選択図】図2
特許請求の範囲
【請求項1】
地盤の貫入方向に延伸する管本体と、該管本体に設けられる袋体と、を有する袋体付き排水パイプにおいて、
前記管本体は、該管本体の内部で貫入方向に延在する隔壁を備えるとともに、該隔壁によって仕切られて、前記袋体に固化材を注入することが可能な注入部と、地盤内で集水した水を排水することが可能な排水部と、から成り、
前記注入部は、前記袋体に固化材を充填する注入口を備え、
前記排水部は、前記袋体の貫入方向手前、及び/又は、前記袋体の貫入方向奥側に、集水口を備えている
ことを特徴とする袋体付き排水パイプ。
続きを表示(約 670 文字)
【請求項2】
前記管本体には、複数の前記袋体が設けられている
ことを特徴とする請求項1に記載の袋体付き排水パイプ。
【請求項3】
袋体間に延在する前記排水部は前記集水口を備えている
ことを特徴とする請求項2に記載の袋体付き排水パイプ。
【請求項4】
前記注入部には、前記注入口に接続されて前記袋体に前記固化材を充填する充填用配管が挿通される
ことを特徴とする請求項1乃至3のいずれかに記載の袋体付き排水パイプ。
【請求項5】
前記充填用配管は、前記袋体に前記固化材が充填された後に撤去され、前記注入部に前記固化材が充填される
ことを特徴とする請求項4に記載の袋体付き排水パイプ。
【請求項6】
前記注入部には、貫入方向に延伸する補強心材が挿通される
ことを特徴とする請求項1乃至3のいずれかに記載の袋体付き排水パイプ。
【請求項7】
前記注入部には、貫入方向に延伸する補強心材が挿通される
ことを特徴とする請求項4に記載の袋体付き排水パイプ。
【請求項8】
前記注入部には、貫入方向に延伸する補強心材が挿通される
ことを特徴とする請求項5に記載の袋体付き排水パイプ。
【請求項9】
前記管本体は、二つの略半円のパイプを接合して略円形に形成し、前記略半円のパイプの接合面を前記隔壁とする
ことを特徴とする請求項1乃至3のいずれかに記載の袋体付き排水パイプ。
発明の詳細な説明
【技術分野】
【0001】
本発明は、地盤を補強するとともに、地盤内の地下水を排水することが可能な、袋体付き排水パイプに関する。
続きを表示(約 1,300 文字)
【背景技術】
【0002】
従来から、設計上の強度が必要な土構造物には、斜面崩壊に対するせん断補強対策(例えば、地山補強土工)と、排水対策(例えば、排水パイプ工法)の2種類の対策を行うことで施工を行っていた。
【0003】
例えば、特許文献1には、鋼製の管本体の外周に、螺旋羽根と、水抜き孔とを設けた羽根付き有孔鋼管による地盤補強工法が開示されている。これは、水抜き孔としての機能を持たせつつ、羽根付き有孔鋼管と地盤との周面摩擦抵抗に基づく付着効果を利用し、地盤の崩壊や変状に対する抵抗力を高めようとしたものである。
【0004】
また、特許文献2には、ポリエチレン製の集排水パイプの先端側に袋体を設け、集排水パイプと袋体との境目に仕切り部材を設置して、当該仕切り材を貫通して上記集排水パイプ内に配した注入用パイプにより、上記袋体にグラウトを注入した地盤補強工法が開示されている。これは、グラウトで膨張させた袋体により、地山内部に定着部を形成させることで、地山の安定化を図ろうとしたものである。
【先行技術文献】
【特許文献】
【0005】
特開2016-056505号公報
特開2007-170115号公報
【発明の概要】
【発明が解決しようとする課題】
【0006】
しかしながら、前述した特許文献1に開示された発明では、羽根付き有孔鋼管を貫入するために、大型機械の設置及びその設置場所が必要となる。加えて、上記羽根付き有孔鋼管は、周面摩擦抵抗のみの抵抗力となっている。
【0007】
また、前述した特許文献2に開示された発明においては、グラウト注入後の袋体による抵抗力は期待できるものの、構成上、集排水パイプ自体による締固め効果等は期待できない。加えて、集排水パイプの断面積に対して排水孔の断面積が小さく、大量の水が集排水対象となる場合に排水量が不足してしまったり、土砂などによって目詰まりが発生してしまう虞もある。
【0008】
そこで本願発明は、上記した問題点等に鑑み、従来よりも効果的に地盤の補強・排水を行うことができるとともに、工期短縮効果とコスト削減効果を向上させることが可能な、袋体付き排水パイプを提供することを目的とする。
【課題を解決するための手段】
【0009】
(1)に係る発明は、地盤の貫入方向に延伸する管本体と、該管本体に設けられる袋体と、を有する袋体付き排水パイプにおいて、前記管本体は、該管本体の内部で貫入方向に延在する隔壁を備えるとともに、該隔壁によって仕切られて、前記袋体に固化材を注入することが可能な注入部と、地盤内で集水した水を排水することが可能な排水部と、から成り、前記注入部は、前記袋体に固化材を充填する注入口を備え、前記排水部は、前記袋体の貫入方向手前、及び/又は、前記袋体の貫入方向奥側に、集水口を備えていることを特徴とする袋体付き排水パイプである。
【0010】
(2)に係る発明は、前記管本体には、複数の前記袋体が設けられていることを特徴とする上記(1)に記載の袋体付き排水パイプである。
(【0011】以降は省略されています)
この特許をJ-PlatPat(特許庁公式サイト)で参照する
関連特許
株式会社大林組
接続構造
11日前
株式会社大林組
測定方法
1か月前
株式会社大林組
操縦装置
11日前
株式会社大林組
接合構造
11日前
株式会社大林組
接合構造
1か月前
株式会社大林組
飛込み台
1か月前
株式会社大林組
開封装置
8日前
株式会社大林組
加熱装置
8日前
株式会社大林組
建物の構造
1か月前
株式会社大林組
ドリル装置
11日前
株式会社大林組
仮設建築物
1か月前
株式会社大林組
ルーバー構造
2か月前
株式会社大林組
折畳み構造物
14日前
株式会社大林組
スロープ構造
8日前
株式会社大林組
耐火被覆構造
2か月前
株式会社大林組
床板の設置方法
1か月前
株式会社大林組
梁筋の配筋方法
今日
株式会社大林組
災害時支援装置
今日
株式会社大林組
可搬式充電設備
1か月前
株式会社大林組
リフトアップ装置
1か月前
株式会社大林組
リフトアップ装置
1か月前
株式会社大林組
大梁胴縁接続構造
2日前
株式会社大林組
鋼矢板の圧入方法
1か月前
株式会社大林組
建築物及び建築方法
1か月前
株式会社大林組
繊維材供給システム
8日前
株式会社大林組
構造物及び施工方法
今日
株式会社大林組
袋体付き排水パイプ
1か月前
株式会社大林組
電動式運搬補助装置
10日前
株式会社大林組
袋体付き排水パイプ
1か月前
株式会社大林組
自動屋根開閉システム
14日前
株式会社大林組
柱接合構造の施工方法
今日
株式会社大林組
CO2固定量測定方法
2か月前
株式会社大林組
建設現場支援システム
1日前
株式会社大林組
クレーンの自動運転装置
1か月前
株式会社大林組
継手装置及び複合支持杭
1か月前
株式会社大林組
建物の構築方法及び建物
1か月前
続きを見る
他の特許を見る