TOP
|
特許
|
意匠
|
商標
特許ウォッチ
Twitter
他の特許を見る
公開番号
2025130245
公報種別
公開特許公報(A)
公開日
2025-09-08
出願番号
2024027278
出願日
2024-02-27
発明の名称
耐火被覆構造
出願人
株式会社大林組
代理人
個人
,
個人
主分類
E04B
1/94 20060101AFI20250901BHJP(建築物)
要約
【課題】内側耐火被覆部をより確実に支持することのできる耐火被覆構造を提供する。
【解決手段】耐火被覆構造10は、一対のフランジ13,14を接続するウェブ15に開口16を有するH型鋼12と、一対のフランジ13,14の間に配設されて、H型鋼12の成方向における内側からH型鋼12を被覆する内側耐火被覆部50と、H型鋼12に固定され、内側耐火被覆部50を支持する内側支持部60と、を備える。内側支持部60は、H型鋼12の成方向に延びる縦材61とH型鋼12の延在方向に延びる横材62とで内側耐火被覆部50を支持している。縦材61は、内側耐火被覆部50をH型鋼12の延在方向で挟む位置に設けられている。横材62は、内側耐火被覆部50をH型鋼12の成方向で挟む位置に設けられている。
【選択図】図1
特許請求の範囲
【請求項1】
一対のフランジを接続するウェブに開口を有するH型鋼と、
前記一対のフランジの間に配設されて、前記開口を被覆する耐火材を含んで構成される内側耐火被覆部と、
前記H型鋼に固定され、前記内側耐火被覆部を支持する内側支持部と、を備え、
前記内側支持部は、前記H型鋼の成方向に延びる縦材と前記H型鋼の延在方向に延びる横材とで前記内側耐火被覆部を支持しており、
前記縦材は、前記内側耐火被覆部を前記H型鋼の延在方向で挟む位置に設けられ、
前記横材は、前記内側耐火被覆部を前記H型鋼の成方向で挟む位置に設けられている
耐火被覆構造。
続きを表示(約 620 文字)
【請求項2】
前記内側耐火被覆部は、前記H型鋼の幅方向に延びて前記開口に挿通される筒型耐火材によって構成され、
前記内側支持部は、前記縦材および前記横材が前記筒型耐火材に当接することにより、前記筒型耐火材を支持している
請求項1に記載の耐火被覆構造。
【請求項3】
前記H型鋼は、前記H型鋼の延在方向に並ぶ複数の開口を有し、
前記内側耐火被覆部は、前記H型鋼の幅方向に延びて前記複数の開口の各々に挿通される筒型耐火材によって構成され、
前記内側支持部は、前記横材が複数の前記筒型耐火材に当接することにより、前記筒型耐火材を支持している
請求項1に記載の耐火被覆構造。
【請求項4】
前記内側耐火被覆部は、前記H型鋼の延在方向が厚み方向となる第1板型耐火材と前記H型鋼の成方向が厚み方向となる第2板型耐火材とを含み、
前記内側支持部は、前記第1板型耐火材が前記縦材に接合され、かつ、前記第2板型耐火材が前記横材に接合されることにより、前記内側耐火被覆部を支持している
請求項1に記載の耐火被覆構造。
【請求項5】
前記H型鋼の幅方向における外側から前記H型鋼を被覆する幅側耐火被覆部を備え、
前記縦材および前記横材の少なくとも一方に前記幅側耐火被覆部が接合されている
請求項1~4のいずれか一項に記載の耐火被覆構造。
発明の詳細な説明
【技術分野】
【0001】
本発明は、ウェブに開口が形成されたH型鋼に適用される耐火被覆構造に関する。
続きを表示(約 1,800 文字)
【背景技術】
【0002】
特許文献1には、一対のフランジと一対のフランジを接続するウェブとを有するH型鋼の耐火被覆構造が開示されている。特許文献1では、H型鋼を外側から覆う耐火被覆部が各種の鋼材を用いてフランジの各端部に支持されている。
【先行技術文献】
【特許文献】
【0003】
特開2023-84597号公報
【発明の概要】
【発明が解決しようとする課題】
【0004】
ところで、梁などに用いられるH型鋼においては、各種の配管などを通すための開口がウェブに形成されることがある。こうした構成の耐火被覆構造には、H型鋼を外側から覆う耐火被覆部にも配管などを通すための貫通孔が形成されるため、H型鋼の内側からH型鋼を被覆する内側耐火被覆部が必要となる。そして、例えば各種作業時の位置ずれや火災発生時の脱落などが抑えられるように、内側耐火被覆部をより確実に支持することのできる内側支持部がH型鋼に設けることが求められる。
【課題を解決するための手段】
【0005】
上記課題を解決する耐火被覆構造は、一対のフランジを接続するウェブに開口を有するH型鋼と、前記一対のフランジの間に配設されて、前記開口を被覆する耐火材を含んで構成される内側耐火被覆部と、前記H型鋼に固定され、前記内側耐火被覆部を支持する内側支持部と、を備える。前記内側支持部は、前記H型鋼の成方向に延びる縦材と前記H型鋼の延在方向に延びる横材とで前記内側耐火被覆部を支持しており、前記縦材は、前記内側耐火被覆部を前記H型鋼の延在方向で挟む位置に設けられ、前記横材は、前記内側耐火被覆部を前記H型鋼の成方向で挟む位置に設けられている。
【発明の効果】
【0006】
本発明によれば、内側耐火被覆部をより確実に支持することができる。
【図面の簡単な説明】
【0007】
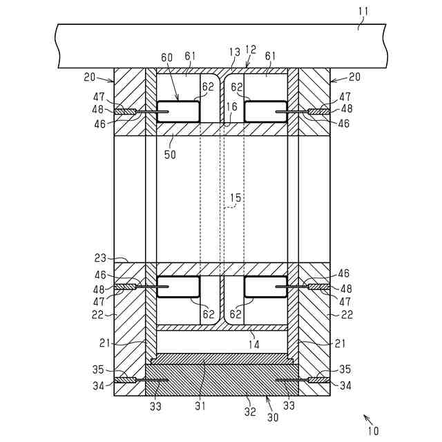
第1実施形態において、耐火被覆構造の概略構成を示す断面図である。
第1実施形態において、H型鋼の幅方向外側から見た内側支持部を示す側面図である。
第2実施形態において、耐火被覆構造の概略構成を示す断面図である。
第2実施形態において、H型鋼の幅方向外側から見た内側支持部を示す側面図である。
第1実施形態の変形例において、H型鋼の幅方向外側から見た内側被覆部および内側支持部を示す側面図である。
第2実施形態の変形例において、H型鋼の幅方向外側から見た内側被覆部および内側支持部を示す側面図である。
【発明を実施するための形態】
【0008】
(第1実施形態)
図1および図2を参照して、耐火被覆構造の第1実施形態について説明する。
図1に示すように、耐火被覆構造10は、床スラブ11を支持する梁として設置されるH型鋼12に適用される。H型鋼12は、上フランジ13、下フランジ14、および、ウェブ15を有している。ウェブ15には、各種の配管などを通すための開口16が形成されている。なお、以下では、図1における左右方向を幅方向といい、上下方向を成方向(H型鋼の高さ方向)といい、図1の紙面直交方向を延在方向という。
【0009】
耐火被覆構造10は、幅側被覆部20、フランジ側被覆部30、内側耐火被覆部50、および、内側支持部60を備える。
幅側被覆部20は、幅方向の外側からH型鋼12を被覆する幅側耐火被覆部である。幅側被覆部20には、各種の配管などを通すための貫通孔23が形成されている。フランジ側被覆部30は、成方向の外側からH型鋼12を被覆する耐火被覆部である。幅側被覆部20は、内側支持部60を介してH型鋼12に支持されている。フランジ側被覆部30は、幅側被覆部20および内側支持部60を介してH型鋼12に支持されている。
【0010】
被覆部20,30は、耐火材21,31と木質材22,32とを有する。耐火材21,31は、例えば、1枚あるいは積層された複数枚の石膏ボードなどで構成される。耐火材21は、幅方向における外側から上フランジ13および下フランジ14を覆うように設けられている。耐火材31は、空間を隔てて成方向における外側から下フランジ14に対向するように設けられている。
(【0011】以降は省略されています)
この特許をJ-PlatPat(特許庁公式サイト)で参照する
関連特許
株式会社大林組
接合構造
22日前
株式会社大林組
飛込み台
1か月前
株式会社大林組
仮設建築物
1か月前
株式会社大林組
建物の構造
21日前
株式会社大林組
可搬式充電設備
21日前
株式会社大林組
床板の設置方法
1か月前
株式会社大林組
鋼矢板の圧入方法
20日前
株式会社大林組
クレーンの自動運転装置
20日前
株式会社大林組
建物の構築方法及び建物
1か月前
株式会社大林組
耐火構造、耐火板支持構造
13日前
株式会社大林組
クレーン自動運転システム
20日前
株式会社大林組
飛込み台及びその施工方法
1か月前
株式会社大林組
表面処理装置及び表面処理方法
24日前
株式会社大林組
作業補助装置及び表面処理装置
24日前
株式会社大林組
地下外壁の形成方法及び地下外壁
15日前
株式会社大林組
打設管理システム及び、打設管理方法
9日前
株式会社大林組
定着装置、及び外ケーブルの架設方法
8日前
株式会社大林組
設計支援システム、及び、設計支援方法
24日前
株式会社大林組
旋回揚重機構、揚重装置、資機材の揚重方法
6日前
株式会社大林組
構造部材同士を繋ぐ接合部への充填材の充填方法
21日前
株式会社大林組
免震構造の設計システム、設計方法及び設計プログラム
27日前
株式会社大林組
コンクリート補強棒材及びコンクリート部材の補強構造
9日前
株式会社大林組
運搬予約装置、運搬予約方法および運搬予約プログラム
6日前
株式会社大林組
施工支援システム、施工支援方法及び施工支援プログラム
8日前
株式会社大林組
鋼管柱の嵌合トルク管理システム、及び、鋼管柱の嵌合トルク管理方法
22日前
株式会社大林組
金属3Dプリンタを使用した部材の製造方法、及び、金属3Dプリンタ
15日前
株式会社大林組
玉掛け作業支援システム、玉掛け作業支援方法および玉掛け作業支援プログラム
24日前
株式会社大林組
板状部材、接合構造及び接合方法
22日前
株式会社大林組
バイオレメディエーション促進剤、及びその製造方法、並びに汚染地盤の浄化方法
7日前
個人
接合構造
17日前
個人
タッチミー
16日前
個人
屋台
1か月前
個人
野良猫ハウス
1か月前
個人
安心補助てすり
今日
個人
フェンス
2か月前
個人
転落防止用手摺
1か月前
続きを見る
他の特許を見る