TOP
|
特許
|
意匠
|
商標
特許ウォッチ
Twitter
他の特許を見る
公開番号
2025164131
公報種別
公開特許公報(A)
公開日
2025-10-30
出願番号
2024067932
出願日
2024-04-19
発明の名称
加熱装置
出願人
株式会社大林組
,
メルシェア株式会社
代理人
個人
,
個人
主分類
B65B
69/00 20060101AFI20251023BHJP(運搬;包装;貯蔵;薄板状または線条材料の取扱い)
要約
【課題】刃こぼれ等の起こらない、溶断可能な袋の開封に用いることができる加熱装置を提供する。
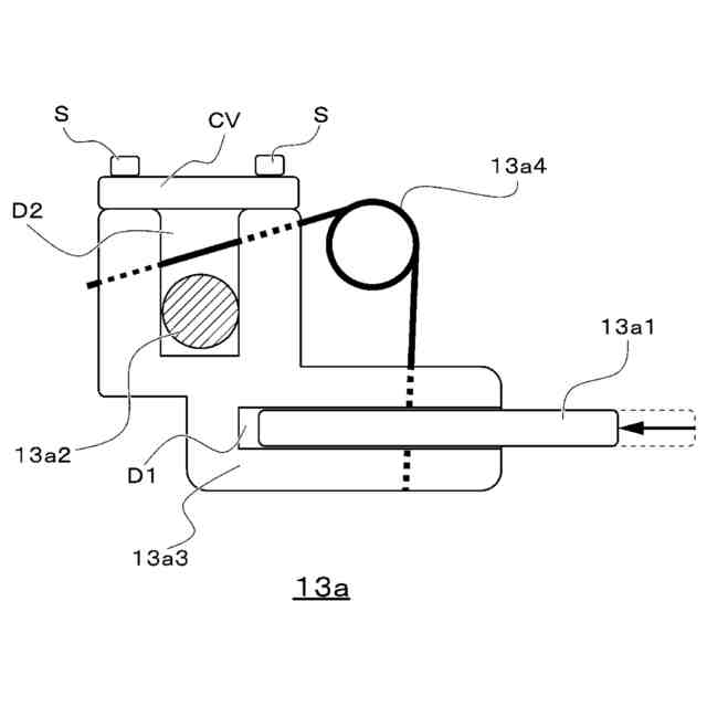
【解決手段】本開示の加熱装置は、溶断可能な袋PKの開封に用いることができる加熱装置であって、加熱装置は、袋PKに当接する複数の当接片13a1と、袋PKを溶断可能な温度に当接片13a1を加熱する加熱部13a2と、を備える。そして、それぞれの当接片13a1は、溶断可能な袋PKに当接すると、その当接時の押圧力に応じて、個別に動くことができる。
【選択図】図2
特許請求の範囲
【請求項1】
溶断可能な袋の開封に用いることができる加熱装置であって、
前記加熱装置は、
前記袋に当接する複数の当接片と、
前記袋を溶断可能な温度に前記当接片を加熱する加熱部と、を備える加熱装置。
続きを表示(約 240 文字)
【請求項2】
それぞれの前記当接片が、当接時の押圧力に応じて、個別に動くことができる請求項1に記載の加熱装置。
【請求項3】
前記加熱装置は、
前記当接片の一端側を収納し、前記当接片のスライド動作をガイドするガイド部と、
前記ガイド部から出る方向に前記当接片を付勢する付勢部と、を備える請求項1又は請求項2に記載の加熱装置。
【請求項4】
前記当接片が、隣接して並んで配置される、請求項1又は請求項2に記載の加熱装置。
発明の詳細な説明
【技術分野】
【0001】
本開示は、溶断可能な袋の開封に用いることができる加熱装置に関する。
続きを表示(約 1,200 文字)
【背景技術】
【0002】
ロックウール等の繊維材を含む耐火被覆材を吹き付ける吹付工法では、解綿機に供給された繊維材が吹付ノズルに送られ、その吹付ノズルを吹付対象箇所に向けながら耐火被覆材の吹き付けが行われる。
そして、解綿機で使用する繊維材は、出荷の際に樹脂製の袋に袋詰めされており、その袋詰めされた繊維材がパレタイズされた状態で運搬されてくる。
【0003】
そして、耐火被覆材の吹付を行う現場では、その袋詰めされた繊維材を取り出すために、作業者がカッター等を用いて袋を開封し、その取り出した繊維材を解綿機に供給する作業が行われている。
【先行技術文献】
【特許文献】
【0004】
特開2021-147904号公報
【発明の概要】
【発明が解決しようとする課題】
【0005】
ところで、規模の大きな現場では、大量のロックウール等の繊維材を使用し、人手不足が社会問題化しつつある中、作業の効率化を行うためには、このような開封作業においても労力の軽減を図っていく必要がある。
【0006】
また、刃物を使用した開封作業では、刃こぼれ等によって、度々刃を交換する必要がある。
【0007】
本開示は、このような事情に鑑みてなされたものであり、1つの観点として、開封作業の労力を軽減できる開封装置を提供することを目的とする。
また、別の観点として、刃こぼれ等の起こらない、溶断可能な袋の開封に用いることができる加熱装置を提供することを目的とする。
【課題を解決するための手段】
【0008】
本開示の加熱装置は、溶断可能な袋の開封に用いることができる加熱装置であって、前記加熱装置は、前記袋に当接する複数の当接片と、前記袋を溶断可能な温度に前記当接片を加熱する加熱部と、を備える。
【発明の効果】
【0009】
本開示によれば、開封作業の労力を軽減できる開封装置を提供することができる。
また、本開示によれば、刃こぼれ等の起こらない、溶断可能な袋の開封に用いることができる加熱装置を提供することができる。
【図面の簡単な説明】
【0010】
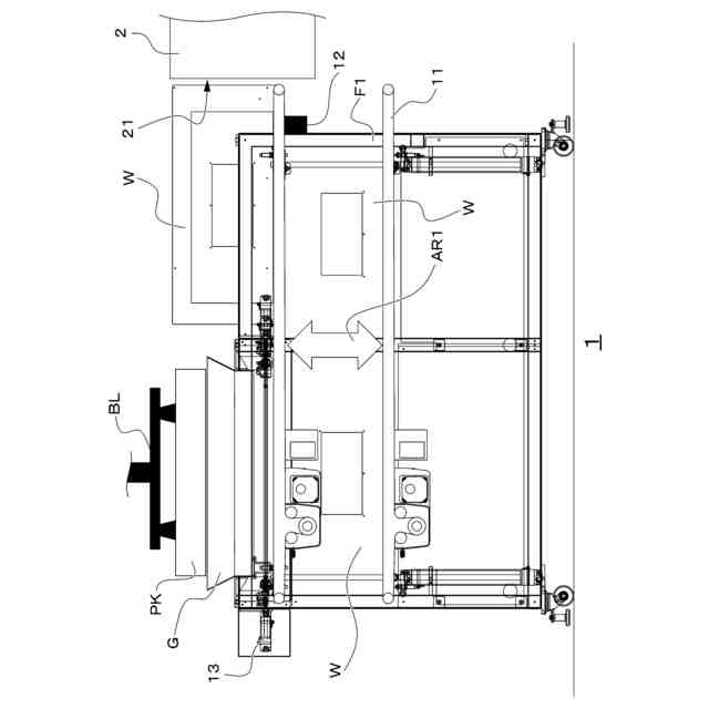
本開示に係る実施形態の取出装置の側面図である。
本開示に係る実施形態の開封装置の構成を説明するための概略図である。
本開示に係る実施形態の1つの当接部に関連する構成を説明するための図である。
図3のA-A線断面図である。
本開示に係る実施形態の当接部が袋の面に当接する時の状態を説明するための図である。
本開示に係る実施形態の当接部が袋の面に当接する時の当接片の動きを示した図である。
【発明を実施するための形態】
(【0011】以降は省略されています)
この特許をJ-PlatPat(特許庁公式サイト)で参照する
関連特許
株式会社大林組
測定方法
2か月前
株式会社大林組
基礎構造
3か月前
株式会社大林組
開封装置
1か月前
株式会社大林組
加熱装置
1か月前
株式会社大林組
減衰機構
4日前
株式会社大林組
減衰機構
4日前
株式会社大林組
減衰機構
4日前
株式会社大林組
飛込み台
2か月前
株式会社大林組
接合構造
2か月前
株式会社大林組
接合構造
1か月前
株式会社大林組
操縦装置
1か月前
株式会社大林組
接続構造
1か月前
株式会社大林組
建物の構造
1か月前
株式会社大林組
免震建築物
3か月前
株式会社大林組
ドリル装置
1か月前
株式会社大林組
仮設建築物
2か月前
株式会社大林組
スロープ構造
1か月前
株式会社大林組
ルーバー構造
2か月前
株式会社大林組
折畳み構造物
1か月前
株式会社大林組
監視システム
3か月前
株式会社大林組
空調システム
3か月前
株式会社大林組
耐火被覆構造
2か月前
株式会社大林組
梁筋の配筋方法
23日前
株式会社大林組
構造物形成装置
2日前
株式会社大林組
建物の躯体構造
3か月前
株式会社大林組
建物の躯体構造
3か月前
株式会社大林組
床板の設置方法
2か月前
株式会社大林組
可搬式充電設備
1か月前
株式会社大林組
災害時支援装置
23日前
株式会社大林組
リフトアップ装置
2日前
株式会社大林組
リフトアップ装置
2日前
株式会社大林組
日射遮蔽発電装置
3か月前
株式会社大林組
鋼矢板の圧入方法
1か月前
株式会社大林組
安全支援システム
3か月前
株式会社大林組
運搬管理システム
3日前
株式会社大林組
リフトアップ装置
2か月前
続きを見る
他の特許を見る